无线电收发报运动在经济建冯和国防通信上具有重大的意义。在党和政府号召全民皆兵的今天,要求学习收发电报技术的青年日渐增多。各地无线电运动俱乐部经常收到无线电爱好者们的来信,积极要求参加国防体育无线电运动,使自己成为一个保卫祖国和建设祖国的无线电通信后备军。
青年朋友们!只要我们肯努力钻研,是完全有可能通过自学来学会收发报的。现在让我们来谈谈怎样练习收发报。
电码符号
在你未开始练习收发报之前,首先要了解电码符号。电确符号是由点“·”,划“—”组成的,“·”读作“的”,“—”读作“达”,用它们作不同的配合和交换,来代表各个不同的字母和数字,从而表达双方的语言。我们在无线电通信中就是利用“·”、“—”所组成的各种不同的电码符号来进行通信的。常用的俄文字母、数字以及标点符号的电码符号请见附表:

电码符号除了以上点和划组合的规定以外,在时间间隔方面也有一定的比例规定。这个规定就是:一划等于三个无间隔点的长度,每个字母的点与点、划与划、点划之间为一个点的距离,每个字母与字母之间为两个无间隔点的距离,每组电码之间是四个无间隔点的距离,可参看下图。

在收发报时,不管速度快慢,都必须保持这种比例,初学者必须下番功夫,把这种时间间隔掌握准确,否则在拍发和抄收时就会感到困难。例如:电码符号——·—щ),如将点划时间比例弄错,就很容易发错或误所为——(м)·—(а)或——·(ι)—(m)等,因此在练习中应特别注意。
怎样记忆和熟练电码
我们在了解电码符号的组织以后,第二步就是要熟悉这些电码。因为在具体练习收报过程中主要是提高听、辨、写的能力,对电码的熟练所起作用不大。记忆电码符号时,应该根据每个字母和数字的符号唸记它的发音,如字母“а” 符号是“·—’”,就读成“的达””,不应读成一点一划或计算点划的数目来记忆。要养成听到电码信号声音,大脑就能直接把它反映出字来的习惯。
帮助记忆电码的方法很多。一种是音节记忆法。就是记住电码的音节(节奏),像乐队记忆“鼓点”一样,把音节和手的动作直接协同起来。一种是通过字形来记忆,例如字母“х”可看成四角是“的的的的”等,此外如把每个字母和符号写成卡片,带在身上,随时背诵记忆,也是一个好办法。在记住大部分符号后,就可以在振荡器上练习听电码信号和点划长短声音来进行辨别和帮助记忆了。
一般要求在听到信号后。1/3~1/4秒内就得想起是什么字来,要养成具有很强的信号观念。要能达到这种要求,就必须把电码记得很熟。
收报
收报就是把对方所发过来的电码符号用字母和数字记录下来。为了使电报的字体能达到整齐、醒目、不易混同和不致影响抄收速度,通常采用一种“抄报字体”,我们应该练习专写熟练,这对抄报达到及时和确实是很有帮助的。抄报字体如下:
1.俄文字母抄报字体(点表示起笔处,箭头表示落笔处)

2.俄文字体抄报实例:

3.数字抄报字体:

4.数字抄报字体实例:

当你把电码符号背熟,又基本上掌握了抄报字体的书写方法以后,就可以开始在振荡器上练习收报了。在抄收时,思想要集中,但不要过于紧张,在听清一个字的电码符号后再下笔抄,并要养成抄写上一字同时听下一字的符号的持续抄收习惯。抄报时使用铅笔握笔要灵活适当,不宜太紧,抄几组后可将铅笔略微转动一下,免得笔尖过粗。练习收报时,最好有两个人,一个人发,一个人收。如果人数很多,也可用录音机到无线电俱乐部把信号录回去练习抄收。
发报
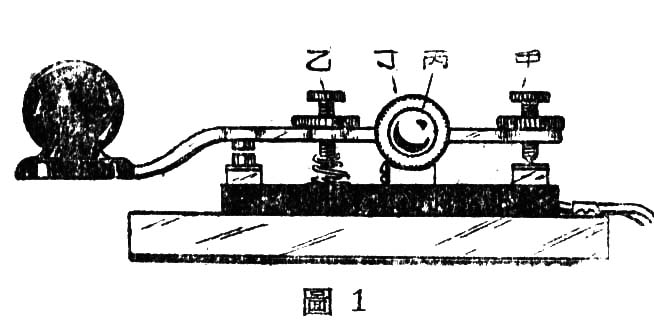
练习发报是用电键,它的外形如图1。电键应放在距离桌沿大约3~5公分处。在折发前应先把电键调整好。调整电键的螺丝甲可使电键的上下接触点距离合适。调整螺丝乙能增减弹簧的硬度,螺丝丙、丁可以调整键梁左右的位置使电键上下的接触点相对,并使键梁活动自如。各螺丝调整合适后,把各螺丝帽扭紧,防止松动。

发报时应有正确的坐握姿势,否则会影响肆报时的用力。坐的姿势见图2。坐时要使电键的位置正对右手,上身自然挺直,桌沿与身体的距离大约为5—10公分。右肘大致弯成直角,上臂略离开上体,并使小臂与键梁成水平。左臂自然放下,发报时可指着报底的行首。

握键的姿势见图3、4。用右手拇指和中指捏住键钮的腰部,食指的第一关节略微弯曲,与拇指中指一起捏住键钮,无名指和小指向手心自然弯曲。键钮不要捏的过紧或过松,见免拍发动作不灵活或手指松脱。

用力的方法是发报练习中重要的一环,也是发报手法好坏的主要因素。就好象中国文字的书法,笔法不好,天天临池也很难写出好字来。根据苏联报务员的先进经验,拍发时应该使用腕力,按键时仅将手腕落下而肘部不动,起键时将手腕恢复原来的位置,各手指在键钮上的位置不应改变。学者在这方面要耐心地体会,努力锻炼,当你真正正确地掌握了这种用力的方法以后,速度的提高和巩固就很容易了。
两种练习电码的工具
下面介绍两种练习电码用的简单工具,构造简单,读者很容易自制。
1.蜂鸣器:蜂鸣器装置最简单,电路如图5。它是靠电磁跌和振动片的机械振动使电路内的电流成为时断时通的脉冲电流。当按下电键时,耳机里即发出与振动片振动频率相同的声音。电磁铁可用一般继电器的铁心,或电话机里的继电器铁心均可。振动片就是一般具有弹性的薄片。振动频率和振动片的大小有关,读者自制时可试验确定。

2.音频振荡器:图6是一部简单的音频振荡器,可用做练习发报,也可供三十至四十人抄收电报之用。电源变压器可采用一般三灯收音机用的电源变压器。喇叭为舌簧喇叭。振荡用变压器为一般低频变压器,1:1和1:3均可使用。(赵德明)