在这次全国收音机观摩评比会上,有很多收音机获得好评。上海广播器材厂参加评比的159型交流二波段5灯超外差式收音机,就是其中之一。这一型号的收音机不仅在电气、电声方面有较好的性能,而且考虑了在原有基础上可能增加磁性天线、电眼以及交换各旋钮的位置或采用同轴旋钮,使机件的型式多样化,在底板的设计上已经预作安排,留出了必要的空间并冲有若干另件的安装孔眼,使须要变化机件型式时,用不到另制模具,从而降低成本。
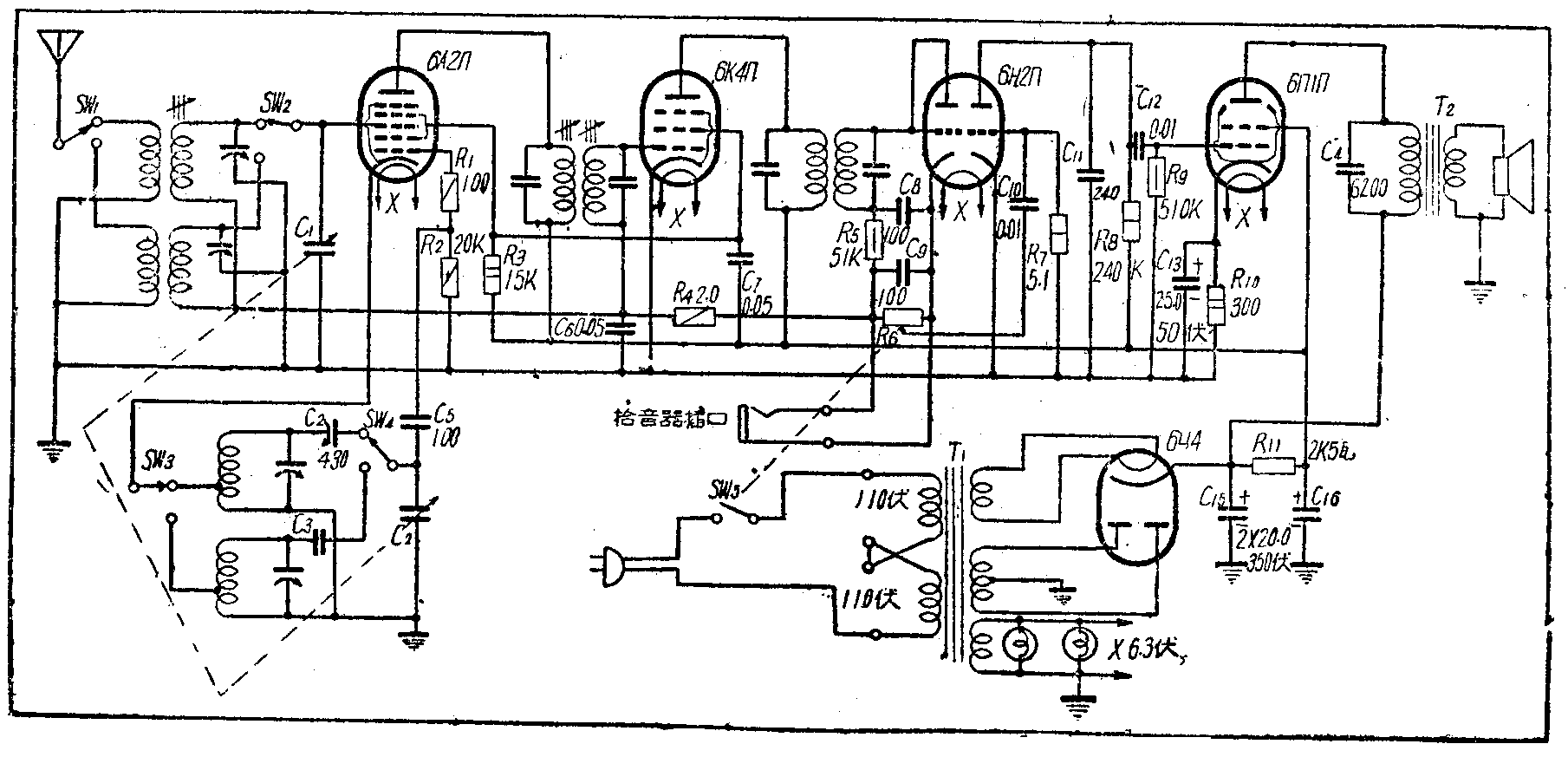
下面是159型收管机的线路和它在电气、电声性能方面的各项主要测试参数。
收听频率范围:中波段550—1630千周;短波段6—18兆周。
灵敏度:中波段600—1400千周不劣于25微伏,短波段7—17兆周不劣于72微伏。
选择性:(在1000千周测量,参考电平300微伏),频率偏调+10千周,衰减不小于30.5分贝;偏调-10千周,衰减不小于36.6分贝。
交流声:在额定输出功率500毫瓦时,哼声输出电压13.5伏。
调幅交流声:输入电压为5000微伏时,输出交流调幅声功率4毫瓦,在最大输出功率时为3.2毫瓦。
非线性失真系数(在1000千周时测量):200周——11%,400周——9.7%,1000周——7.5%,3500周——4.5%。
频率特性(在1000千周时测量):200周——输入电平20分贝,400周——22分贝, 640周——22.2分贝,3500周——11.5分贝;200周到3500周,频率不均匀度为107分贝。
中频频率:465千周,实测466.5,相差+15千周。
中频通带:462.3—470.1千周,带宽7.8千周。
中频波道衰减:在550千周时衰减23.2分贝。
振荡频率稳定度:短波段开机后5分钟到15分钟,频率变化从18.335—18.330兆周,频率飘移5千周。
假像波道衰减:1600千周时,衰减29.5分贝,18兆周时,衰减11.1分贝。
自动音量控制:输入电压从105到5000微伏,变化26分贝时,输出功率从900毫瓦到90毫瓦,变化7.5分贝。
拾音器插孔灵敏度:52毫伏。
高频机振抑制:输入电压5000微伏,调幅度40%,在18、14、12兆周测试,无机振。
声压频率性能:220周到6600周,不均匀度17分贝。
平均声压:5.52巴。
声压非线性失真系数:200周——21%,400周——9.5%,1000周——5%,3500周——6%。
消耗功率:电源变压器初级电压220伏,初级电流0.165安,消耗36.5瓦。
