在以前介绍各种收音机制作的同时,对收音机的校验,曾经作过不同程度的说明。考虑到收音机收音效果的好坏,校验是一个关键性问题,因此,我们再就收音机的校验作一个总的说明。
工厂生产的收音机,按照制造厂正规的产品校验方式是很繁复的,需要许多精密复杂的仪器,这对无线电爱好者来说,除了极少数有自备仪器的人外是不大可能办到的。因此本文主要介绍一些使用土制仪器的简易校验方法,同时附带说明一些有关正规仪器的简单工作原理作为参考。
对于一架收音机来说,校验的对象是:1.灵敏度,2.选择性,3.保真度,4.输出功率,5.稳定度。对于这五个项目,各种程式的收音机所要求达到的程度不是一样的,收音机的电路愈复杂,质量要求也就愈高。例如对矿石机主要要求是灵敏度高,选择性是次要的,其他三项可以不必考虑,而对于高级超外差式收音机,就要求尽量满足这五个项目的标准。因此,校验方面也就麻烦得多了。
Ⅰ.矿石机的校验
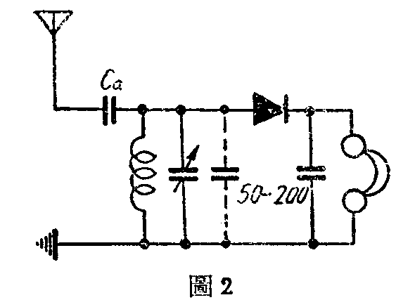
矿石机要校验的部分只有线圈和矿石,不需要什么仪器的,方法也很简单。在进行校验之前先要检查一下天线是否良好,例如引入线是否和墙壁碰触,各个接头是否焊牢或者很清洁等,地线方面要检查的是通地部分导电是否很好,利用自来水管作地线的应该把它接在靠地最近的地方,这样可以少经几个接头,效果可以好些。在天地线都证明良好后,只要当地电台播音,就可以进行校验。首先校验的是矿石。矿石有多种多样,最好的是用半导体二极管,其次是固定矿石,这两种一般是不需校验的。用得最多的是可调整的活动矿石,这类矿石优劣相去极大,同一块矿石上各部分的灵敏度也有很大出入,因此使用前最好先行校验。校验可以采用直接收听广播的方法,调整到声音最响的一点为止,也可用听筒和干电池来测试。在校验新装的机器时,最好先用后一个方法,再用前一个方法作精密调整。这是因为新机的线圈没有调准前,收到的信号可能很微弱,也可能听不到,这时如果先调整矿石,容易走弯路。测试校准矿石灵敏度的方法如图1,把干电池一端接耳机,另一端碰触矿石,调整矿石触针使耳机内听到“喀喀”声,再将电池正负极接线对调,作同样校验,至电池正反接法时,某一方面声音最响,另一方面声音最小为止。此时矿石的整流作用最好。矿石校验满意后,就可将全机和天地线接妥,进行调谐线圈的校验。一般收音机波段的调谐范围包括550—1720千周左右的全部广播波段,而一般矿石机只能收听距离比较近的电台,为了获得较高的灵敏度和选择性,线圈最好按照本地电台的频率设计。例如希望收560、610、 640千周的三个电台,调整回路的配谐范围只须由500—700千周。在校核时,如果矿石机是用可变电容器调谐的,可以旋动电容器,先找一个频率最低的电台,听到后,记下最响一点在刻度盘上的度数,这个度数应当在度盘的90°左右(假如度盘为100刻度,电容器完全旋入,容量最大),如果实测的度数大于90°,或者当电容器完全旋入时,还不能收到所要收的频率最低的电台时,那就是调谐电路的自然频率太高了,需要把线圈增加几圈,或者把可变电容器换一个容量大些的(矿石机的可变电容器最大容量应当有300—350微微法,如果不够这个容量,可以在它傍边如图2并联适当的云母电容器凑足,这样,虽然能够收到的频率范围要窄些,但效力比较好)。如果收到最低频率的电台在90°以下时,就要减少一些线圈的圈数。在单回路矿石机内,天地线造成的分布电容量是直接加入在调谐电路中的,因此调整时也可以将图2Ca的容量增减一下来凑频率(Ca减小可调整到的频率变高,增加时相反)。矿石机的工作频率范围在可变电容器最大容量为350微微法时,复益比(最高与最低频率的比值,)约为2,因此在这种情况下,只需能收到560千周的电台,其他610和640的电台也都能收到。如果本地电台的频率不是这些频率的话,也可以拿能收到的最低频率来做校核点,按照上面的办法校整。


矿石机需要从调谐电路取得电力的(电子管机只需要电压),因此必须与负荷(矿石和听筒)的阻抗适当的配合。为了满足这项要求,调指电路中的工作电容量不宜太低,在收听560千周时,最少应有40O微微法,频率增高时,可比例减少,这个数目是包括天线的电容量在内的。中型天线的电容量约70微微法,可以用串联电容器的办法来减小它。
Ⅱ.直流再生式机的校验
再生式收音机是一种最简单的电子管式收音机。这类电路最大的缺点是不稳定,调整不当时会产生振荡,干扰附近的收音机,一般只有在三管以下的收音机才使用这种线路。
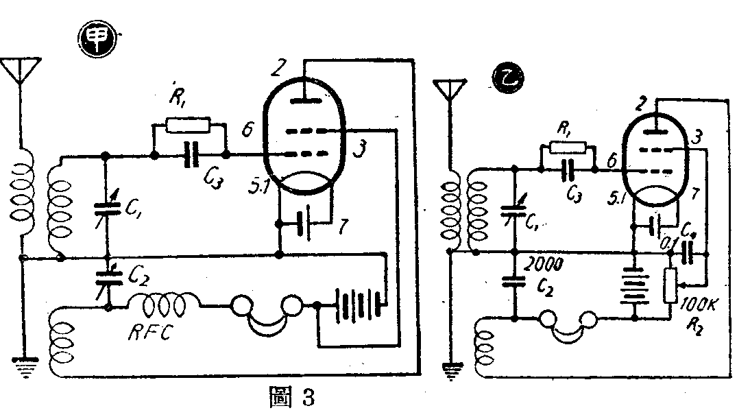
现在先以一管再生式机为例说明它的校验方法。为便于参考起见,说明的线路如图3。

校验的步骤为:
1.先不插上电子管、B电池,天地线都不接,用一个手电筒用的电珠先试一下甲电池的电是否充足(2.5伏的小电珠接在1.5伏甲电池上时发黄光表示正常),再将甲电池接在机上的甲电池接线柱上(如果有开关的要闭合),在小电珠两端焊上两根接线,搭在电子管管座的灯丝插孔上(图3中为1—7或5—7脚),看小电珠是否明亮,如果小电珠是亮的,就可以接上B电池,用听筒或扬声器串联一只10千欧左右的电阻去碰触管脚2(屏极)和地线柱(机壳),当机上的听筒接线柱用铜线短路时,耳机中应当听到咯咯的声音,短路铜线拉掉,就应该没有声音。试好,接上B电,再将小电珠在1—7两脚端试一下,看是否仍正常明亮。这样一再测试的目的是要证明电源电路是否正常,以避免烧坏电子管,测试的示意如图4。

2.插上电子管,接上听筒(在接上时用听筒线脚碰触接线柱应有咯咯声),将调谐电容器C\(_{1}\)旋至容量最大,用手指碰触电子管脚或C1的定片,一面缓缓旋动再生控制电容器C\(_{2}\)或电位器R2,在电容器或电位器旋至每一位置时应听到“扑扑”声,如果听不到就是再生不够或者再生圈接反,需要增加一些再生圈的圈数,或者把再生圈两个线头对调一下(再生圈的方向是否正确是容易分辨的,如果它在线圈管上的方向与栅路调谐线圈相同,那么两个线圈的外端两个线头就是接到屏极和栅极的,蛛网板式线圈也一样),听到“扑扑”声后,可将电容器C\(_{1}\)完全旋出,再生控制C2仍留在原位不动,此时听筒内不应有啸叫声,否则就是栅漏电阻R\(_{1}\)或者栅漏电容器C3的数值太大。如果稍微减小一些再生线圈仍不能消灭啸声的话,就需要把R\(_{1}\)或C3减小些再试,试到电容器C\(_{1}\)由最小到最大,在整个范围内用手指碰栅极都有“扑扑”声为止。假使电容器C1旋至某点时“扑扑”声忽然停止,表示再生线圈太多了产生所谓“死点”,可以将它拆去一两圈再试,这样试好后,将C\(_{1}\)完全旋出,再将再生控制减小至“扑扑”声停止,此时再生电容器C2或电位器R\(_{2}\)应当都接近最小值(C2旋出的80%,R\(_{2}\)旋至近地点约20%处),如不能满足这项条件,就需要把再生圈加多一些再试,然后接上天地线再重复试一遍。试的时候将C2或R\(_{2}\)置在最大值,旋动C1,一面如前法用手指碰栅极,要求在C\(_{1}\)的整个范围内都有“扑扑”声,否则就要调整一下无线线圈与次级线圈的交连度(可以减少一些天线圈的圈数或者把它们分开一些),这样试完后,单管机的静态检验就算完毕,可以正式收音了。
再生式单管收音机收听频率需要能包括550—1500千周才够,如果调谐电容器C\(_{1}\)的最大容量为350微微法,能在度盘90°左右收到中央台560千周的播音的话、就可以满足要求,否则就要增减一些次级线圈的圈数来达到目的。次级线圈增减时再生圈也要作比例增减,再生式机天线回路与次级线圈不宜直接交连(单回路式电容交连),而应该用双回路电感交连,否则调谐频率的范围要变小,再生强度也要因天线变化而不稳定。装置得合适的再生机的再生控制应当很平滑,即当再生控制由小到大或由大到小时,听筒内不应有“扑扑”声,用电位器控制五极管廉栅电压的方法(如图3乙)是最好的方法,只是乙电比较费些。

再生机在强力电台附近使用时会产生一种所谓闭锁作用,此时再生力尽管加大也不会产生振荡差拍,也就是收音机内的再生电路被外来电波“拖”住了。在这样情形下,是收不到远地电台的,也不可能进行校验。因此再生机的校验必须是在附近的强力电台没有播音的时间内进行。加有一级调谐高放的再生式机,闭锁的情况要好得多。
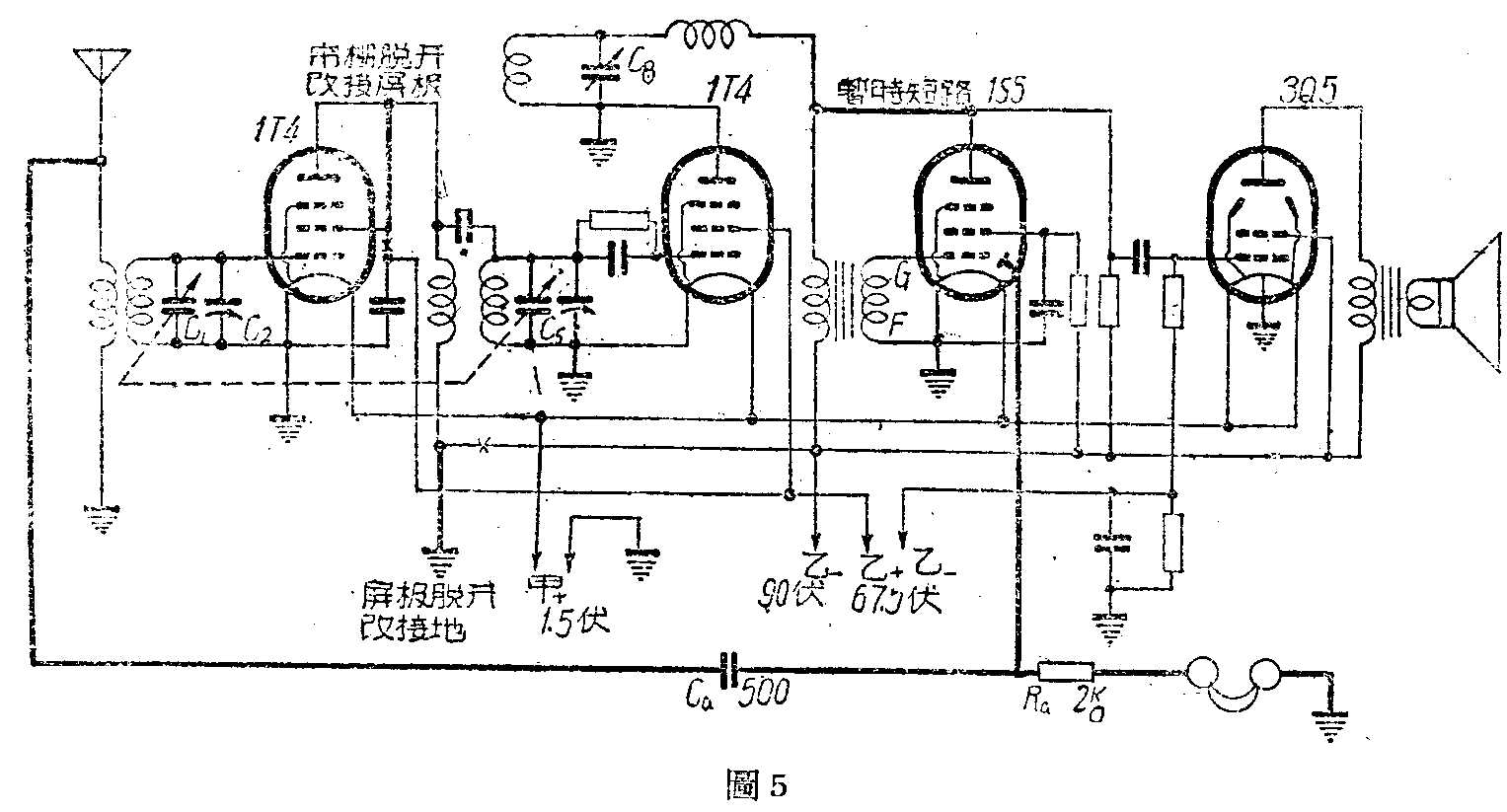
上面的再生式单管机的校验方法对于加了高频和音频放大的多管机也同样适用,以本讲座1957年第11期的线路图6为例,校验的步骤是:
1.全部电子管暂不装上,先接上甲电用小电珠测试各个电子管的丝压是否正常,再接上乙电,照前节所讲的办法,用听筒或扬声器接触各个电子管的屏极和帘栅的各个管脚(原图中1T4的2、3脚,1S5的4、5脚,3Q5的3、4脚)与乙一或机壳,都应有“咯咯”声,这表示甲乙电源电路都是正常的。
2.插上电子管接上天地线,按前节办法校验再检波级(此时假定音频放大级1S5及3Q5均已能工作,因此可以直接用扬声器监听)。这种线路的机器,音频放大级问题很少,用不到校验,偶而产生叫声时,如果把检波管再生线圈短路仍旧不能消除,可以把T\(_{1}\)的PB或GF短路一下试一试,如叫声停止,表示变压器T1的性能不佳,可以把PB线头互相对调一下,并在它的两端并接一个100千欧1瓦的炭质电阻,就可以消除叫声。
3.校验高放级时,不用仪器是比较困难的。1957年12期讲座中曾介绍过关于校验高放式收音机的简单方法。下面再介绍另一个不需利用电台信号来校高放级的方法。
这个方法是利用音频放大级产生音频振荡去“调幅”再生检波级的高频振荡,这样再生级就成为一架小型发信机。发射的高频电波的振幅是随着音频放大级产生的音频振荡幅度变动的,因而可用别的收音机在附近收听,如果我们把高频放大级的调谐电路作为收信机的调谐回路,那么,高放级的配谐频率必须与再生级相同,才能收到最响的信号。这样,高放级调谐回路中C\(_{1}\)旋到任何一点都可以进行校核,比只校高低两端频率要可靠得多。校验手续是比较简单的,现在再以1957年第11期图6为例,校验时把它暂时改接成如图5,接好天地线把3Q5拔掉,C1、C\(_{5}\)完全旋出,加大C8使再生级产生振荡,同时由耳机的叫声可以知道音频振荡是否正常,旋动C\(_{2}\)听一下耳机内叫声是否最响,这样,再将C1、C\(_{5}\)旋至另外一点,听叫声是否变化,其余校验步骤可参考该期讲座所讲的办法进行。
高放级的校核,低频端同步问题不大,高频端最好能多校几点,其他类似的线路都可以用这个办法。不用1S5管的,检波可以改用矿石,这种校验方法虽然不如用标准信号发生器准确,但因为再生高放式机要求不高,已够满意。(梧)