在收音机上加装电键后,除了收音机本身的用途外,和电话机接通后还可开电话会议,不仅成本低,电键(欧亚牌)、电阻和电容器总共约计10元左右,而且操作简便,对于没有机务人员的区乡有一定好处。
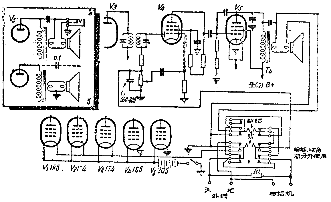
我们利用国产125和541型直流收音机(原线路见本刊1955年第5、第8期)改装后,放大增益是12分贝,一方用收音机,另一方用电话机中间串联15—20分贝的衰减器作假线,声音仍然宏亮。本年三月底就装到区乡,使用很好。唯一缺点是输出阻抗不能与线路阻抗匹配。
把改装后机器上的电键扳到“电话机、收音机分开使用的位置,同时使用收音机和电话机,互不扰串,扳于“听”的位置时,对方来话经收音机放大由喇叭输出,扳于讲话位置时,发话由收音机放大经外线送往对方。为了解决不能同时收话发话的缺点,根据线路长短,在话机和外线的天线上串联一大约30—40千欧的电阻R\(_{1}\),这样,在讲话时也能在电话机内听到对方的问话,当然此时最好立即将把电键扳到“听”的位置,把来话放大。
如果区乡线路是双线,就不必分天地线;如果是单线,那末一定要分清,以免短路。
由于输入和输出都和V\(_{4}\)管控制栅相联,这部分接线最好用隔离线。另外由于电键簧片和簧片之间形成的电容会引起喇叭尖叫,因此在原机电位器上并联一500—800微微法的固定电容器C1。
如果收音机的喇叭装置像图2(125型),那就照图1改装;如果像图3(541型),就照虚线所示加一0.01微法的固定电容器,再用线引出作为输出。
在开电话会议时,利用电键把V\(_{1}\)、V2、V\(_{3}\)三个电子管的灯后电源断开,以资节约。
此机应装在保安器的后面(即串联于电话机和保安器之间)以防雷电。(丽江邮电局机务室)
