使用耳机的交流单管机,因为耳机内的线圈有乙电通过,如果绝缘不良,当手指触着收音机铁底板或调谐电容器转轴的时候,就会触电。
现在介绍一只安全交流单管机,其优点是不会麻电,经济省电,并不会烧毁电子管。电源变压器没有高压线圈,不容易发热。
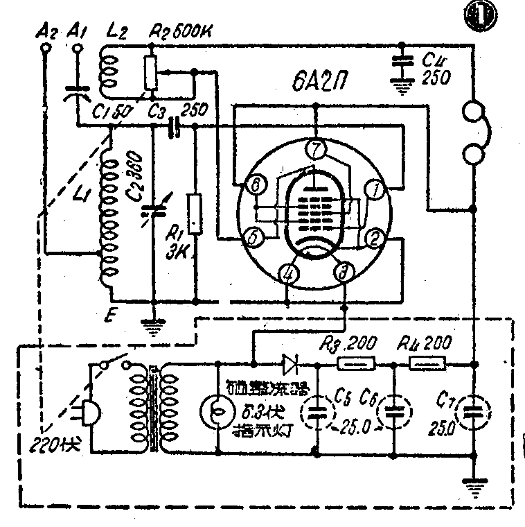
线路如图一,用一只国产6A2П或6SA7电子管做低屏压检波。低压直流单管机本刊前两期已经有介绍过,这里所用的是交流式电子管。把6A2П的第三栅和第二、四栅连在一起接乙电正电压,帮助屏极吸收电子,这样电子管全部阴极电流不会超过20毫安,所以整流部分只要用一片硒片担任半波整流。整流后,用两只200欧半瓦的电阻代替低扼圈,三只25微法25伏的电容器担任二级滤波。整流后的直流工作电压以不超过8伏为佳,如超过8伏,可增高两只滤波电阻的阻值。电源变压器T是一只简单的灯丝变压器,初级110或220伏,次级6.3伏0.6安。次级总共耗费电力还不到4瓦,比一只五支光电灯还省电。只要变压器初次级间绝缘良好,初级不碰铁片,电源开关二个头用绝缘胶布包好,使用这架单管机是绝对安全的。(按10伏以下的乙电绝不会引起人体麻电)线圈绕法见图二所示。L\(_{1}\)约120圈,在20圈处抽头,用26号线绕。再生圈L2的圈数因各种电子管特性不同,乙电的高低,天线的长短, L\(_{1}\)与L2的偶合紧松等不同情形,只好在试验时决定,大约在60—80圈之间。用0.5兆欧电位器控制再生力。


这架单管机也可带到没有电的农村去使用,可将图一中虚线以内的电源部份与收音机部份的两根连接线切断,再将电子管的帘栅极(第六脚)和左边一根灯丝(第三脚)连好,在灯丝两头接上6伏的蓄电池,收音机就能工作得和用交流电一样。同样也可用四节二号干电池串连起来作6伏接在灯丝上用,但干电的耗费是比较大的。(张光炎)

