通常所说的半导体收音机就是指晶体三极管所做成的收音机。晶体管是半导体器件的一种,因此人们称这种收音机叫做半导体收音机。晶体管在某些应用方面比电子管具有较多的优点,就收音机来说,晶体管馈电十分简单、省电、耐震、体积小、重量轻,又由于晶体管的电源电压和功率都很小,因此在原材料的耗费方面也远比电子管收音机节省得多。当我国生产的晶体管大量上市供应的时候,预料用晶体管装成的收音机将普遍受到人们的欢迎。无线电爱好者无论在现在或将来,一定有很多机会接触到晶体管电路,如果我们能够及早了解晶体管在电路里的作用,对于掌握晶体管收音机的制造和修理是有很大好处的。
下面仅就晶体管收音机的结构来说明一下晶体管的工作原理。晶体管收音机在电路配合上和电子管收音机大体上是相同的,也有再生式收音机,超外差式收音机,或者1-V-1,0-V-1等构造。在超外差式收音机里,同样有变频、中放、第二检波、低放等装置。晶体三极管的发射极是电荷放射的起源,这和电子管的阴极相仿。当晶体三极管接上适当的电源以后,电荷就从发射极经过基极而进入集电极,这样就构成了回路,产生集电极电流。集电极电流的大小也会受到基极的影响而变化,所以基极就好象电子管的栅极,而集电极就相当于屏极。
大家知道,晶体三极管有p-n-p型和n-p-n型两种,前者是以“空穴”作为流动电荷的(载流者),而后者则以电子作为流动电荷的,它们除了应接的电源极性恰恰相反外,其他工作和作用都相同。晶体三极管有三种基本电路,就是以基极、发射极或集电极作为输入和输出的公共电极。它们的名称分别叫做基极接地电路、发射极接地电路和集电极接地电路、相当于电子管的栅极接地电路、阴极接地电路和屏极接地电路。在一般收音机里,很多采用发射极接地电路。基极和发射极形成输入回路,发射极和集电极形成输出回路,如图1,这样可以获得较大的增益。

这里要注意的就是输入回路的偏压是正向的,也就是说要使基极——发射极接成流通方向。如果没有正向的偏压,那末由于基极——发射极之间的阻挡层的存在,使发射极——集电极之间也不通路了。因此,当晶体三极管的偏压为零时,集电极电流已接近截止状态,这和电子管的情况不同。电子管在零偏压时,大多都能导电,甚至有很大的屏流,而晶体管却必须有了“前向偏压”才能使它在任何瞬间都起导电作用,不过这个偏压一般都是极小,只有十分之几伏,并且基极电流也小得可以忽视,绝大部分的电荷通过基极向集电极扩散而形成集电极电流。所以通常发射极电流和集电极电流大概是相等的。这样一来,基极的偏压首先是为了“取消”基极和发射极之间的阻挡层,实际上微小的基极电压的变化,却可以引起输出回路里的电流变化,这也可以说明晶体三极管具有放大作用的道理。
基极偏压通常是从电源的分压器R\(_{1}\)、R2上得来(图2)。图中电阻R\(_{E}\)和电子管的阴极电阻一样,可以产生自生偏压,并且它还有稳定作用。当基极电流有上升的趋向时,集电极电流必然也随着增加,RE上就产生了相应的电压降,降低了基极——发射极间的电压而使基极电流不致上升;而且,当晶体管受到温度的影响使集电极电流失常时,R\(_{E}\)的电压降就起了补偿作用。因此RE又可叫做温度调整电阻。在必要时,在R\(_{E}\)两端可以加上一个傍路电容器,以抵销交流成份的负回授作用。

晶体三极管在零偏压时,输出回路已经近于截止状态,如果有调幅的高频信号加到输入回路时,它就会担负起检波工作,在输出回路里就会随着输入信号的正半周(或负半周)的振幅而产生相应的音频电流。图3就是根据这个简单的道理而构成的晶体三极管单管机,这里应该注意到的是晶体管的输入阻抗很低,因此基极接到调谐回路的抽头上。如果接到天线一端,就会降低调谐回路的Q值,影响灵敏度,抽头大约离地1/4到1/3为最好。

晶体三极管也可以和电子管同样地接成再生式收音机,借以提高灵敏度。把输出能量的一部分,适当地回授到输入回路,就可以获得再生作用。用晶体三极管装成的再生式收音机,不易得到平滑的再生控制,并且每一个晶体三极管的特性参数都不能十分一致。但实验证明,采用图4a的可变电感耦合来调节再生,效果十分良好,用电位器做再生控制器的如图4b,图4c是利用电容器C来调节再生的,由于基极接地电路的输入和输出的相位是相同的,因此可以采用这种直接的正回授方法。

下面再介绍一架来复式电路(图5)。用一个晶体二极管和一个晶体三极管组成了一架1-V-1再生式收音机,它具有极平滑的再生控制作用和很高的灵敏度。外来信号经二极管检波,由RFC\(_{2}\)输入晶体三极管的发射极,而三极管同时也有高射频输入,经过放大后的高频部分又经C3和C\(_{4}\)回授到检波级起了再生作用(基极接地电路的输出和输入是同相的),加强了检波级的音频输出。音频部分经三极管放大后通过线圈L1和RFC\(_{1}\)输入耳机。这里对于高频和音频的适当安排是十分重要的,图中C1、C\(_{2}\)是双连可变电容器,它的定片分别接到天线和地线,R2是用来变动发射极偏压作为音量控制器,C\(_{3}\)是再生控制器,串联了C4可使再生作用更加平滑。

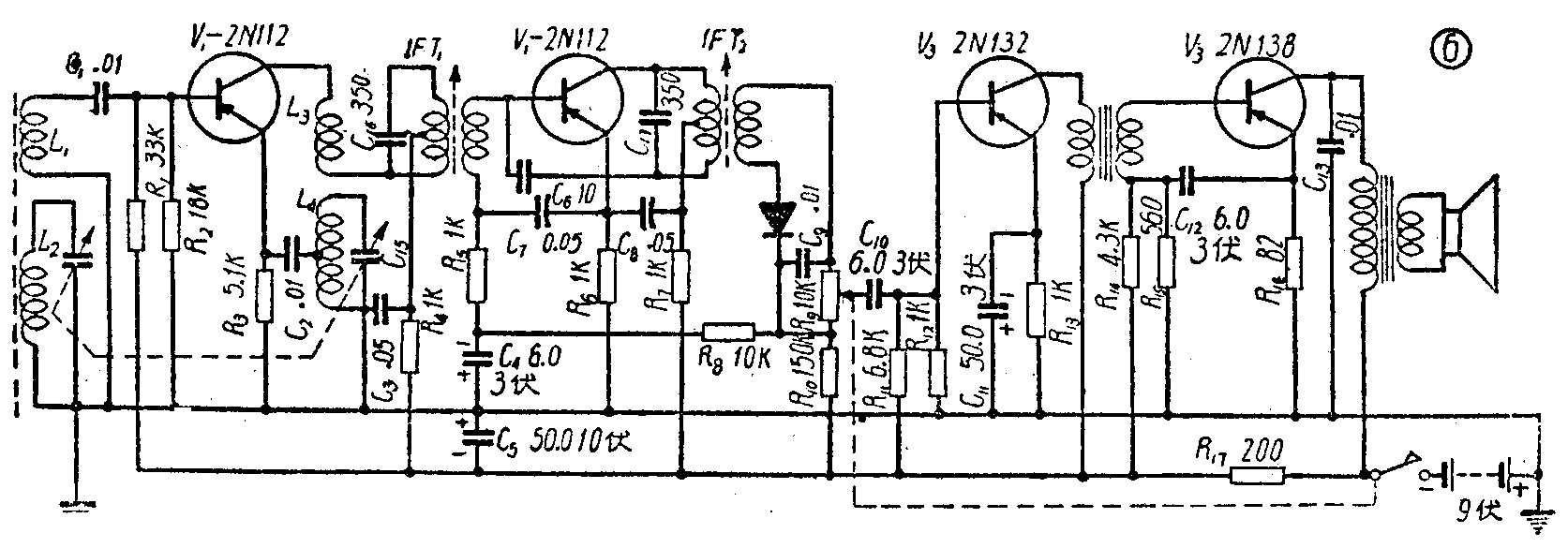
在超外差式收音机里,利用晶体三极管同样可以担负起像电子管收音机一样的全部工作。图6是一架较为简单而典型的外差式收音机,这里用的是p-n-p型晶体三极管,并且都采用了发射极接地电路。信号电压输入至第一个晶体管的基极,R\(_{1}\)和R2构成了一个分压器,使基极得到适当的固定偏压,这样形成了一个发射极接地的混频器。基极回路里有微量的电流产生,利用R\(_{3}\)作为稳定电阻,以防止过大的基极电流。C3和R\(_{4}\)是去耦回路,阻止中频和音频窜入V1的集电极。

中频放大级V\(_{2}\)的集电极与基极之间,接有一个小容量的中和电容器C6,借以抵销输出和输入之间的回授作用,这在电子管收音机里面是不需要的。因为在晶体三极管里,无法利用屏蔽而减小极间电容,只能在线路上采取中和的措施来避免回授。
第二检波是用一个晶体二极管,它产生的正电压经过R\(_{8}\)加到中频放大器的基极上作为自动音量控制电压(因为p-n-p型晶体管的基极较发射极“正”时是阻流方向),音频放大和输出放大级都没有什么特殊。只是利用分压器装置使它们都有适当的基极偏压。
有些收音机采用推挽式输出放大器,以增加输出功率,一般装置如图7。有时又可利用两个导电特性相反而工作特性又相同的晶体管接成推挽式电路,这样可以不用倒相电路,也不用输出变压器,可以简化电路(图8)。但这种电路存在着一个主要困难,那就是很难得到一对极性相反而特性又完全相同的晶体三极管,因此实际上很少采用这种电路。(冯瑞荃)
