在我们日常生活里,有时会遇到这样一些带有时限性的紧急事件。例如在某一个假日,医院里收到了一位必须立即请×医生动手术才能挽回生命的急诊病号;外地的党政机关有必须立即向中央首长请示并作出决定的紧急公务,但是很不幸,我们寻找的对象都不在,于是病人的生命消失了,公务耽误了……
如果我们把无线电收发信设备和市内电话结合起来,制成用无线电遥控的自动电话机,那末只要你随身携带着无线电机,在无线电机作用的有效距离内,不论你跑到那里,在车上、路上,都有一根看不见的线把你紧密的和办公室、家联系在一起,随时可以接电话或打电话(图1),上面所说的不幸遭遇无疑的都可以避免。

遥控电话的基本构造
把无线电收发信机和市内电话结合起来使用不难,只要有两套无线电收发信机以及简单的控制设备。内中一套收发信机(中继机)放在办公室或家里和市话局接通,另一套(流通机)就随身携带。这两套机件设备如方框图2所示,包括下列部分。

1.平衡网络 中继机里的收发信机受话发话输出共有4根接线,而市话只有2根线,为了把4线变成2线好接到市话线上,就要加接一组根据桥路原理构成的平衡网络,见图3所示(这个网络主要是迁就器材,缺点很多,有待改进)。

2.收发信机 收发信机可用一般通信用的改装。收信机的调谐回路可以固定在某一个特定的使用频率上。中继机因是固定装置,不受体积重量的限制,可采用较优的收信机和输出功率较大的发信机,这样可以扩大通话的距离。流动机要考虑到重量和体积、应该尽可能轻巧省电。例如收信机可用半导体收音机改装,发信机输出管选用直流功率管担任。我们试验时是利用旧的军用步谈机改装的。
在使用频率上,收发信机要用两个不同的频率,并且尽可能分隔得远些,以免高频回授产生振荡,影响同时收话发话。我们使用的步谈机的频率是4兆周和5兆周。
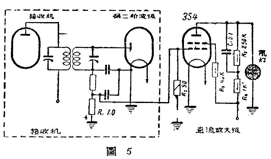
3.控制设备中继机的控制设备里接有直流放大器和继电器,以控制各电路的启闭(图4);流动机里也接有直流放大器和氖灯(图5),作为有外来电话时的指示。另外流动机里的发信机输出管帘栅回路里还接有自动电话的拨号盘(图6),以便拨号通话。



遥控电话怎样工作
当我们外出时,把中继机用掷刀开关接到电话用户线上,并接通两套设备里收信机的第二检波级和前面各级以及控制设备的电源,以便随时收话发话。
流动机向市话用户通话时,先把发信机和收信机低放级电源接通,于是发信机便向外发射载波。中继机收到流动机发来的载波后,在第二检波级的负荷电阻R\(_{1}\)上产生一个电压降(见图4),这是加到直流放大器左半个6Н1П栅极上的控制电压。平时这个栅极是零栅压,它的屏极有电流通过,因此R3上经常保持一个使右半个6Н1П屏流截止的栅偏压。当左半个6Н1П的栅极上加上控制电压后,栅极变负,R\(_{3}\)上的电压降减小,右半个6Н1П开始有屏流通过,使串联在屏回路里的继电器Ry1动作,于是接点a接通市话线路(相当于打电话时拿起送受话器的动作),接点b接通延迟继电器Ry\(_{2}\)(延迟3秒)的电源,把收发信机的电源通过接点c、d闭合,中继机开始工作,向流动机发射载波。此时流动机耳机中便可听到市话局的拨号声。
流动机拨动拨号盘呼叫某一市话用户时,输出管帘栅压被拨号盘的断续接点控制,屏流忽有忽无,因此,发出的是一连串的载波脉冲,这脉冲控制着中继机Ry\(_{1}\)的动作,使它不断的启闭接点a,完成市话局的选号工作,使受话用户的电话振铃。这时延迟继电器Ry2的电源虽和接点a一样受Ry\(_{1}\)的另一接点b控制,不断随着拨号脉冲通断但由于延迟作用,接点c、d仍然吸住不放,因此中继机仍然继续工作。
当双方通话时,流动机的发话由中继机收到后经平衡网络和市话发送给受话用户,受话用户的发话经市话线、平衡网络和发信机发给流动机。双方通话完毕,流通机关闭了发信机电源,Ry\(_{1}\)停止工作,接点a、b释放,三秒后Ry2的接点c、d释放,中继机自动关闭,恢复通话前原状。
如果市话用户呼叫流动机,只要和平时打电话一样拨号。因为在平衡网络的输入端(图3)接有交流继电器Ry\(_{3}\)和电容器组成的交流回路(交流阻抗要大,以减小对音频电话的影响),市话用户送来的振铃信号使Ry3动作,吸动并联在接点b上的另一对接点e,使中继机工作发出载波,流动机收到后经直流放大器放大,使氖灯发光,表示有外来电话。流动机接通电源后,即可通话。
在上面所说的工作过程中,Ry\(_{1}\)虽说受流动机载波脉冲所控制,但在整个收发过程中常使脉冲矩形波产生严重畸变,影响选号工作的准确进行,因此我们在Ry1上并联了一只电容器C\(_{1}\)(图4),使波形有所改善。工作状态用电位器R5调节。
结束语
此次试制成功,是在我院党委领导下并取得无线及有线系老师和同学们的大力帮助才获得的。由于受到器材限制,试制的机器离实用还有距离,例如我们是迁就原机器,使用短波收发,Ry\(_{1}\)有可能受其它短波电台的干扰而动作。行计改用超短波及调频,效果一定会有所改善,但改用超短波后,又可能缩小通信距离。
这种装置对我们来说,还是一种新的尝试,为了进一步使它趋于实用和适合各方面的需要,还有待于大家共同研究改进。(北京邮电学院 王文、李傅德)