6И1П型三极七极管主要是作交流超外差式收音机中的变频。上期本刊对6И1П的特性介绍中曾提到:它的三极管部分与七极管部分之间没有任何连系,彼此间不会发生相互作用的现象,所以它不仅能作变频,也可以作高放、中放、低放和其他用途。

图1是一种用6И1П电子管的超外差式收音机的示意图,其中第一个6И1П的三极管部分作本地振荡,七极管部分作混频;第二个6И1П的七极管部分作中放,三极管部分作低放,这样,电子管数量减少了,但是它的效能要比一般超外差五灯机优越。
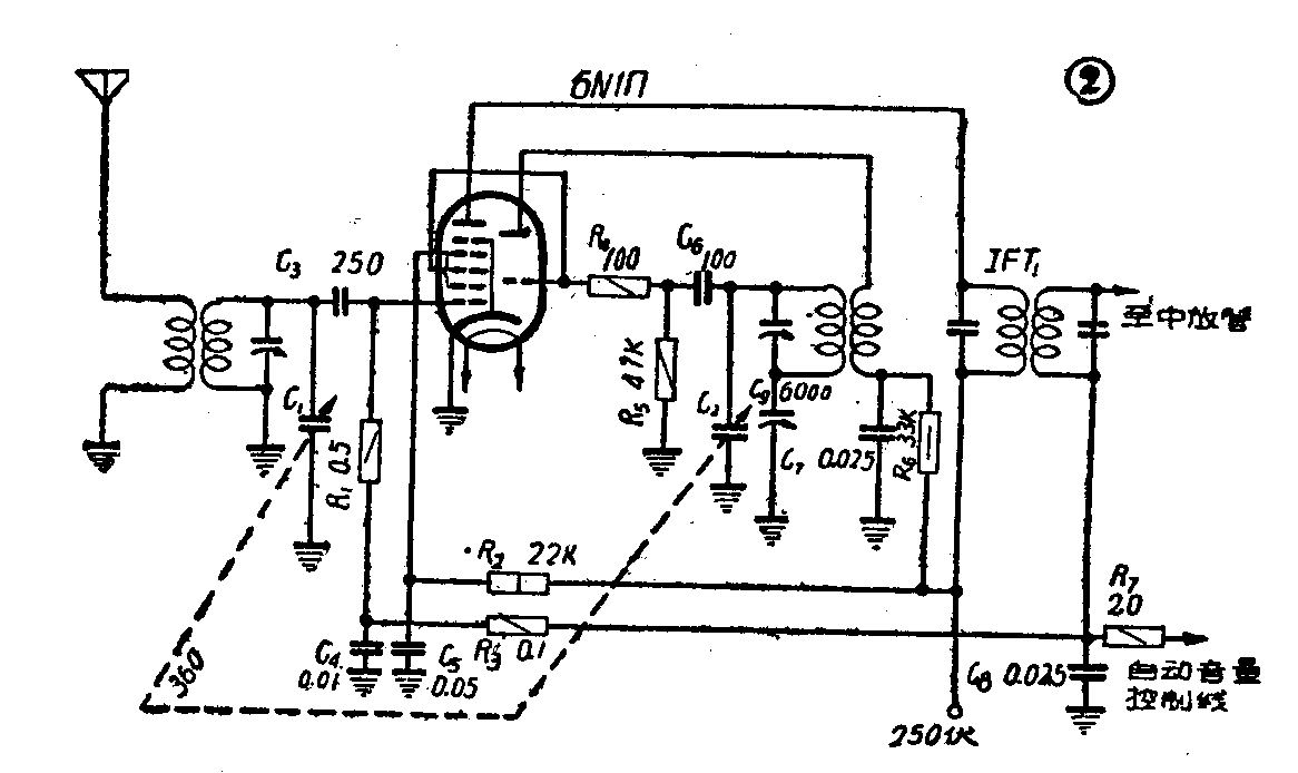
6И1П管用于变频级中的具体电路如图2,三极管的振荡回路是一个调栅电路,这种振荡线圈在市面上容易买到,如中波用610K,短波用620K、630K或640K。振荡讯号由三极管的栅极引至七极管的第三栅上。为了防止产生寄生振荡,在三极管的栅极上串入100欧的电阻。在七极管的第一栅极上,除加上外来讯号以外,还加有自动音量控制电压,使音量的衰落现象获得改善。

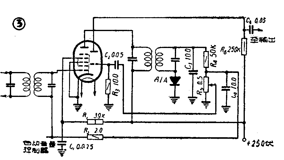
图3是用6И1П作中放和低放的电路,七极管的第五栅在管内已和阴极相连,性能与6K4П相似。三极管的栅漏电阻R3的阻值可用5至10兆欧,但考虑到提高保真度,栅漏阻值用2兆欧并加上-2伏的负偏压比较合适。

此外,6И1П用在调频广播接收机中,它的三极管可作变频,七极管可作中放,因此在调频/调幅两用接收机中,6И1П还有着应用的价值。
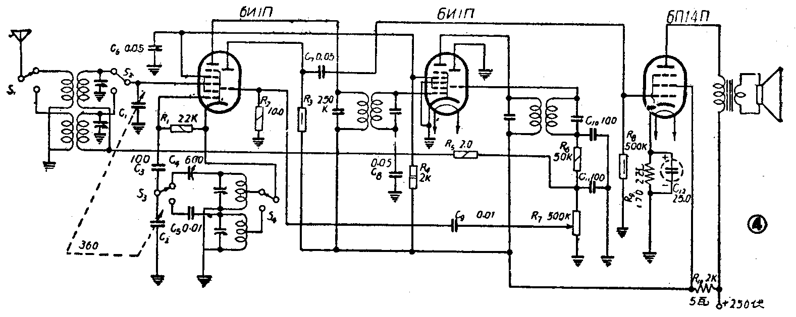
最后,我们介绍一种比较经济实用的超外差三灯机(图4,整流部分未绘出),其中第一个6И1П作变频和低放,第二个6И1П作中放和检波,变频部分仍旧如6A2П一样采用三点式的振荡线圈610S、620S、630S或640S等。用三极管作低放时,因电子管的放大倍数较低,放大后的讯号还是不大,须选用高跨导的末级输出管才能获得足够的音量,例如配用国产新型的6П14П型输出五极管就很适用(6П14П在下期介绍)。图4电路比北京牌四灯机的来复式电路要优良些,但是变频性能还不甚理想,最好增添一个国产的Д1A或ДlS型锗二极管,把图2和图3连接起来,构成如图1的完整的电路。这样,收音机的灵敏度和频率稳定性等方面都大大地提高了。

附: 本刊上期发表6И1П三极七极管的介绍时,对该管特性数据介绍过于简略,今特补充一部分常用数据供读者参考。
七极管部份接成五极管(第三栅极接至阴极)时作高放式中放的数据:
阳极电压 250伏
第2、第4栅极降压电阻 39仟欧
第1栅极负偏压 -2伏
阳极电流 6.5毫安
第2、第4栅极电流 3.8毫安
跨导 2.4毫安/伏
内阻 0.7兆欧
等效噪声电阻 8.5仟欧
极限运用数据:
1.七极管部分
最大阳极电压 300伏
最大第2、第4栅极电压 300伏
最大阳极消耗功率 1.7瓦
最大第2、第4栅极消耗功率 1.0瓦
最大阴极电流 12.5毫安
最大第一栅极回路电阻 2.0兆欧
最大第3栅极回路电阻 3.0兆欧
最大阴极灯丝间电压 ±100伏
2.三极管部分
最大阳极电压 250伏
最大阳极消耗功率 0.8瓦
最大阴极电流 6.5毫安
(啓明)