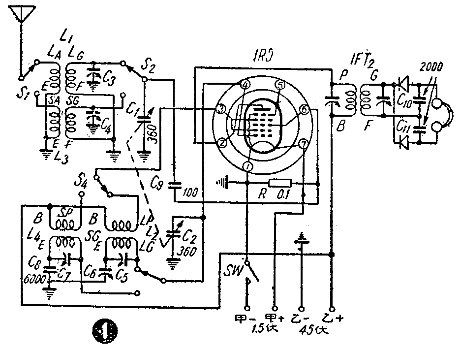
本刊今年第七期介绍了一种交流单管超外差收音机,为满足有些无交流电源地区的读者需要,这里特介绍一个用电池的超外差单管机。本机线路如图1,用IR5作变周,将一固定频率电压由1FT2(中周变压器用第二级)输出,送入两个矿石检波器作倍压检波。电路中采用两个波段:一是广播段,550-1600千周,一是短波段范围是6-18兆周。这个波段线圈市有成品出售。如果我们要作实验的话,我们可以自制,不过制出来的线圈体积自然是要大些,它的绕制法、用线线径、线圈管直径见图2。中波段线圈均为密绕。短波段天线线圈上端间绕,线距为绕线的宽度。上下端线圈距1公厘;振荡线圈上端间绕,线间距为一根绕线的宽度。短波段振荡线圈L\(_{4}\)用0.559公厘下端线圈自距SG第7第8圈之间开始绕,用直径0.122公厘(40号)的漆包线嵌在每个间隙内绕一圈共6.5圈。前5圈在24号绕的圈和圈的间隙中,后1.5圈续绕在E端下方,以上线圈首尾端不能接反,配用360微微法的可变电容器。线圈绕成后要在虫腊中浸过。可防潮气或松脱。


收音机接线工作完成以后,应进行校验工作。调整手续和一般差外机一样,开始调整以前,我们应当核对一下电路接线有无错误,然后将甲电和乙电接上。为了安全起见,应当用一个1.5伏小电珠插入灯座第1第7两脚内试验,如果小电珠烧掉,表示A,B电接错,应即检查纠正。其次将补偿电容器C\(_{3}\)和C5旋松,再将衫垫电容器C\(_{6}\)旋到八成紧,接好天地线,打开电源开关,缓缓旋动双连电容器寻找电台,缓缓的调节和仔细倾听。有了声音,再来调整中周变压器1FT2的两个电容器。用小起子仔细旋1FT\(_{2}\)顶上小孔内的螺丝。要先向左旋,如果减小,就改向右旋,反复旋动调到最响为止。不可粗心大意乱旋。当灵敏度音量均已相当好后再调整频率。先装上一个刻度盘,在低频率的一边指定一个频率的电台,将C6缓缓旋松,一直听到这个指定的周率电台播音为止。然后在高频率的一边,再指定一个频率,调节补偿电容器C\(_{5}\),一直听到指定的频率电台播音为止。然后再调节补偿电容器C3直到听见声音最响为止。最后可再调一下中周变压器,得到最大的音量。短波段也是用同样方法来调整。

底板采用木质或金属板都可以。各波段线圈、零件等的排列如图3,要求愈紧密愈好。接线愈短愈妙。(信)