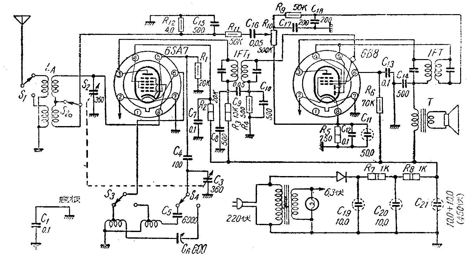
我制成了一架只有两个电子管的超外差式收音机。这架收音机,除了没有自动音量控制外,其余混频,中放,检波,低放和强放都由两个电子管担任,整流部分采用硒整流器,详细的线路如图1。工作原理是:

先由6SA7作混频,638五极部分作中放,二极部分作检波,检波后的讯号通过退耦电路送回6SA7作低放,然后由6B8五极部分作输出强放。虽然6SA7和6B8都并不是电压和电力放大管,但是根据它们的特性曲线,这两个任务还是可以完成的。实验证明这架收音机用一条四公尺的室内天线,在短波波段收听一般国内外电台,输出功率可达到半瓦左右,收听中波本地电台或中央台就可超出半瓦,在一个60公方大的实验室中听起来声音还是非常响亮。
这架收音机的制作方法如下:线圈用美通553型,我用的中周变压器是开利七股式。混频级的接法就和一般超外差机一样,中放级也没有什么不同。只不过两个中周变压器的初级通过高阻抗接到甲+。所从中频率是通过C\(_{8}\)、C10和C\(_{14}\)回到地去的,这些电容一定要用云母介质。检波也是一般接法,但因检波后的讯号要送回前级,为了避免发生叫嚣,退耦电路是加强了。C15、C\(_{17}\)和C18都用云母介质的,注意电位器平时接地的一头要接到6B8的阴极去。低频讯号经退耦后接到一般接自动音量控制的入口就可以到达6SA7的控制栅。栅漏电阻R\(_{12}\)用4兆欧产生丙负。放大后的讯号在R3两端获得,由C\(_{9}\)交连到6B8的栅极,6B8的丙负保持在6伏最为适宜,即R5用750欧,但收听本地电台时,电位器不宜放到最大,否则就会产生显著的失真。6B8的阴极接了两个电容器C\(_{12}\)、C11,因为它既是中放管又是输出管。滤波后的高压是250伏,6SA7的帘栅是90伏,屏极是220伏,6B8的帘栅是140伏。6B8的内阻很大,输出变压器最好用10千欧。

电源部分是用220/6V,小变压器供灯丝。高压电源直接取自初极。硒整流器作半波整流,因为是半波,所以滤波要加强,分两截完成。特别要注意的是底板带电,故不可直接使底板通地,要通过一个0.1微法,工作电压在600伏以上的电容器C\(_{1}\)。
这架收音机很经济,五管机的贵重部分省掉了很多,首先,电源变压器小了,管子省了三个(实际上是两个,因硒整流器还是相当于一个电子管),若接舌簧式喇叭则连输出变压器和贵重的永磁喇叭都可以省掉。用舌簧喇叭效果也很好。制作也简单,业余爱好者大都可以做到。(郑州大学无线电工厂 钟士端)