遵循党提出的鼓足干劲、力争上游、多快好省地建设社会主义的总路线,四川郫县邮电局依靠县委的领导和局内职工的协作,试制成了一种土机器——一灯共管五用机(可以打电话、召开中型群众大会、开电话会议、听有线广播和供矿石收音机作放大器把音量放大,供多人收听)。机器虽土,但切合实用、解决问题。对于迅速解决区乡会议电话设备,配合中心工作需要,提供了物质条件;并为深入开展技术革新运动,起了推动鼓舞的作用。
这架机器制成后,在30里长的线路上试话,成绩很好,在温州现场会议上与其它多管机评比,最后鉴定认为是最适合于农村实际需要。

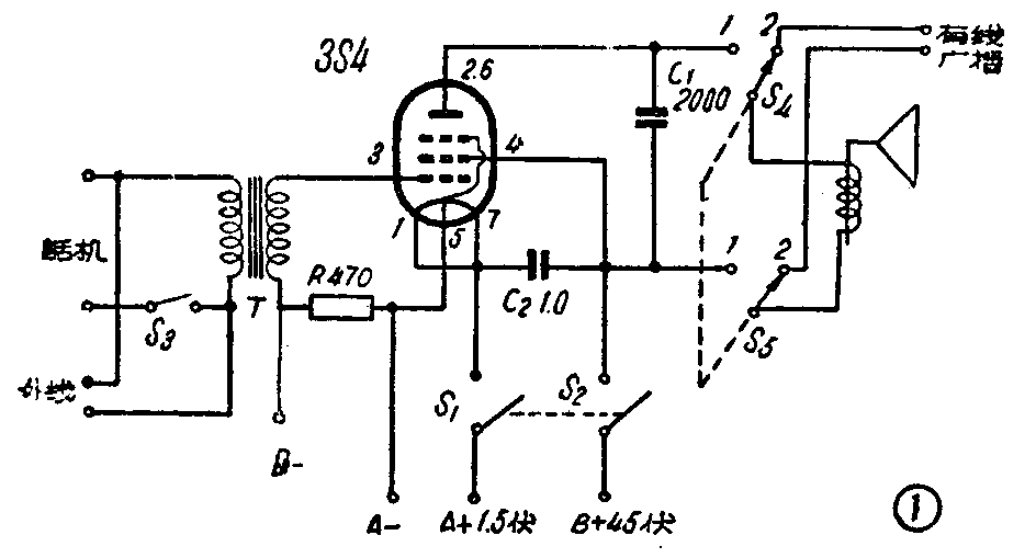
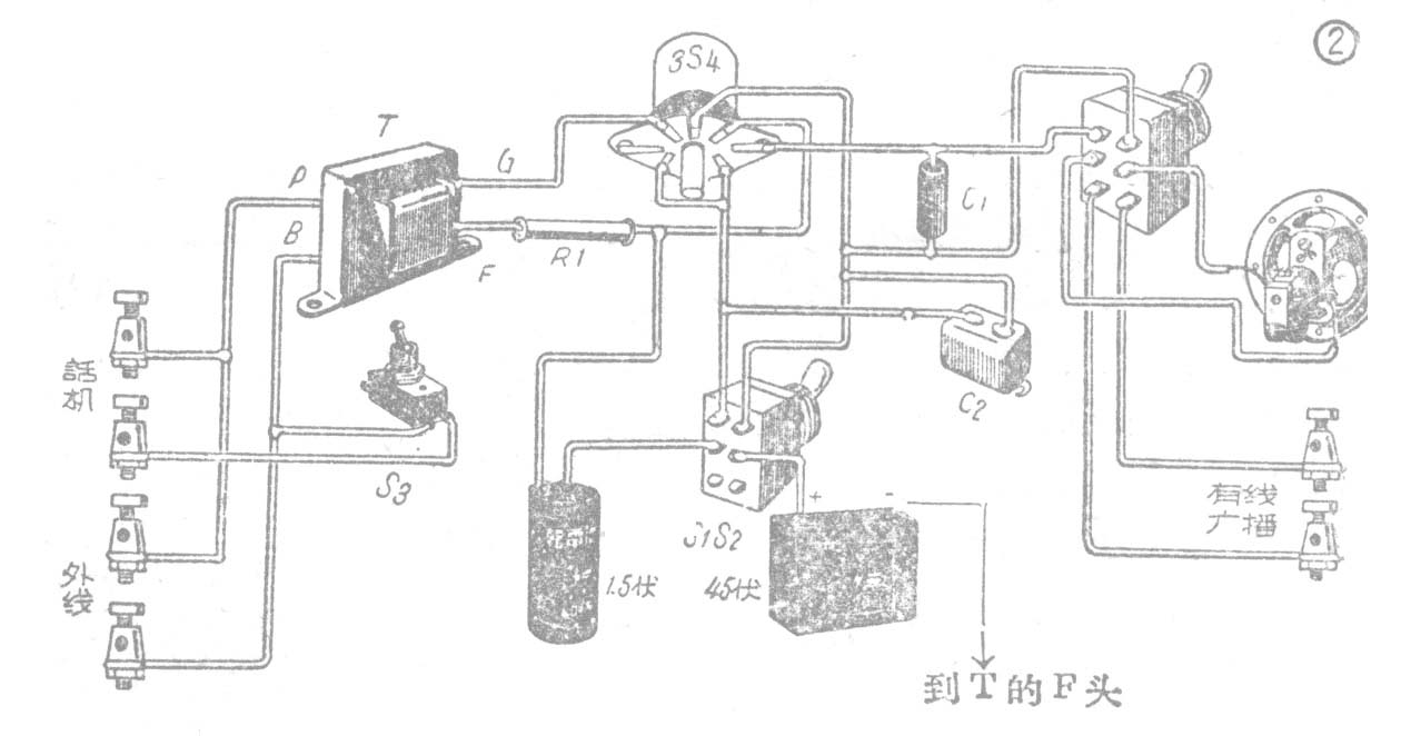
这架机器的工作原理很简单,S\(_{1}\)、S2是甲、乙电源开关(图1),当作为会议电话接外线时,把S\(_{4}\)、S5扳向接点1,来话经变压器T、电子管放大后由喇叭输出;S\(_{3}\)闭合后,去话由话机输出经S3直接接外线。如不接外线,把S\(_{3}\)闭合,S4、S\(_{5}\)扳向1,就成为一架小型扩音机;把话机改接高效力矿石机后,放音足供多数人收听。因为外线与话机经S3相连,所以不开机器,只要把S\(_{3}\)闭合,就可以向外打电话。把S4、S\(_{5}\)扳向2,利用机内喇叭收听有线广播。


