编者按:这种便携式轻便的收发话机,制作容易、费用低廉,适合于各农业社和正在大量发展的人民公社对各生产队的指挥,以及队与队间的联系之用。各社、队仿制时,请按国家规定办理手续。
58型无线电步谈机是安徽省邮电器材厂的产品。这是一种收发两用便携式无线电台,适合于移动性较大的短距离通信,最大通话距离为5公里。由于工作频率选择于超短波范围,因此使用步谈机作联络时应选择平坦地区,两机之间应无巨大障碍物。在山区使用时,应保持两机中间无山巅阻隔,不然将严重影响通话。
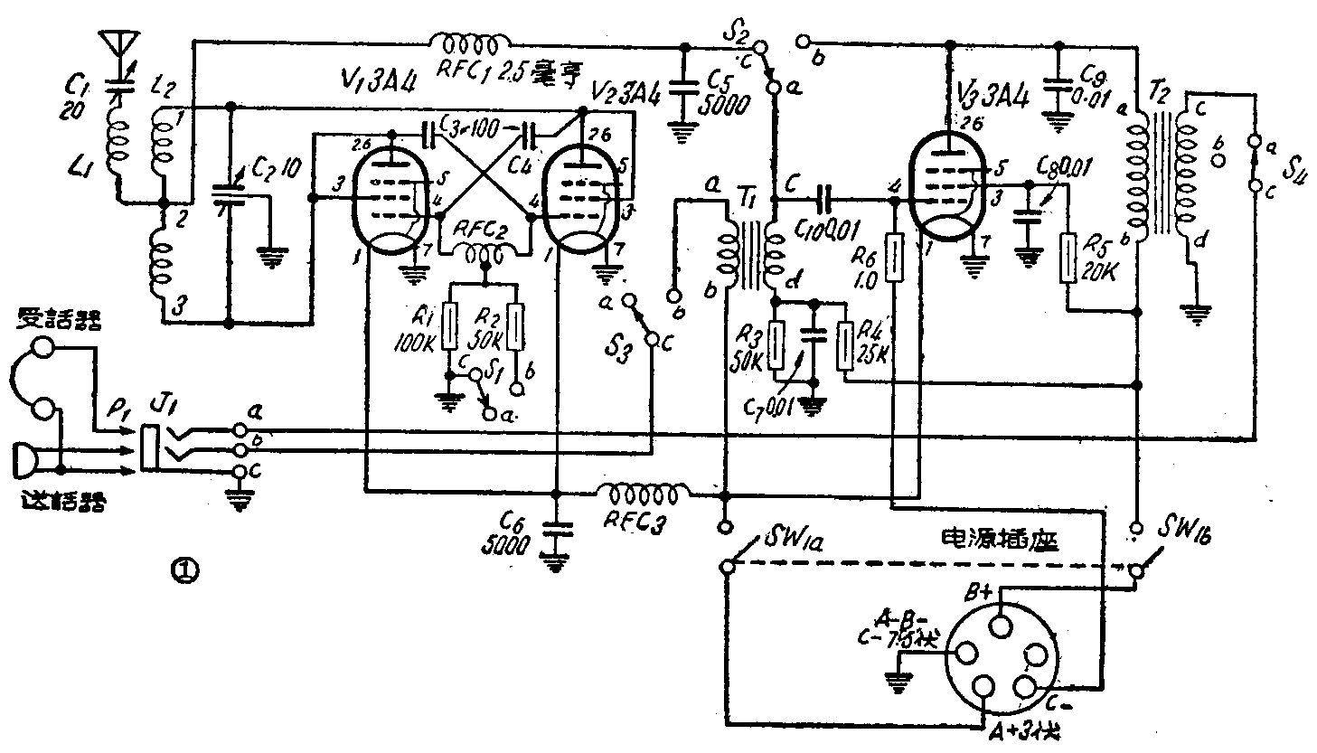
线路说明
这架机器共用3只3A4电子管,2只收话时作超再生检波,发话时作高频振荡;另1只收话时作低放,发话时作调幅。收发话用4刀双掷波段开关S控制,收话时旋向a,发话时旋向b(图1)。这里用三芯塞子P\(_{1}\)、三芯塞孔J1和机件相联,为的是使用时方便一些。

收话 收话时V\(_{1}\)、V2完成超再生检波,检波后的音频电压经S\(_{2}\)、C10加到V\(_{3}\)的第一栅极上,由V3放大后输入送受话器的受话器(耳机)。
两只3A4组成的推挽振荡器,由于栅漏电阻R\(_{1}\)的阻值高(100千欧),因而产生音频间歇振荡,于是振荡器便成为自灭式超再生检波器,间歇振荡所产生的熄灭电压,使振荡随熄灭频率交替地引起振荡或停止振荡,始终保持检波器工作在振荡与不振荡之间。因此灵敏度比一般再生检波要高得多。
在没有外来信号时,由于振荡的产生是由毫无规则的杂乱电压所引起,因此屏流变化也不规则,结果在受话器内可听到一种超再生式接收机所特有的“咝咝”声。调节天线电容器C\(_{1}\),使天线回路和振荡回路谐振,咝咝声最大,也就是接收机灵敏度最高的时候。
当有高频信号经天线回路交连到振荡回路时,如果这个信号电压大于杂乱电压,那么它就代替杂乱电压发动振荡,因而屏流稳定不变,咝咝声消失。当机件装妥后,如果零件良好,线路无误,便可听到上述的咝咝声。
如果输入的信号是已经话音调幅的已调波;则检波管屏流将依话音变化,受话器里便可听到对方的说话。
发信 发话时T\(_{1}\)经S3、塞孔J\(_{1}\)的接点b、把送话器(话筒)接通,S4切断受话器。S\(_{1}\)将R2和R\(_{3}\)并联;并联后栅漏电阻阻值降低,使V1、V\(_{2}\)从原来的间歇振荡变成连续振荡,振荡电能经Ll和C\(_{1}\)交连到天线幅射出去。同时S2将V\(_{1}\)、V2的屏极电源改接到V\(_{3}\)的屏极,经T2初级再接到乙电源。实际上V\(_{1}\)、V2的屏压是由乙电源和T\(_{2}\)初级的交流电压相串联的,当对送话器说话时,音频电压经T1升压后交连到V\(_{3}\)(这时当调幅管用)的栅极,经V3放大后作调幅用。由于T\(_{2}\)是V3的屏极负荷,因此T\(_{2}\)初级里的交流电压是随音频信号变化而变化,达到了屏极调幅的目的。
另件说明
另件的一般规格已在图1中注明。C\(_{1}\)是小型空气式可变电容器,最大容量20微微法,也可用云母介质半调整电容器或15-45微微法瓷介可变电容器代替。
C\(_{2}\)是小型空气可变分列式电容器,容量3—10微微法。买不到时也可用最大容量为50微微法的单连空气可变电容器改制。改制方法如下:如原来电容器共有定片、动片各4片,先将第2和第4片动片拆掉不用(假设靠旋钮一端的一片为第1片),然后将定片全部拆下,把定片和定片垫圈上原来穿支柱螺丝小孔的直径扩大0.5-1公厘,重新装上去的时候,在定片最外面加2片焊片和2只绝缘垫圈,同时将中间一只金属垫圈也换用绝缘垫圈,并将固定支柱加绝缘套管再穿入定片和各垫圈,这样2组定片便相互绝缘也和支柱绝缘,组成了1只分列式电容器,改装后定片结构剖面见图2甲。改装后的电容器,与L2配合后,频率约在26-29兆周之间。
C\(_{3}\) 、C4、C\(_{5}\)和C6是云母固定电容器,C\(_{3}\)、C4的容量要一样,误差不超过5%,其余电容器可用纸介的。

L\(_{1}\)是直径40公厘的空心线圈,用2.3公厘漆包线绕2圈。架空套在L2的中段,一头直接焊在L\(_{2}\)的中点,另一头接C1(图2乙)。L\(_{2}\)也是空心线圈,直径25公厘,用同号线间绕8圈。为了减少介质损耗,线圈两头可直接焊在C2的两组定片的焊片上。
RFC\(_{2}\)是用4节蜂房式2.5毫亨的高频扼流圈,在第2和第3节中间抽一头接R1、R\(_{2}\)、RFC3是用0.27公厘线径的漆包线在6公厘直径的绝缘管上密绕40圈。
T\(_{1}\)、T2用3S\(_{4}\)输出变压器改绕,把原来3欧的次级线圈拆掉不用,改用直径0.13公厘的漆包线绕500圈作送话器输入(T1)和受话器输出(T\(_{2}\))。
天线全长3公尺,用两端套有螺纹的4节空心紫铜管或铝管接起来使用。
其它像电子管V\(_{1}\)、V2的性能要一样,使这2只电子管工作平衡,管座用瓷质的,以减少高频损耗。
装置
全部另件除天线、电池外,均装在长170公厘宽130公厘高50公厘的铝质底板上。高频部分的接线越短越好,V\(_{1}\)、V2的接线和另件排列要求尽量对称,以避免电子管工作不平衡,造成某一只电子管负荷过重而损坏。各另件在底板上和底板下的排列见图3图4图5。



C\(_{2}\)仅需在双方校准频率时动一下,校准后不必再动,因此它的旋轴不必伸出到面板外面,只要在它的旋轴顶端锯一条槽,以便用起子调整。同时在对准旋轴的面板上开一个6-8公厘的洞,好让起子伸进去调整。
无线电容器C\(_{1}\)装在一块厚3-5公厘的胶木板上,胶木板固定在底板的侧面。胶木板的上下端各装1只厚约1公厘带孔的弯角硬铜片,天线杆就从上面的弯角铜片孔中穿入用螺钉固定在下面弯角铜片上,下面的铜片也当作天线的接线和C1相联(图2丙)。
收发用4波段开关S的接线见图2丁。
校准和使用
机器装好并检查线路无误后,接上电源,插入天线和送受话器塞子,把SW闭合,S放在a的位置,受话器里就可听到咝咝声。将C\(_{2}\)动片旋出一半,调整Cl至某一点时,咝咝声最大。如果咝咝声随C\(_{1}\)容量增加而增大,到容量最大时仍然不出现一最响点,可增加L1的圈数;反之,就需要减少L\(_{1}\)的圈数,直到调整Cl到某一点时咝咝声最响,再增减C\(_{l}\)的容量,咝咝声均随着减小为止。这时天线已和调谐回路谐振,Cl不必再动。
收信部分调整好后,把S放在b的位置,机器就从收话转换成发话。用氖管(霓虹笔)放在L\(_{2}\)上,氖管即放光,对送话器说话时,氖管光度随话音闪动,表示机器工作正常,不必再行调整了。
单机试验后,再进行双方通话试验。试验时,两机相距在10公尺以外,距离过近会使作收话用的机件损坏。甲机先开,S放在a的位置,受话器内即听到咝咝声,然后通知乙机开机。乙机C\(_{2}\)放在中间位置,S放在b的位置,暂时不要对送话器说话,此时调节甲机的C2到某一点时,受话器内的咝咝声突然低落,这时两机的频率已一致,双方可以通话了。由于机器收发合用同一电路,因此只能作单工通信,即甲方说话时,乙方只能收听,要等甲方说话完毕,把S放到α的位置(这时乙方受话器里咝咝声突增,表示甲方已在受话位置),乙方方可把S放到b的位置向甲方说话。
线路的改进
上面的线路好处是制作容易,但收发开关S装在机器上,使用不便。
这里把作收发用的4刀双掷开关取消。改用6伏30毫安带有4付接点的直流继电器Ry代替,SW\(_{2}\)是继电器的电源开关, 可以装在送受话器的手柄上,只要用握送受话器的手指按下SW,机器就从收话转换成发话,方便不少。平时SW2是断路的,各接点的接线和通断如图6甲所示。当SW\(_{2}\)被按下时,继电器接通电源,S1的C、b点闭合,S\(_{2}\)的C和α断开和b闭合,S3的C、b闭合,S\(_{4}\)的c、a断开。作用和用手动的收发转换开关一样。由于在送受话器上增加了一只SW2,就多出一根接线,所以塞子P\(_{1}\)和塞孔J1也要改用2只二芯塞子P\(_{2}\)、P3和塞孔J\(_{2}\)、J3。接线见图6乙。但安装时要注意塞孔J\(_{2}\)要和底板绝缘。

另外,收话时检波和低放级改用变压器交连,声音可稍响。仅需将图1线路中L\(_{3}\)的输入部分稍加改动,增加一只两用变压器T3,并取消C\(_{1}\)0、R6,其余部分不动,改动部分线路见图7。T\(_{3}\)的数据如下:铁芯是窗口31×10公厘的E形硅钢片。用直径0.20公厘的漆包线绕500圈作送话器输入,用0.14公厘漆包线绕3,000圈作初级,0.08公厘漆包线绕10,000圈作次级。(安徽省邮电器材厂供稿)
