不论在工业上、农业上,超声发生器都有着极为广泛的用途。北京大学物理系无线电教研室制成的超声发生器是这次十一献礼项目之一,在各地大闹技术革命的高潮中,可供需要这类设备的单位参考——编者
超声是机械的振动所生的波,它的频率在人类听觉的界限以上遂不能听到,既是声波而又不能听到。因而称它为超声。
一般情形下人类听到的声音的频率大约在两万赫(周)以下,所以超声的频率范围从2万赫起可以高到几十或几百个兆赫(兆周)甚至再高。
近代科学技术的发展和产生超声的方法的改进,已使超声在人类劳动生产中及与自然作斗争的过程中成为一个非常有用的工具和技术。例如在冶金中用超声可以使金属的晶粒变细而改变金属的机械性能,产生更均匀的各种合金;在医学卫生中可以用超声杀菌、诊断及治疗;在农业方面可以用超声处理种籽,借以提高产量或增进它的发芽速度等,用超声在铝线上涂锡后代替铜线,这在电气工业中和航空工业中有很重要的意义,既能节省来源缺乏价钱昂贵的铜,又能减轻电缆及电子学仪器的重量。例如铝线绕制的变压器比同样功率的铜线变压器要轻百分之三十。超声在其它方面的应用还很多很广,这里不再详述。
产生超声的方法很多,目前常用的是把电磁振荡的能通过换能器转换为机械振动的能而产生超声,在这个过程里,换能器是—个关键性的问题,因为它决定着超声的频率、超声的能量和电机转换的效率。
比较普通的换能器有压电晶体的,有磁致伸缩的,有电磁的。压电晶体的换能器是利用某些天然的晶体如石英、罗赛尔盐(酒石酸钾钠),磷酸二氢铵(ADP)硫酸锂及磷酸二氢钾(KDP)等,但这些天然的晶体,有的是因为它的化学性质有的是因为它的机械强度不适用于大功率的超声发生器,只有石英晶体的化学性质及机械强度都很合适,但它的来源缺乏价钱也贵。二次大战后苏联的科学家伏尔院士发现了多晶体的陶瓷钛酸钡经过适当的加工后,可以作成良好的超声换能器,在某些性能上比石英还好而且有突出的优点。下面介绍一个钛酸钡超声发生器的实际制造过程,作为读者在今日祖国科学文化革命运动中需要中型功率超声发生器时的参考,以后再介绍关于磁致伸缩的和电磁的超声发生器的实际制造过程。
1.钛酸钡换能器的烧制
取197克工业纯的碳酸钡(BaCO\(_{3}\))与80克的氧化钛(TiO3)混合后研磨成均匀的粉末,潮润后压成圆形薄片,每片重5到10克,厚薄、大小及压力均不重要。把片放电炉内加热至1200℃,保持半小时,严格的控制温度,使不超过1200℃,然后冷至室温,再把薄片捣碎研磨成非常细的粉末,从新使粉潮润再压成圆形薄片,此时圆片的厚薄及大小视所需要的情形而定。压片时每平方厘米约需2000公斤的压力,等薄片干燥后放电炉内从新加热,使温度慢慢上升(每小时上升200℃)到1250℃,维持这个温度两三小时,然后在炉内慢慢冷却至室温。薄片是否合乎规格,可用下述方选择:合格的片上没有裂纹,比烧制前收缩约20%,密度最小约为5.5克/立方厘米,放墨水中浸10分钟,取出后用水冲洗,片上不留墨水痕迹。
将制好后合格的薄片两面上涂上银胶或镀银,放入电炉内热至550℃,使银层与钛酸钡表面烧结,冷至室温后在涂银的面上焊上导线,焊接时必须小心以防破裂。然后再放回电炉里,在薄片的两面上加高电压,使薄片间的电场强度达25000伏/厘米的强度。同时加热到150℃,维持30分钟后使温度慢慢下降,俟冷至室温后再停止高电压。
经过以上手续处理过的钛酸钡薄片即具有良好的压电性能,可作超声换能器用。它的频率常数约为2540米赫,即一米厚的片,它的谐振基频是2540赫,减薄厚度即可提高频率,谐振频率是1兆赫的钛酸钡片,它的厚度约为14厘米。
在上述的超声用钛酸钡的烧制过程中,温度的控制是十分重要的,温度低则质量松而密度小,温度高则熔化成为琉璃,甚至将电炉烧毁。
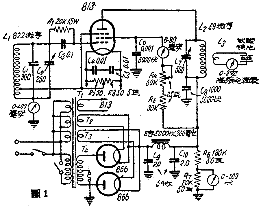
2.振荡器及电源

振荡器是用一个813电子管作成的调板(屏)调栅振荡器,电路见图1。电源部分是用两个866电子管作全波整流,输出电压为2000伏。由于屏压很高,C\(_{7}\)最好选用片距在0.25厘米以上的发信用电容器。线圈L1的直径是5.2厘米,用20号导线间绕62圈,绕成后长9.7厘米,在距地端18圈处抽头; L\(_{2}\)直径是6.3厘米,用16号导线间绕48圈,绕成后长14厘米,L3直径3.2厘米,用16号线间绕9圈,绕成后长3.8厘米。L\(_{3}\)放在图中L2的中间靠近下端的地方,调整两线圈间的耦合,可以增减加到钛酸钡上交变功率。
因为钛酸钡片在谐振时阻抗很低,实验时钛酸钡的片厚0.25厘米,谐振频率约为一个兆赫,面积约为15平方厘米,它的阻抗小于5欧,因此不需很大的压电即可得到相当大的功率。例如在L\(_{3}\)的两端获得25伏的电压即产生5安的电流而得到125瓦的电功率。钛酸钡的转换系数约为50%,因此可以产生约60瓦的超声功率。当然增高压电还可以增大输出的超声功率,但必须注意钛酸钡片的温度,因为功率加大,温度即迅速上升,超过120℃时,钛酸钡的压电性质即完全消失。故必须有充分的水冷系统,如图2所示。被处理的物品(如种籽)即可放在水里。图3的照片是发生器另件的排列图,图4的照片是这个发生器和电源部分的外形。


最后应该指出,参加这项工作的同志有范绪钱,张国枢,马丽云和徐承宗。(杜连耀)
