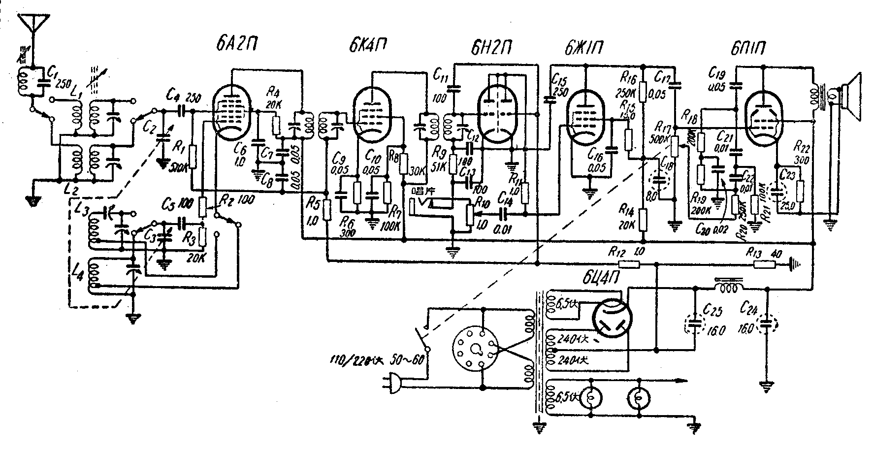
波段:中波520—1600千周;短波6—18兆周。
电子管:6A2П变频,6K4П中频放大,6H2П第二检波及自动音量控制,6ж1П音频放大,6П1П功率放大,Gц4П整流。
电源:110/220伏交流市电,50—60周。
本机采用高放大倍数的第一音频放大级,并且内部装有负反馈式音调控制网络,同时在功率放大级采用了较深的负反馈,因此具有优越的音频频率响应、宽阔的音调控制范围、及非常高的保真度。同时本机采用了延迟式自动音量控制电路,故对微弱信号有较高的灵敏度。
(照片是带有调谐指示器的一种,701型一般不装这种指示器)(北京市手工业生产合作社联合总社电器制造厂)

