对于单管机的工作原理和具体制作,我们在1957年第3、第4期的讲座里曾经作过介绍,但那时候介绍的单管机用的乙电压较高,对仿制的读者讲在电池耗费上是不经济的。因此,我们认为有必要再来谈谈侈压单管机的制作,这样更适合初学的爱好者们试制学习。——编者
一般装低压单管机习惯上欢喜用直流五极管,把抑制栅(第三栅)当信号栅使用,在第一、第二栅上加接极小的正电压,以消除密集在栅阴极间的空间电荷,从而使阴极(灯丝)放射出来的电子全部或绝大部分都能飞向屏极,使耳机发声。这样做虽说屏压可以降低,但屏流仍然不小,因此仍旧达不到节约乙电池的目的。而且把抑制栅当作信号栅使用,由于它和屏极的距离很近,放大率就会降低。再有的就是大部分五极管的抑制栅已在管内和阴极相连,具有独立抑制栅的电子管一般不易买到。因此,不能不另想办法在线路上加以改变。
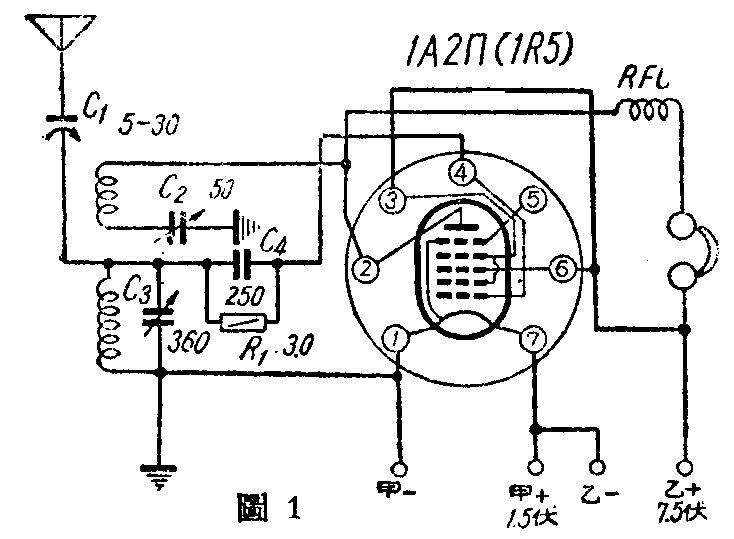
下面就是符合节约电池原则的低压单管的制作,线路见图1。从线路上看,这和一般再生式单管机一样,不同点是改用七极变频管1A2Ц(或1R5)作再生式检波,把振荡栅(第1栅)作信号栅,信号栅(第3栅)和帘栅(第2、第4栅)相连当作四极管使用(把第3栅和第2、第4栅一起和屏极相连当二极管使用,效果差不多),帮助屏极吸引从阴极飞出的电子。这种接法的好处首先是1A2п是国产管,到处有卖,解决了购买具有独立抑制栅的电子管的困难,其次不在消除电于管的空间电荷上打主意,屏流不致增加,延长了乙电池的使用寿命。再则由于第一栅和屏极之间的距离较远,提高了电子管的放大率,灵敏度有所提高。但是仅仅这样还是不够的,因为屏压低了,屏流变化很小,再生作用很弱或者不起作用。因此,在改用七极管的同时,还得增加再生线圈的圈数,以提高再生力。

具体制作
根据上面所说,这架机器除了采用七极管以外,关键问题在于再生线圈绕得较多,显然普通售品的再生式三回路线圈在这里是不适用的,要稍加改动,以和平牌5551型再生线圈为例,把天线线圈的原来标有E的通地端拆开,改接到原来的C\(_{a}\)接头上,原来的Pa端接电子管屏极,A\(_{2}\)端作为Ca,这样把天地线圈和再生圈串联作为再生圈的一部分。如果自绕线圈的话,可用英规39号漆包线在23公厘的圆筒上密绕128圈作L\(_{1}\),头接栅漏电阻R3,尾接地,在距离L\(_{1}\)尾端下面2公厘处用同号线密绕65圈作L2,头接电容器C\(_{2}\),尾接屏极(图2)。两线圈的绕线方向必须一致。绕好后在蜂腊里煮一下或涂一层万能胶以防松脱。

图中C\(_{1}\)是半调整补偿电容器,接入不同长度的天线时须稍加调整,使音量最大并波有夹音为度。
为了便于装置,全机可装在一块方木板上,零件排列和接线见图3。

机件装好后并检查接线无误时,可插入电子管试验。先不接天线,旋动电容器C\(_{2}\),耳机内可闻“噗噗”声,证明已有再生,然后插入天线就可以收听电台。
在北京市接一根2公尺长的拖线,可以收听本市的4个电台(640、720、820和1030千周),互不干扰。接用的乙电压为7.5伏,用电表测试屏流仅45—60微安。如果接一根稍好的室外天线,可以收听河北台与天津台的节目。(黄日昇)