随着农村有线广播网和邮电事业的发展,有些地方已经出现这样一个问题,一方面要求邮电部门不断提高线路质量,消灭串音,使开放广播的线路能够随时通话;另方面要求广播部门能更多的为农民播送国内外大事、省县各级党政领导的指示和大跃进的消息。看来在同一条线路上既要随时通话又要增加广播节目是一个矛盾,但经过我们试验,这个矛盾是可以解决的。下面就是解决这个矛盾的两种方法。
第一种方法:利用实线通话,幻线传输广播节目和直流电源。
线路工作原理
在双线回路上增设两个转电线圈T1、T2,以增加一根幻线,用实线通话,幻线传输广播节目和直流电源,见图1。

在双线回路的两端加装了转电线圈后,如果线路的两根导线电阻相等,从线圈中性点流向两侧的电流大小也完全相等,但方向相反(电流分别由3流向4,8流向7),因此线圈上产生的磁力线相互抵消,在实线回路上就听不到来自中性点的声音。这样虽然只有两根导线而实际上却起了三根线的作用,再利用一根地线便形成了一组双线和一组单线的两组线路了。
为了能够在幻线上同时输送直流高压和广播节目的音频信号电压,在直流高压和广播信号接入幻路前要如图1加接一低频扼流圈L\(_{1}\)和断流电容器C1,这两样零件的作用,L\(_{1}\)是防止广播信号经直流电源短路,C1是防止直流高压经广播信号电源短路,目的都是强迫这两种不同成份的电源电压只能沿着线路传输到接收端去。L1的直流电阻要小电感量要大,以避免直流电通过时产生过多的电压降并具有足够阻止广播信号电流通过的能力。
同样,在接收端也要加接相同的低频扼流圈L\(_{2}\)和断流电容器C2,使从线路来的直流高压和广播信号分开,直流高压经L\(_{2}\)供给放大站做电源,广播信号经C2加到扩音机的信号输入部分。

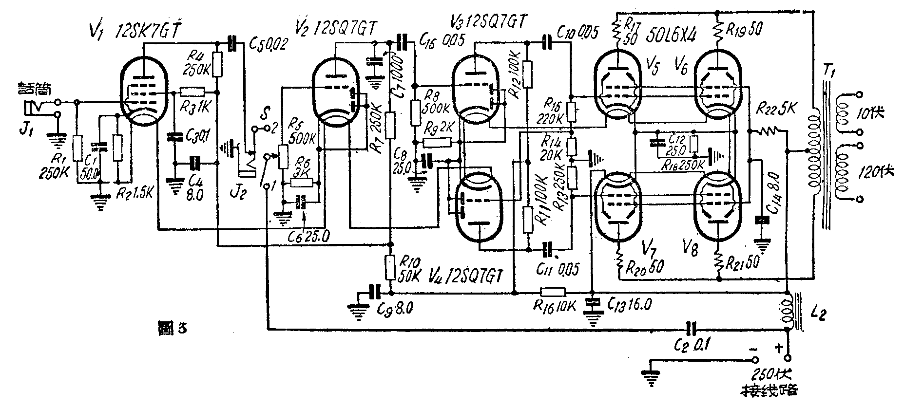
我们试验时在广播站采用图2的线路。广播节目信号经变压器T2输入到幻路上(临时采用60伏安的1:2馈电变压器)。线路是直径4.0公厘的铁线,长33公里,每公里电阻10.552欧,加上双方转电线圈共20欧(均指对幻路而言),双方接地电阻共10欧,总计204欧。接收端机器需要的电流为28O毫安,电压为250伏。我们在送端调整输出电压为310伏,减去线路上的降压,刚好符合需要,与计算值302伏仅相差8伏。
图3是试验时接收端采用的扩音机线路图。全部灯丝串联起来(50×4+12.6×4=250.4伏)后再和屏压并联,通过L\(_{2}\)再接到线路上以取得全部电源电压。输出变压器按输出120伏及10伏的标准制作的,根据试验可以输出15—18瓦。

在接收广播站送来的节目时,开关S放在“1”的位置,线路来的信号就通过C\(_{2}\)输入V2的栅极,若直接在放大站讲话或放唱片,只要把S扳向“2”,电唱头插头插在唱片插口J\(_{2}\)里,不过讲话时要把唱头插头拔下来才能播送出去。
试验记录
我们曾在肇东县广播站和昌五镇放大站进行了试验,从试验情况来看还是比较满意的。
1)试验地点:肇昌、昌五,
2)里程:33公里,
3)线路情况:4.0公厘双线用夸脚架挂在长途杆路横担下面,线路都做有交叉。环路电阻760欧(包括昌五镇的转电线圈直流电阻40欧),和计算值736欧相差24欧。分别用单线对地测量,双线还是比较平衡的,为了使得更加接近平衡,试验时用线绕电阻串在线路上进行调整。
4)试验时间:6月15日(晴天),在广播停止后,电话业务量小的情况下进行的。
6)线路衰耗:
由测量算出线路电阻为214欧,比计算值204欧多10欧(误差)。
7)广播效果:昌五放大站机器输入直流电源电压250伏,输入信号电压1.5—3伏,机器输出电压在10伏抽头上接320只喇叭时为17—18伏,在距放大站1公里远处测试,喇叭获得16—17伏电压时很响,接480只喇叭时输出电压12—13伏,接736只喇叭时输出电压7伏。
从肇东送出 在昌五获得
直流电压310伏 250伏
直流电流280毫安 280毫安
信号电压2—4伏(无串音) 1.5—3伏(无串音)
信号电压8伏(无串音) 7伏(有极轻微的串音)
因有些用户线路绝缘不太好,所以电压低些,在匹配好的情况下,在10公里内带500只喇叭还是能够很响。
技术要求和效果
以广播线(双线)用弯脚架挂,电话线用横木担架挂为例,按规定这两条线路平行超过10公里,而广播线用单线(即上面所说的办法)送出的节目电压为4伏时,要求两对线路间的间隔距离约10公尺;而用双线直接传输时不能高于60伏。
根据在肇东县试验的情况看,长33公里的广播线用夸脚挂在电话线下面,用幻线运出7—8伏的信号电压对其他电话线并不串音,而实际上信号电压还要小,只要2—4伏已经足够。试验的时候,我们一面用幻线送出音频信号,一面用实线通话,一点没有串音。
因为在线路上加装了转电线圈,依靠两线的平衡而开辟了一条幻线,用这条幻线传送信号,这就要求经常保持双线线条电阻不变,双线间和每一单线的对地绝缘要好,否则会产生串音和不能传送直流高压电源;又因线路上有高压,直接关连到人身安全问题,因此要求线路架设得坚固些,并向群众宣传不能在干线上偷挂喇叭,这样不仅会使直流高压电大量消耗,更重要的是可能使偷挂喇叭的人造成生命危险。
在线路较长的情况下,不应忽略每条导线的接头,应通过测试使全部线条的电阻接近于计算值。因为电阻太大,一方面容易产生双线间的不平衡,另方面传输的直流高压将有显著的电压降。双方的接地电阻更重要,在这里每多1欧的电阻,便相当于在两根线上分别多出2欧的电阻来。
由于在线路两端要传送和接收直流高压,所以转电线圈最好用木匣罩起来,以免意外。另外为了防止线路绝缘不良或雷击损坏线圈,最好如图6安上保安装置和避雷设备,同时还可监视线路的工作状态。

第二种方法,用实线通话,幻线传输广播电力。
工作原理
和第一种方法相仿,用加装转电线圈的方法增加一根幻线。在线路上加装转电线圈后,把电话接在转电线圈的2、5接头上:(图7),广播站输出接在3、8抽头上,这样相当于广播使用两根导线并联的单线广播。

试验记录
是尚志县邮电局、广播站共同试验的。
1)试验地点:尚志、乌吉密。
2)里程:9公里。
3)线路消况:30公厘双线用弯脚架挂的单一三级线路,环流电阻400欧,和计算值351欧相差49欧。单线对地绝缘良好(均为2兆欧),但线条电阻有些不平衡,因相差不大,又没有合适的电阻,所以未进行调整。
4)试验时间:6月4日(晴大)。
5)广播效果:
尚志输出电压 串音电压 通话情况
240伏 1—1.5伏 通话困难
180伏 0.8—1伏 尚可通话
120伏 0.2—0.8伏 可以通话
技术要求和效果
采用这种形式广播的先决条件是能够或已经开放单线广播的地方,并且双线的平衡要更好些。但如对通话的要求不高,即使线路条件差些也还可以。根据试验记录着,在尚志县的条件下送出广播电压为240伏时,虽不能同时通话,但还是能起到简便准确的通话信号作用,因此有可能等到紧急通话时再将输出电压适当降低。为了防止对其他电话的串音,我们认为这对实线和县城内(市内)的电话交换台应分开。如果输送120伏就能满足负荷量的要求,效果当然更好。
为了减少在城内或某一段内广播对电话的干扰,可把那一段的广播线改成双线传输,另架一根线并加装转电线圈,见图8,其它部分仍用单线。(黑龙江省广播管理处)


