上一期里介绍了在南京市工业大跃进展览会展出的一种简单“固定再生式二灯收音机”,现在再介绍一种也在这次展览会上展出的另一种两灯超外差式收音机。
这种收香机的设计原则是尽可能节约用电,坚固耐用,以提供电源较困难的地区使用。因此,在电路安排上,电子管及另件的选择方面,力求做到用电省、效率高、零件少;在机械结构方面力求简单、坚固、耐用。这两灯机的主要技术规格如下:
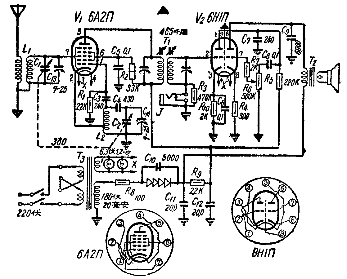
①收听波段:520—1600干周;②电路结构:6A2П变频,\(\frac{1}{2}\)6H1П检波,1;26HlП低效,另用一只半波硒整流器,实际是相当于三灯机;③输出功率:额定输出功率100毫瓦,最大300毫瓦(收音与电唱机同),采用124公厘永磁式电动喇叭,音量足供室内数十人收听;④电源:220伏交流电,耗电12瓦;⑤天线:由于全机增益大于20,000倍,一般收听100—200公里以内的电台仅需用2公尺左右的尾巴线,若加接室外天线,可收远地电台;频率响应:自100周到7000周,变化不大于3分贝;⑥非线性失真:200—400周不大于12%, 400—3000周不大于10%。

从整个机器的调谐回路来看选择性的话,5灯机有5个调谐回路,而这架机器只有3个(图2),为了提高它的选择性与灵敏度,可以采用有铁粉芯的输入回路和中频变压器(这样做统调更方便);中频变压器铝罩可省掉(因没有中放级),既节省铝金属,还可提高中频变压器的品质因数,加上适当的调整输入回路和中频变压器初次级线圈的电感量和耦合系数,就可获得一定的输入增益,经过这样一系列的措施后,就可在很大程度上提高收音机的性能和效率,保证有足够分隔电台的能力。
检波级采用屏极检波,好处是电子管输入阻抗较高、较稳定,对于大的或中等强度的信号可作直线性检波,大大降低了非线性失真,而对小信号和栅极检波相同,可作近似平方律检波,这样就具备了栅极检波对小信号灵敏度较高的优点。
利用6Н1П的一组三极部分来担任低放,优点是用电省、效率高,并且采用了阴极负回授的方法,省掉了一只25微法的傍路电容器,还可改善频率失真和非线性失真,以提高音质。当6Н1П的负荷阻抗为9,000—10,000欧,栅极有效输入电压约3伏时,最大输出功率可达360毫瓦左右。更重要的是6Н1П的屏压、屏流以及它的屏耗散功率都不超过规定的极限值,保证了电子管的正常工作。
考虑到机件性能的可靠、坚固耐用,以及使用安全、维护费用低等问题,采用一小块梯形金属底板和有次级高压线圈的电源变压器。电源变压器的交流高压为180伏,工作直流高压不大于210伏,交流灯丝电压可设计成6.1伏,这样不仅不影响电子管的工作性能,还可延长电子管的使用寿命。全机高压直流电流在无信号静态时为16毫安,交流哼声很小。电源变压器采用有次级高压线圈的理由是:①高压若直接从初级线圈上取得,则底板带电,不安全;为了防止使用者受电击,须加接浮地线、并联的高频傍路电容器和泄放电阻,以及拉调幅交流声电容器各一只;②在使用110伏市电时,初级除须供给次级灯丝电源外,还要以自耦变压器的方式供给220伏交流高压,这样初级线圈就要一半粗一半细的铜线;③交流高压从220伏降到180伏,硒片和从27片减少到25片,节省2片硒片。另外,低放级高压可直接从第一只滤波电容器C\(_{11}\)上取得(试制结果为207伏),R9就可用半瓦的炭阻。从上面分析看,对于一只12伏安小电源变压器,加一个180伏的次级线圈并不会使成本增加多少,但对使用者就很安全,维护费(电费)也省。


机件外形及内部结构见图1、3、4。
收听结果证明,这架机器的杂音小,不夹音,音质清脆,可收本地附近的电台,也可收远地强力电台。
无线电爱好者自制时,可选用品质因数较高的中频变压器(输入级),把铝罩去掉,L\(_{1}\)、L2可用普通市售的S型线圈,硒整流器也可用电子管整流器代替。
最后,为了提供无线电生产单位生产普及式收音机以有利条件,使这类收音机做得更为价廉物美,最好能生产这样的复合电子管;它是由一个输出功率最大为1瓦左右的高互导三极管或束射四极管。以及一个二极整流管(如6Ц4П)所组成的二极三极管或二极四极管,迫切希望我国电子管厂能早日考虑这类电子管的生产,为祖国收音机的多样化而努力。(江宝琦 郑世建)
