扬声器的阻尼是一个常常被人所忽略的问题。有许多扩音机被称为具有如何良好的频应曲线,譬如说,由20周到15,000周保持为一根水平直线,但是听起来,声音却混浊不堪,原因就是扬声器阻尼不好,一次振动未完结,第二次接着又来,以致造成混响。当唱片上有急骤的擂鼓声时,上述效应是特别有害的,它使人根本无法听出鼓点来。
采用电压负回授来降低输出级的输出阻抗是增加阻尼的有效措施。阴极输出器的回授是100%的电压负回授,所以采用它来作输出级时,可以得到极好的阻尼。此外,由于100%的负回授,功率放大级所固有的非直线性谐波失真大大地削弱了。这就是用阴极作输出的主要好处。
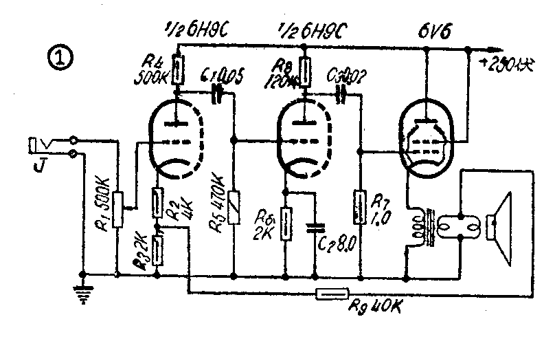
最近,作者应一爱好音乐的友人委托,代装一架唱片扩音机。条件是一要经济,除电源部分外,只容许两个电子管;其次,要求音质优美,经得起音乐爱好者受过训练的耳朵的考验。作者考虑了一下,决定用一只6H9C(包括两个三极管)来推功率管6V6,而后者作阴极输出,以求音质优良。装制结果,成绩尚称满意,音质清丽无比,试放贝多芬的第九交响曲,定音鼓击节清晰可闻,因此在这里介绍一下。

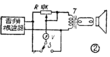
线路图和底板下的接线图如图1图5所示。6V6联成三极管,输出变压器接在阴极。初级线圈的电阻要有300—400欧,以保证正常的运用点。次级配接一只200公厘永磁扬声器,反射到初级的阻抗要有5000欧,以便和6V6配合。顺便在这里介绍一种简便的阻抗测法。图2示音频振荡器的输出上串联着10千欧可变电阻及输出变压器T。改变电阻R,并用电压表V及开关S来测量T及R上的电压,直到两个读数相等为止。这时R的读数即所求阻抗值,用这一方法可求得阻抗随频率变化的情形。


电压驱动级本身没有什么值得提的,整个线路加上由音圈取得的负回授,更进一步改善了线路的品质。音圈那一端应接地,可以试验决定,接反了变为正回授,是要起振荡的。回授电阻R\(_{9}\)的阻值不要再降低。有人或许以为再加些负回授可以更进一步使音质优良,殊不知这样一来,在高频范围内可能引起振荡。
如果装好后有汽船声,可在第一低放级屏回路里加一由100千欧半瓦电阻和一8微法电解电容器组成的退交连电路,见图5中的C\(_{4}\)、R10。
为了考察阴极输出对改善扬声器阻尼的效果,特地取了一个普通屏极输出放大器来作比较。在两者的输入上均送入0.5伏左右的10周方形波,然后利用示波器在音圈上来观察暂态响应。所得的结果描绘在图3上,可以很清楚地看出,采用屏极输出时,扬声器的暂态过程振荡得很厉害。

根据粗略的测定,放大器的低半功率点约在75周左右,高频响应到15000周犹能保持平直。至于输出功率,当然,采用阴极输出时,要比采用屏极输出时小,但是,在20平方公尺左右的房间内,经过试听,声音响度是有余的。

最后,这样的线路,在国外杂志上也是很多的,兹摘录某外文杂志上的线路一张(图4),供大家参考。线路中L\(_{1}\)是10亨、70毫安扼流圈,电源变压器的高压次级为250—300伏。(木头)