(四) 低频负回授电路
在音质良好的收音机里低频放大级往往有负回授电路。这种电路的最大好处是能够改善低频放大器的频率响应特性,在配合适宜时,能使整个音频范围内各频率的放大增益基本上完全相等。
负回授电路的工作原理,是把输出电压的一部分,按反对输入电压的方向送到输入电路里,因此有减低输入信号电压强度的作用。但负回授具有下列几种优点:(1)放大器内部所产生的失真和噪声、交流声等被反相送到输入电路里,再经放大以后,能抵消一部分原来所产生的失真,噪声和交流声;(2)能矫正放大器放大力不均匀的现象。当放大器的放大力过大时,负回授作用也相应增大,这就减低了电子管的实效放大倍数;而当放大器的放大力小时,负回授电压小,电子管放大器的实效放大力获得提高。因此,虽然电子管放大器本身的放大力有变化,但有了负回授作用、就能使输出电压趋向于一致。因此由于放大器频率响应不佳、内部零件变值、电子管衰老等原因所造成的放大器增益变化,都可用负回授加以补偿。
负回授电路可分为两类:一类叫电压负回授。它的负回授电压大小与输出电压成正比,输出电压愈大,负回授作用也愈强,因此有维持输出电压不变的特性。当负回授程度非常大时,可使输出电压基本上稳定不变,因此可以获得定压输出。
另一类叫电流负回授。这并不是说把输出电流回授到输入电路里。实际上仍是使输出电压回授到输入电路里。但负回授电压与输出电流成比例而不是与输出电压成比例。图11是电压负回授和电流负回授电路的比较。图11(甲)是电压负回授电路,R\(_{1}\)和R2构成分压电路,C是作隔断高压直流电压用的,容量很大,对音频电流不起降压作用。回授到输入电路里的反相电压是输出电压的\(\frac{R}{_{2}}\)R1+R\(_{2}\),在一般情况下这个比值小于1。图11(乙)是电流负回授电路,在输出放大管的负荷电路里串联一只电阻R,R的阻值比喇叭的音圈阻抗小得多,因此它不会消耗过多的功率。在R上的音频电压降是与流过喇叭音圈的电流i成正比的,其数值为i×R。把这电压按相反的相位送到输入电路里去(在图中是接到输入变压器的下端),就成为电流负回授电路。电流负回授电路里的负回授电压既然是与输出电路里的电流强度成正比,因此具有维持输出电流趋向不变的作用。电流负回授的缺点是对阻抗随频率变化的喇叭负荷来说,有增加频率失真的效果。因此实用价值较小。在实际线路中,若把一般输出放大管的阴极傍路电容器去掉,就成为电流负回授电路。因为在阴极电阻上所产生的音频电压降就是现成的电流负回授电压。

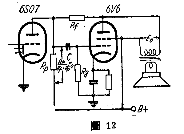
常用的负回授电路除图11(甲)以外,还有一个最简单的办法,就是在输出管的屏极和前面电压放大管的屏极之间,接一只高阻值的负回授电阻R\(_{f}\),如图12。Rf和R\(_{p}\)构成一个分压电阻,输出管6V6的全部输出电压Eo加在R\(_{f}\)和Rp的串联电路上,而在R\(_{p}\)上的电压降RpR\(_{f}\)+RpE\(_{o}\)就是送进6V6栅极电路的负回授电压。Rp是6SQ7的负荷电阻,阻值由电子管特性和所需放大增益来决定,因此回授的程度可用R\(_{f}\)来调节,Rf愈小回授作用愈大,但也不能过小,因这里的回授电压是与输入电路关联的。由于R\(_{f}\)的分流作用,使6V6的输入阻抗降低,Rf愈小则输入防抗降低得愈多。因此R\(_{f}\)的阻值至少要比Rp大4倍以上。常用的数值大约是二、三百万欧。

在收音机里大多数是在输出级里采用负回授。因为常用的输出放大管都是五极管或四极束射管,失真度较大。又由于喇叭在不同频率时阻抗有变化,常会使高频率时输出过大,引起频率失真。而且末级管的输入电压很大,工作范围广,略一过荷也很容易引起失真,这些失真现象都可借负回授作用来减低。但也有些负回授电路包括全部低放级的,即从末级把输出电压按相反的相位回授到最前级,这时就需要注意相位关系,不要接错,以免成为正回授,反而引起振荡和更厉害的失真。有一个规律可以记住:当把屏极输出电压回授到栅极输入电路里时,若放大级是单数则构成负回授,放大级是双数则构成正回授。在遇到放大级是双数时,可把回授电压改从阴极输入,就可以构成负回授电路。
负回授电压也可以从帘栅极输入。在一般电子管放大器里,对于栅极来说,帘栅极虽然是和屏极相位相同,可是把信号电压(负回授电压)从帘栅极输入时,帘栅就具有像栅极一样的作用,使屏极电压发生相位相反的变化。图13是在输出变压器的初级上抽一个头,接到帘栅极上,就构成负回授电路。这种负回授电路的主要作用是减低输出管的有效屏内阻,使输出电压稳定。

实用上负回授量的大小可以用放大增益减小的程度来表示。譬如一个电子管放大器原来在输入电压是1伏时,输出电压是50伏,放大增益A=50。但加接了负回授电路以后却要把输入电压增大到5伏才能够获得50伏的输出,放大增益减小到原来的1/5,有负回授以后的放大增益A'=10。用前后放大增益的比来表示负回授的程度,得A∶A'=50∶10=5,这比值叫做负回授因数。
(五)自动频率控制电路
自动频率控制电路的作用是使超外差式收音机里的本地振荡频率能自动调节,与外来信号频率保持一固定的差频——中间频率。因此收音机不一定要调谐得很准确,只要粗略地调到所要收听的电台附近,它就会自动调整本地振荡频率来适应外来的信号,使与外来信号频率产生正确的中间频率差拍。因此这种电路具有自动调谐作用。
每一位业余爱好者在开听收音机时都会有一种感觉,即当收听一家电台的时间稍久以后,声音会逐渐减小,必须把刻度盘略微再调整一下才能使声音恢复到正常情况。这种现象在收听短波时更显著,原因是收音机开久以后,由于机内各零件的温度升高,本地振荡器的频率会逐渐改变,而使与输入信号频率差拍后所产生的中间频率也跟着改变,偏离开原定的中间频率,因此不容易通过中频变压器,声音当然就会减小了(同时还有失真现象)。本地振荡器频率改变的原因很多,主要是由于温度升高以后绝缘材料(如管座,固定电容器里的电介质,线圈管等)的介质常数发生改变,因而使振荡频率改变。在电源电压不稳时,振荡频率也常会跟着变动。以上这些振荡频率不稳的现象,都可采用自动频率控制电路来加以矫正。自动频率控制电路不只可以改正收音机里振荡频率不稳现象,甚至发射机的发射频率不稳时,它也能使收音机里的本地振荡器频率跟随着变化,而仍然产生原定的中间频率,保持最大的接收可靠性。
一个设计好的自动频率控制电路的控制频率作用是非常惊人的。譬如我们把一架装有自动频率控制电路的外差式收音机用人工调谐到与正确频率相差3千周的话,这时自动频率控制电路就能自动地改变本地振荡器的频率来迁就外来信号,使所产生的中间频率与标准数字相差不到0.1千周(当然,要想把频率控制到完全没有差误是不可能的。就像自动音量控制电路不能完全消来信号强弱的变化一样)。
自动频率控制电路的基本原理,是利用一种叫“鉴频器”的电路来检查收音机中频放大器的输出信号频率是否正确(譬如说:465千周)。在正确中频时,鉴频器不起矫正的作用。若频率偏高的话,在鉴频器里就会产生出负性控制电压来;而频率偏低时,就产生出正性控制电压来;如图14所示。这种控制电压被送进一种叫做“可变电抗器”的电路里,用来改变收音机本地振荡器里的电抗,因而改变了本地振荡频率。这作用有些像用自动音量控制电压来变更收音机的放大增益一样,但在这里是控制振荡频率。鉴频器和可变电抗器的原理现被广泛应用在超短波调频接收机和发射机里,用来接收和发射调频电波,研究起来是非常有趣味的,现在下面作一些简单的介绍:

(1)鉴频器电路 基本电路如图15,表面看来很像一个全波整流电路,可是负荷电阻接在检波管两个阴极之间,R\(_{1}\)上的整流电压与R2上的相反,起互相抵消的作用。第二只中频变压器T\(_{2}\)的初次级线圈之间的交连度非常松,从初级线圈的上端接有一只电容器C,把初级的中频电压交连到次级的中心点。高频扼流圈L不让中频电压通过,但直流电则可以通过。中频变压器的初、次级都调谐到中间频率。加到整流管6H6两个小屏上的中频电压包含有两部分:由电容器从初级直接交连而来的电压和半个次级上由初次级间电感交连而来的电压。由电容交连而来的电压与T2初级电压的相位相同,但由电感交连而来的电压则相位随时变化,在正确中频(谐振频率)时与初级电压相差90°,高于或低于中频时的相位差则大于或小于90°。当谐振频率时,6H6两只小屏上的交流电压大小相等。因此整流以后产生在R\(_{1}\)和R2(R\(_{1}\)=R2)上的电压也相等,但方向相反,结果两个阴极间的电压为零,在R\(_{1}\)上端没有电压经R3送出去。当中频电压偏移,高于或低于中频电压时,由于初级和半个次级上两个相位不同的电压相加的结果,使6H6两小屏上所受的中频电压绝对值不相等,R\(_{1}\)和R2上所得的整流电压也不等,但方向仍然相反(见图中的十一符号),这两个电压相差以后,剩下的电压(极性按频率偏移的方向而定)从R\(_{1}\)上方经R3送到前面可变电抗器里去,用来纠正收音机的振荡频率,使中频向正确频率靠拢。R\(_{3}\)上端输出电压按频率而变化的情形和图14所示一样。这就是鉴频器的作用。图15里,在R2的上端还可取出一般的自动音量控制电压,在R\(_{2}\)上又可取出低频输出电压,因此有了鉴频器电路以后,就不需要另装第二检波电路。

(2)可变电抗器电路可变电抗器能随着直流控制电压的大小而改变它的电抗作用,按线路结构的不同,这种电抗可能是电容性的,也可能是电感性的。图16是一种常用的自动调节振荡频率线路。虚线所包括的部分就是可变电抗器电路。作用的原理是这样的:可变电抗器通过C而与6SA7的振荡电容器关联。振荡电流从a点经R\(_{1}\)、C1而入地。由于R\(_{1}\)的阻值比C1的容抗大得多,因此从a点经R\(_{1}\)、b点,Cl而入地的电流可说是与a点的电压同相的。可是由于电容器的固有特性,在C\(_{1}\)上的电压要比电流滞后90°,因此b点的电压比a点滞后90°。我们知道电子管的屏流是与栅压同相的,因此可变电抗管6SK7的屏流也必定与b点相位相同,而比a点滞后90°,就是说,这只电子管的屏流比屏压(也就是a点的电压)滞后90°。电流滞后于电压90°是电感线圈的特性,因此这样的电路就具有电感线圈的作用了。至于电感量的大小,则随滞后电流的大小而定,电流愈小就相当于电感愈大。通过R2而来的自动频率控制电压能改变电子管的跨导,改变滞后电流的大小,因而获得控制电感量的作用。由于电感量随鉴频器送来的控制电压而变化,使振荡频率朝正确方向改变,因此就达到自动控制频率的目的。以上所说的可变电抗器是电感性的。如果把图16中的C\(_{1}\)改成一只小电感线圈,则成为电容性的,具有自动调整频率作用的可变电容器了。图16所列数值适合一般短波段里应用。(罗鹏搏)
