我省有不少地区是利用区、乡电话线路放送广播的,但在沿途进行中途搭挂喇叭时,往往由于群众管理不善,听了广播后,不能及时将喇叭插头拔掉,影响电话的畅通,有时还造成电话失密的现象。另外,线条的负荷量是有一定的限度的,沿途喇叭搭挂多了,远近端喇叭音量就不平衡。因此,过去很多地方就采取了大量拆除中途搭挂的喇叭的消极办法,影响广播收听和喇叭的迅速普及。
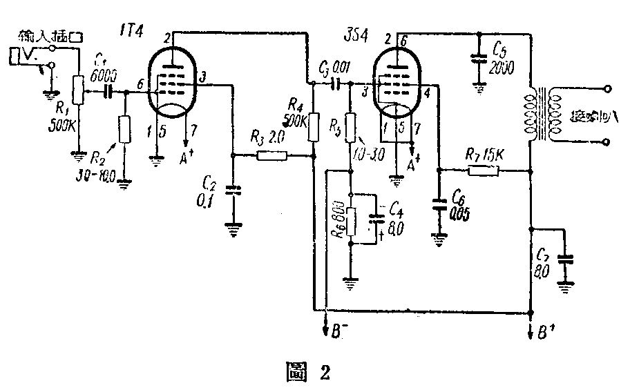
在党的支持和总路线的光辉照耀下,解放了我们的思想,敢想敢做,苦钻苦干,创造了利用串音电流进行中途搭挂喇叭。我们在一条7公里线径2.0公厘的单线馈线上作了试验,在馈线送端输入1000周100伏的信号电压时,测得的串音电压为1.2伏,将这信号电压送入一个2管干电放大器(如用1T4、3S4电子管)中,声音很好,可带动20-40只舌簧喇叭。
我省农村电源尚不遍普,山区人口居住比较分散,而区、乡电话线路一般长达80公里左右,沿途经过很多几十户人家的村寨,如果利用感应电流在沿途村寨进行中途搭挂喇叭,农村广播网的普及可以采取集中负荷和分散负荷两种形式相结合的办法来进行,既可以不影响电话的畅通,不增加线条的负荷量,又可节省大量的回返广播用户支线。在贯彻多、快、好,省建设社会主义的方针,扩大广播收听面,加快普及农村广播网的速度上有着重要的意义。
它的具体作法是:
一、在村寨附近的两根电话线木杆之间,用线径2.0公厘的铁线架设一根平行线,用绝缘瓷瓶加以固定。平行线应架在电话线的下面,相距约1市尺(如图1),然后用引下线接入一架二管干电放大器(如图2)的第一级电子管1T4的栅极上。


二、用长1公尺线径4.0公厘的铁线绕一只空心线圈,把它装牢在一只2号弯钩瓷瓶上,再把弯钩装在电话线杆的下面。线圈应与电话线平行,以获得最大的电磁偶合(图3)。线圈一端用导线引下。

三、先在电话线上涂一层沥青,用18号皮线在涂有沥青的电话线上绕40-50圈(不宜绕得太紧),然后引下。(贵州省广播处技术科供犒)