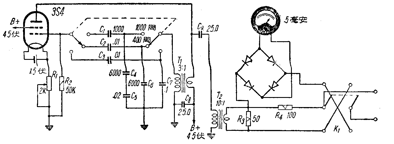
我们在电台技术人员协助下,自己制成了一只阻抗测量器,仅用一个电子管3S4作振荡,输出周率有50周、400周和1000周三种。
这个测量器全重连甲、乙电在内不到2公斤,在郊区测量分配馈线用户线的特性及线路阻抗都很方便。这个振荡器的另件数值见附图。

R\(_{1}\)是1千欧可变线绕电位器,是调节振荡强弱,使输出短路时表上指针读数为0,T2是6V6输出变压器,次级改绕。使圈数比为10:1。K\(_{1}\)用的是四刀二掷两波段开关,并联使用的。
甲电用两节手电电池,并联供给灯丝,乙电则用上海出的45伏小型电池。
电表用0.5毫安的普通电流表,表面根据测得的记录重新绘制。刻度分三行:0到100欧、100-1000欧、1000欧到无穷大。
有了这样一只测量器,测量各种喇叭阻抗,特别是测量线路,可以很方便地直接从表面上读得,正同用万用表测量电阻一样方便。(无锡市广播站胡友仁)