编者按:用遥控制管理放大站,使扩音机按时自动开放和停止广播无疑是一项比较好的办法。遥控制不仅能使县站随时了解放大站的工作进行得是否正常,最大的优点还在于扩音机由县站控制后,只要县站定期派人巡修,站内就无需维扩人员。可以把原先驻站的技术人员解放出来从事其它工作。这篇文章介绍的遥控方法,虽像文中所指出的那样还有缺点,例如串音问题,放大站停民问题,都将使工作增加一些困难或造成一些错觉,但总的说来,仍不失是一个好办法。采用遥控制时,要考虑到机线的质量,以及各个继电器的机械的和电气的性能是否可靠,否则也有可能带来更多的烦麻,影响广播的正常进行。
今年春节前,我们在距县广播站12公里的周泾巷建立了一个遥控放大站。这个站开始时是利用低电平信号传输,工作情况靠装在该站附近一所小学里的监听喇叭和联络电话来了解。但线路一出故障,电话不通,有时已停播了三、四天,等到听众来信反映才发觉。自省广播管理局载波机试制成功后,就把县站改用载波传输,根据交流、直流、高频和低频电流的特性,在同一对线路上分别用作载波广播、电话通话、直流遥控和幻线回输监视等4个用处,试用了两个多月,感觉有这样几个优点:
1.利用载波传输有线广播,可以提高放大站的音质,听起来信号输入的高频衰减比在低电平传输时小,频率响应好。
2.因为用了载波,可以借用幻线回输音频电压作监视,便于县站了解放大站的工作,有利于放大站采用遥控制,节省人力。
3.广播时照常通话,提高了电话线的利用率。
我们在试用过程中,也曾碰到如下几个故障,由于有了回输监视设备,能及早发现加以克服,使停播时间不超过一天。故障现象是:
1.遥控继电器电流表A(图1)读数增大(正常时为3.5毫安),测量出是线路上有地气,内中两次是邮电局架线时碰了临时拉线,一次是有人中途私挂喇叭(接单线)。

2.回输电压表V读数小(正常时为2伏左右),经检查是馈线过河电缆破裂通地。
3.无回输电压,两次是电源熔丝烧断,一次是高灵敏度继电器(图2中R\(_{yl}\))线圈霉断。

为了便于了解放大站的工作,我们在开机前5分钟先送出杂音信号,测试如延迟时间是否正确(SIV闭合后何时才有回输电压),机器是否工作(有无回输电压)等等,同时为了防止继电器因打火花接点烧牢而关不掉机器,广播结束再送一次信号,然后拉开SW,如没有回输电压,表示机器已关。
现在把这个放大站的安装及设备写在下面,供其它有线广播站参考指正。
图1是县站的遥控设备,电源变压器是利用原来继电器用的,也可用电铃变压器改绕,只要次级输出的电压经过线路的降压后符合继电器R\(_{yl}\)的规格。线路长,线径细的最好用高灵敏度的继电器,我们用的是20伏2-3毫安的,因此硒堆仅用华北无线电器材厂出品的60毫安的硒片2片。但高灵敏度继电器的接点通过的电流小,要另外带动一只接点大的继电器作为扩音机的电源开关(图2中Ry2)。滤波电阻R\(_{1}\)可根据线路长短变换(我们采用实地测试法校验的)。直流幻线起初我们用中心抽头的变压器,后来改用了2只1千欧线绕电阻(阻值力求平衡),效果相同。电压表V是回输监视用的,可用0-5伏动圈式交流电压表。关于载波机的安装,见“无线电”月刊本年5、6两期连载。
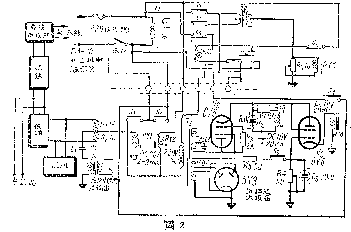
图2是放大站扩音机电源部分和遥控设备。我们用的是无锡电台服务部出品的ГM-70型300瓦机,上项遥控与延迟设备也由该部协助设计的,机内有过负荷设备,但任何扩音机都可以加装。它的工作情形如下:
当县站把SW闭合后,即有直流电从传输幻线经过放大站继电器R\(_{yl}\),Ry1将S\(_{1}\)吸下,带动Ry2把S\(_{2}\)吸下,扩音机低压开关接通,同时遥控设备的电源也通过接点S1接通,V\(_{l}\)管输出的100优负电压加到V3管的珊极上,把V\(_{3}\)的屏流截断。约20秒钟后,V2的输出使R\(_{y3}\)把S3吸开,切断了V\(_{3}\)的栅偏压,这时C3开始通过R\(_{4}\)放电,因此V3栅极上的负压要延迟一个时间后才能消失。延迟时间由R\(_{4}\)和C3决定。采用图中的数值并调整R\(_{4}\)的位置,延迟时间可以从30秒到3分钟。等到V3的栅偏压消失,V\(_{3}\)的输出使Ry4把S\(_{4}\)吸下,S4又接通R\(_{y5}\)的电源,于是S6、S\(_{1}\)便把扩音机高压接通,扩音机开始工作。由于V3的延迟作用,扩音机高压要比低压延迟30秒到3分钟开启。R\(_{y5}\)是原机里的继电器,要加装一个反方向的接点S5。这样,当R\(_{y5}\)的接点S6、S\(_{7}\)接通的同时,S5切断了T\(_{3}\)的电源,延迟设备停止工作。但高压电源由于Ry5的自保作用直接经S\(_{6}\)接通。如果机器过负荷时,Ry6的接点S\(_{8}\)跳开,Ry5的电源被切断,于是S\(_{5}\)自动闭合,延迟设备重复一次上述工作,再把高压接通。
图中V\(_{2}\)可用6X5,可省一只电阻R3,降压电阻R\(_{6}\)的数值随所用电子管及Ry3的规格而定。T\(_{4}\)是回输电压用的线路变压器,也可以直接从扩音机监听喇叭的线头上接出,不过电压低些。
安装这种遥控放大站时,要注意两点:如果传输线与县站输出的其它高压线同杆,由于幻线是单线,回输电压里就混有串音电压;如果同杆的是高压单线,那末串音太大,回输监视设备不能使用。其次,放大站停电时,县站也可能误会是机器发生故障。(无锡广播站 王祥兴、徐忠良)