有压电效应的材料很多,例如石英晶体、酒石酸钾钠、电气石、酒石酸乙二胺、磷酸二氢钾及磷酸二氢铵等。这些物质在制成适当大小晶体并切割成适当形状后,就有压电效应,可用作振荡元件及音响元件。上述材料中以酒石酸钾钠晶体的压电效度最强,用作音响元件(如话筒、播音器)最为适合,虽则它有不耐湿潮不耐热的缺点,但如包封严密,机械装置完备,仍可长期应用。
酒石酸钾钠亦称薛格涅特盐或洛先尔盐,市上有工业品或纯粹品出售。它是无色晶体,极易溶解于水,并且溶解度的温度系数甚大(即温度增加时,溶解度显著增加)。所以要制出甚大结晶时,可先将其制成某温度的饱和水溶液,而后渐渐降低温度(数度),就可在种子上得到很大的结晶。
结晶的制法
1、用大口热水瓶作恒温槽用大口热水瓶作恒温槽来制作酒石酸钾钠压电结晶体,制成的晶体虽说质量不高,但由于方法简单,适合业余无线电爱好者自制。在广口热水瓶中充以适当温度的水,将盛有酒石酸钾钠饱和溶液的烧杯放入瓶中,使杯内溶液液面低于瓶内温水液面(图1)。杯内放入种子后,用盖盖紧,热水瓶也用盖盖好,经地一昼夜后,就可得相当大的结晶。

因为热水瓶没有温度调节装置,只能利用瓶中温水逐渐冷却的效应,所以在春夏秋室温不剧冷条件下最适当。
2、恒温槽的构造 用水浴恒温槽来制造大结晶最为适宜,一种最普通的恒温槽设计如图2。恒温槽的大小视实际需要而定。其外壳为一木箱,内设水槽,木箱和水槽间用石棉绝热,底部装电热线,电热线用绝缘柱间隔,绝缘柱同时作水槽的支持用。木箱和水槽各用盖子密闭,避免大气温度的影响。

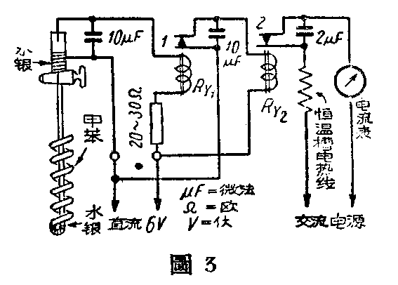
为要得到较大的良好结晶,就须对微小温度变化有灵敏的调节装置,而且可以调节得温度逐步下降。温度调节装置的大概如图3所示,图中左边是玻璃调节器,将玻璃管下端绕成螺旋状,管内充以甲苯。在螺旋管上端,接毛细管玻璃,内中充有水银,水银经过上面活塞之后与玻璃管边引出的白金丝相接;再在玻璃管的顶端装一附有白金丝的螺丝,白金丝就随调节螺丝而上下移动,当其和水银接触时,外电路就接通了。

甲苯的膨胀系数甚大,水槽的些微温度变化,就引起很大的膨胀和收缩,推动上端水银柱上升或下降。如装置适当,水槽的温度每变化1℃,水银柱可有2公分上落,这样,温度可调节至0.01℃光景。如果仅用水银柱来启闭加热电源(一般用500瓦),是不适当的,所以须用二段继电器来间接启闭。例如水银槽的温度下降时,水银离开白金丝,停止第一继电器R\(_{yl}\)的励磁,触点1弹回闭上而使第二继电器Ry2励磁,接触点2闭合而使加热电源接通,水槽温度就上升。等水银和白金线相接触后,继电器的动作与上述相反,使加热电源断开,水槽温度就下降。当然,水槽温度的变化因水的热惯性及电热线剩余热量的缘故,在时间上是落后于温度调节器的动作的,所以温度调节器的灵敏度为0.01℃时,水槽的温度变化却对应为0.1℃。将附有白金丝的螺丝每日旋下少许,就可使恒温槽的温度逐渐下降。
从饱和溶液到结晶的生成酒石酸钾钠盐本身含有结晶水,当用水溶解时。水好像会多出来。饱和水溶液的制法如下:(1)先用少量水溶解酒石酸钾钠,加热使全部溶解后,再用水冲淡。加热的温度不可超过60℃, 以避免分解。(2)把多量酒石酸钾钠溶解在一定量水中,再加热到所需要的温度,尽量搅拌后滤出未溶化的酒石酸钾钠,就剩下饱和溶液。
溶液是否饱和,可用比重计测定溶液的比重而知道,饱和溶液的比重与温度的关系如图4。例如要作出35℃的饱和溶液,可测量溶液的比重使达到1.37就是。

溶液饱和温度的选定,对于结晶是否良好很有影响,一般应不与恒温槽的温度相差太远,而且也须随室温改变,大概夏天用35℃、冬天用30℃左右的饱和水溶液。
买来的工业品酒石酸钾钠内常有杂质,所以制出的溶液混浊不清,应该用细滤纸和玻璃漏斗过滤,因为酒石酸钾钠的饱和溶液是稠厚的,所以最好用保温过滤漏斗以免溶液冷却,或者将饱和溶液温度再提高一些,使过滤后溶液的温度仍能维持饱和状态。这些操作目的,都是为了避免在过滤过程中因受冷而产生微小结晶析出。在溶液中如有很多微小结晶或者尘埃等物,就会生成很多不正常的或重叠的晶体,而不能制出大结晶。溶液是否完全澄清,可将溶液置日光中鉴别,澄清的溶液对光线看是完全透明的,倘有闪闪发光现象,就表示溶液中有微小结晶粒子。
在饱和溶液中放入一小粒种子后,温度逐渐降低,结晶就在种子上逐渐长大。种子的制法很便当,只要把上述制成的饱和溶液倒一些在平面器皿中,隔一夜就可得到很多小粒结晶。选择一块结晶形态完整的,用丝线缚住,吊入饱和溶液的烧杯当中,就可放到恒温槽中,先使水的温度略高于饱和溶液0.5℃-1℃,如超过太多,种子就有溶化危险,之后再逐步降低水温。
以上是对制造完整的大结晶而言,如果只想制作音响材料的结晶,那末上述种子不必用丝线悬挂,只要平放在烧杯底上就可以,而且如果烧杯很大的话,那末放两块或三块种子都可以(互相离开远一些),同时可以得到两块三块结晶。但是,这种方法生成的是半晶体,用作音响材料,还是可以的。
结晶的割切研磨和音响材料的制作酒石酸钾钠结晶在结晶学上属于斜方晶系,如图5,左边是半晶体,右边是全晶体。其结晶轴也已最示在图上。截取垂直于x轴而平行于y轴z轴的矩形结晶片,有很好的压电效果(如图中半结体内虚线所示)。

割切的方法如下:从饱和溶液中取出结晶体,用吸水纸吸去余沥。再用线缚在两个旋转的轮子上使循环旋转。线用水润湿后,晶体压在上面,就可以割切,其情形正如锯木机的锯断木条。图6为其示意图,晶体割切成雏形后再进行研磨。

对于不大的晶体,可毋须割切,就用研磨手段来达到所要求的尺寸。研磨方法;先将粗木砂纸平贴在板上或玻璃片上,用手指按住晶体前后移动,晶体棱角就可磨去。等磨到大约尺寸后,再换细砂纸精磨,就可得表面光滑的晶体片。研磨时手指最好戴橡皮指套以免晶体沾污,手指用力不可太重,因为晶体质脆。极易损坏。研磨时也可加些水来润湿后进行。
作为音响材料的晶体片,尺寸大小,须看实际应用而定。用于拾音器中的就比用于话筒中的为小。但它的构造方式却相同,一般都用两片相同大小且沿同轴向切割的晶体片叠合而成,用铝箔贴在晶体面上为电极,为使铝箔和晶体面接触良好,可用一些胶态石墨涂在上面(图7)。

最后,整个晶体组用薄橡皮或塑料包里密封,以免潮气侵入。装入拾音器或话筒中时,上下两面再用橡皮垫好,使免于受震损坏。(吴嘉城)