半导体(晶体三极管或晶体四极管)的主要优点之一是不容易损坯、寿命远较电子管为长,但这只是指其机械性能和在正常使用情况下而言。其实,它的电气性能是相当脆弱的。首先,它经不起较高电压或电流的冲激,尽管这点点足以使它致命的电压或电流对电子管来说是微不足道的。其次,它对热的抵抗力也比较差,一般锗半导体的工作温度最高不得超过85℃,并不能长时间被烈日直射。因此,对待半导体绝对不能像对电子管那样随便。
举例来说,平常要是测试电子管碰不碰极,普通三用表就完全够用了。可是要测量半导体的极间电阻却非得用电子管电压表不可,因为三用表表路里的些微电流,已足够把它烧毁。再如检查普通的电子管收音机时,在电源开着的情况下,把电子管拔下来又插上去是没有什么关系的,可是在半导体收音机里,却千万不能这样,相反地,应该先关掉电源再装拔半导体,万一非带电进行不可,也必须先将半导体的基极插入管座,以保证先有偏压供给。又如在用电子管的无线电机械里,烙铁和管脚接触的时间稍微长一些,并无多大不良影响,但这对半导体来说,却不许可。而且为了慎重起见,连连续供热的电烙铁最好也改用间接供热的电焊枪来代替。同时,焊接时最好把半导体的引出线用尖嘴钳夹起来帮助散热。
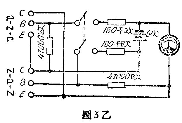
从上面所说,可见半导体的失效和损坏的可能性还是普遍存在的。在实际使用中,如对半导体的工作能力发生怀疑,可先用电子管电压表测量它的极间电阻(图1)。若测得结果与图示出入甚大,那就是半导体有了毛病。如条件许可,不妨进一步测试集电极电流的截止值。一般低增益和中等增益的半导体,集电极电流截止值不超过0.75毫安,高增益的也不致高于2毫安。测试线路见图2。如在基极上加偏压(图3甲),则就低增益和中等增益的半导体言,集电极的电流截止值可增加0.2毫安;高增益的可增加3毫安。如超过此值,有九成是半导体坏了。图3乙对P-N-P型、N-P-N型可两用,开关应经常放在“断”的位置。



有时半导体坏了,弄不清是P-N-P型还是N-P-N型,那末应将半导体自管座上拔下,用电子管电区表测试管座电压的极性。就正常情况言,N-P-N型的发射极对其它两极是负电位,P-N-P型是正电位。但应注意的是:半导体拔下后,仅发射极和集电极间的电压才能算数,因为工作电压是由偏压电阻决定的,半导体一旦拔下,集电极和基极或发射极和基极间的电压就是相等的,这样,就不可能从中发现问题。
至于半导体哪只脚是什么极,这里,介绍几种最常用的辨别法,以供参考。
1.从色点的位置来识别(图4),例如色点在右边,则自左至右,依次为发射极、基极和集电极。

2.从管脚距离的疏密来识别:这种半导体的三只脚中,两只距离较近。另一只较远。其中左边那只脚是发射极,中间为基极,远离的那只脚为集电极。
3.从色线的位置来识别:图中正对色线的这只脚为集电极,第二脚为基极,第三脚为发射极。
最后还应该指出一点,就是在检查半导体之前,应先测量其原用电池电压。因为电池电压不足,很容易招致灵敏度不足或振荡之类的现象,造成错觉。但根据经验,只要电池电压不低于额定值的2/3。还是可以正常工作的。(耳火)