陈全京同志是广东省邮电管理局的技术员,过去他因工被火严重烧伤久未愈,病中刻苦钻研,利用旧器材制成了无电源收音机,成绩较好,用材料经济,特介绍给读者们参考。——编者。
我制成功了一种“无电源收音机”这种收音机实际上是一种金属检波的收音机,现将该机试制情况介绍如下,以供无线电爱好者的参考。
无电源收音机是利用大广播电台附近空间,强电磁场储藏的电能而工作的。
不用电的收音机就必须注意三个主要的部分:第一收音机的本身、第二天线、第三地线。为了要提高收音机本身的效率,尽量减少损失,就必须有良好的线路,零件配合和输出匹配,其中较主要的部分,可以分为下列几点:
(1)线圈的制作
收音机本身效率良好与否,与线圈的良好与否有很大的关系,我所制作的线圈有几种,绕制方法如下:
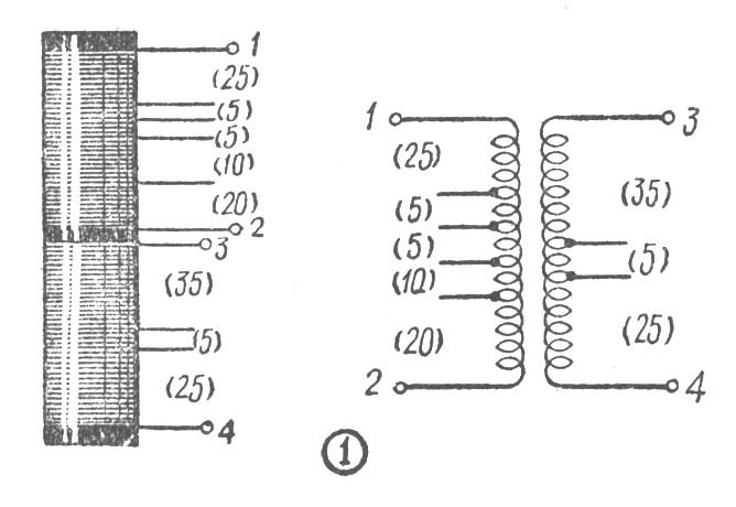
甲:在一个4.3公分直径的纸筒上,用30号漆包线密绕(紧交连)抽头方法和圈数,如图1所示。

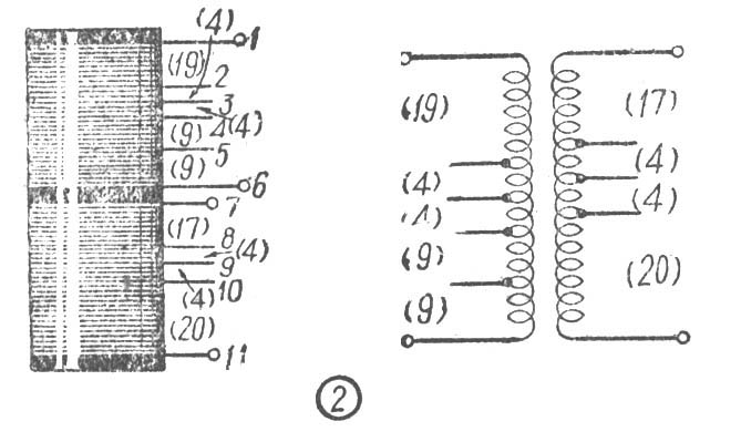
乙:在一个直径6.3公分的胶筒上,用19号漆包线密绕(紧交连),抽头方法及圈数如图2所示。

丙:在一个直径9.4公分的胶筒上,用20号漆包线间绕(即用双线绕好后,拆去一条)紧交连,抽头可用焊接法,圈数及绕法如图3所示。

上面三种线圈中,以丙种较好,因为它的筒径大,用线粗,且系间绕,因此Q值较大,损耗较小。但体积较大,不很美观。普通可采用乙种,因为乙种效率亦高,体积较小,制作也较容易。
(2)检波器
检波器是无电源收音机线路中的一个重要关键,最初我采用的检波器系矿石,后来我采用仪器用金属整流器,和两个矿石混合分别使用。即是接收较大电力的电台时,使用金属整流器,而接收较小电力的电台或某一电台时专用一粒矿石,但为了减低成本和减少调节手续起见可单用一个金属整流器(接法,半波,全波,桥式均可,但一般接桥式全波整流比较好一点)。检波器除上述的以外,好的当然还有,例如晶体管,此外硒片也可作检波器灵敏度比一般矿石都高,但须细心加工改造方能使用。
(3)输出配合和喇叭
这种收音机是没有放大作用的,它只靠天线上所输入的电能和尽量减少线路中的损耗,而提高效率,好好利用而已。但从天线输入的功率毕竟是极有限的,送到喇叭去的当然是更小了。因此在接收过程中的最后阶段,把电能转变为声能的效率问题,也就成为一个重要的问题了。
为了要解决这个问题,就必须注意到很好的输出配合,和采用高效率的喇叭。号筒式的喇叭,效率较高,但是不仅价格昂贵,且市面不易买到。为了减低成本和适合大众化起见,因此我就采用普通的舌簧式喇叭,以上海203号永磁式和广东省人民电台服务部出品的较好一点,其他市面出售的一般舌簧式喇叭,效率不高要加工修改。才能适用。本机线路如图4,当用线路图(1)的时候,输出变压器上,必须并联一个较大数值(约0.05-0.1微法)的固定电容器,但如采用线路图(2)的话,则该电容器,可以不用,或可随采用的喇叭按实际情况试验决定。


(4)天线和地线:
我采用的天线有二条,装成v形,即用二条26公尺的天线铜丝装成V形做水平部分。引入线是各约10公尺,高离瓦面约4公尺(愈高愈好)。使用时两条同用,如用单条亦可,但间有电台声音稍小一些。地线良好与否,对收音成绩也有极重要的关系。我的收音机地线是利用自来水管。
本机因为采用金属整流器检波,故效率很好,灵敏度甚高,(和晶体管检波差不多),在我住的地方,室内收音,当天气晴好的夜间,距离住房四十公尺还能听到声音,如将喇叭放到室外空地,则距喇叭五十公尺左右的地方,还能听到声音,白天收音,距喇叭20公尺左右,可以听清。本市(广州)四个电台均能收听。接收较大的电台时声音响亮,输出直流电压达11伏特,交流24伏特,(用一个舌簧式喇叭时测试情形)音量和日式四管交流再生式收音机不失真时的情形相似。(广东省邮电管理局无线电技木员 陈全京)