在1957年12月份,本刊发表了本文所提到的一篇“电睡眠器”译文后,部分读者曾来信询问它的具体制作和各种另件的数据。由于我们没有掌握具体资料,很难答复。本文介绍的是作者参考了那一篇文章以及国产电睡眠器后试制成功的,我们希望特别对于曾经来信询问具体制作的,部分读者有所帮助——编者
在总路线的光辉照耀下,我们也和全国的青年一样想把自己的智慧和力量献给伟大的党和社会主义。为了在党的生日这天向党献礼,在“七一”前我们发扬了敢想敢干的精神,克服了原来认为“我们二年级的学生基础课没有学完,又没有实际经验,一定搞不成”的思想,根据“无线电”杂志1957年第12期(总36期)所介绍的电睡眠器线路图并参照国内的产品,经过三昼夜的苦战终于试制成功了,制成后的机器见图片1、2、3。



电睡眠器基本上就是一个脉冲信号发生器,脉冲电流通过人的脑部刺激中枢神精,使人逐步进入生理睡眠状态以达到医疗的目的,制作过程大体是这样的:
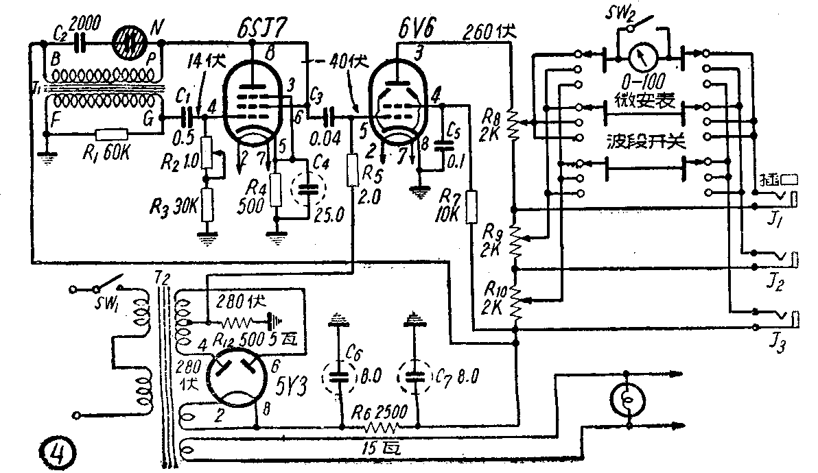
原线路图是由四个相同的振荡器和放大器组成,有四路输出,并且还有较复杂的测量系统,制作比较麻烦。我们制造的只是其中的一路,但是在输出端串联了三个电位器,因此可以供三个人同时使用;测量系统也大为简化,只用了一只普通0-100的微安表。
这架电睡眠器只用三只电子管(图4),6SJ7作脉冲振荡,6V6或6П1П作放大(照片2里用6ПlП),5Y3GT作整流。

图中各另件的数据已经注明,T\(_{1}\)我们是用的1:1音频变压器,也可以用1:2或1:3的。电位器R2是脉冲频率调节器,频率范围大约是每秒1.6-50周。N是普通试电笔里用的氖管,应该装在面板上,作为脉冲频率指示器。
电位器R\(_{8}\)、R9、R\(_{1}\)0一定要用线缆的,以免变值。这几个电位器是串接在高压回路里,而输出电极就直接从这几个电位器上接出,所以和电极接触的人不能再去碰触机壳,也不能将两组输出线同时去拿,以免电击。特别是管机器的人更要注意,要给病人戴好电极再开机(或后插塞子)。测量输出端电流用六刀三掷开关(波段开关)转换。
电极由输出插口用线接出,套在使用者的头部。正极(见图5)放在两眼眉上面一些,负极垫在后脑。正极用香蕉插座焊在直径2.5-3公分的铜片上,铜片厚1-2公厘,把插座固定在橡皮带上。负极用细软的铜丝盘好后用纱线缝在橡皮带上。橡皮带厚2-3公厘,宽40公厘,长度要能在头上围一周,用揿钮扣住。

使用时在各电极上先垫7-8层浸有0.9%食盐水的纱布。
这机器曾拿到北京邮电医院和他们的厂制电睡眠器作比较试验,效果不相上下。使用时我们先把输出电位器(R\(_{8}\)、R9、R\(_{1}\)0)由小开大(图中从下向上转),在微安表读数在10微安以上时,头脑发困,两眼无力,就想闭合,极不愿再和旁边的人交谈。在微安表读数超过20微安时,头脑开始发胀,和电极接触的表皮感觉很强烈的脉冲。建议一般使用时输出不宜过大。(北京邮电学院 韩进明 牛宝林等)