今年五一节,在南京市工业大跃进展览会展出了二种不同线路程式的,固定再生式及超外差式二灯收音机,机中电子管等全部另件皆是国产的,结构简单,效率较好,并可收听广播与放送电唱片二用,音质清脆宏亮,形式小巧玲珑。
其中第一种二灯收音机为固定再生式,它与一般五灯机一样,在收听电台时仅需转动一个调谐旋纽,不需再另外调节再生补偿。有良好的灵敏度和相当好的选择性。收听频率:广播段自520至1600千周。
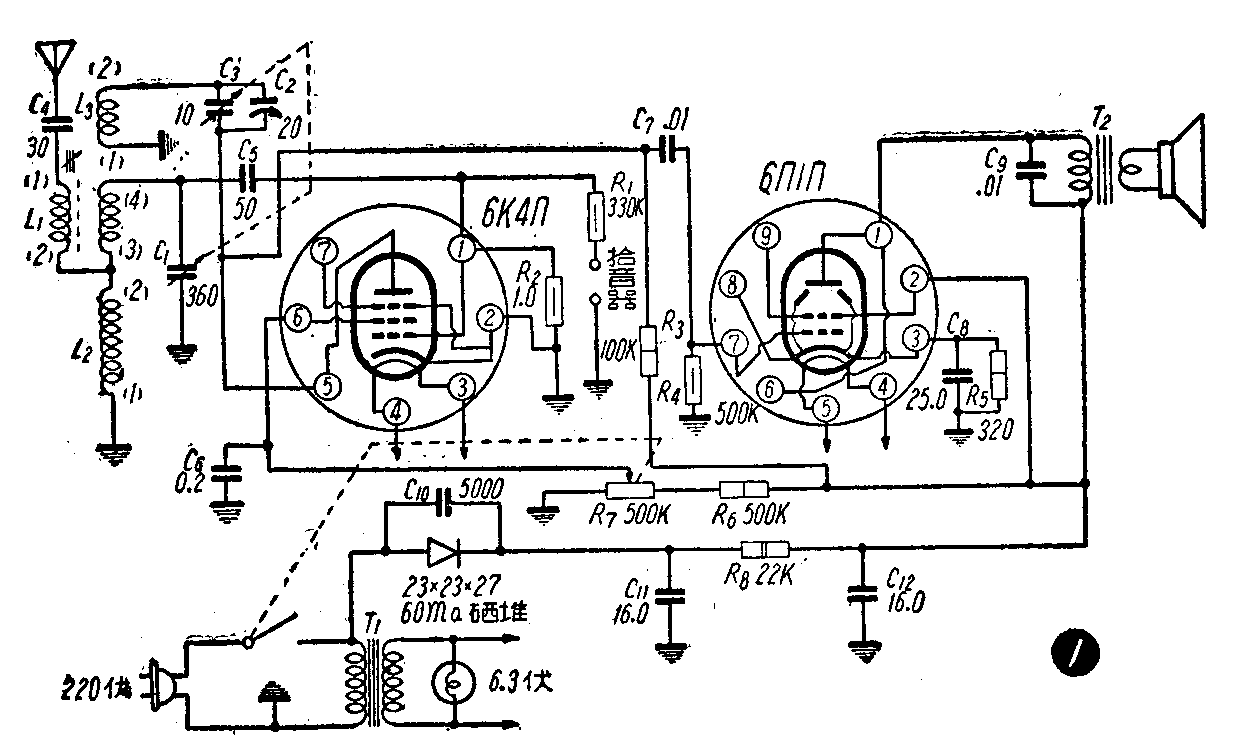
用一只五极管6K4П作固定再生式栅极检波放大,一只束射四极管6П1П作音频功率放大,一只硒片整流器作高压半波整流,实际是相当三灯机。线路见图1。输出功率:最大输出功率约0.4瓦。耗电最大不超过25瓦。音频响应:自200周至3000周,声压变化不大于14分贝。非线性失真:自200周至400周不大于12%,自400周至3000周不大于10%。拾音器插口灵敏度:不劣于0.2伏。天线:由于采用磁性铁粉芯线圈,故灵敏度较高,一般收听一百五十公厘之内的电台不需加装天线,仅需用二公尺天线引线垂直,发音已够宏亮,若加接十公尺户外天线便能收听远地电台。

因6K4П是五极管故电压放大量较大,该管跨导为4.4毫安/伏。其输入调谐回路结构较特殊,采用了直径七公厘、长五十公厘的磁性瓷铁粉芯,这就大大地增加了收音机的灵敏度与选择性,因此除了收听本地电台外,还能收听远地强力电台。绕法如图2所示。线圈管里面装入直径七公匣、长50公厘铁粉芯,这样线圈的Q值约有140左右,对灵敏度和选择性有很大的提高,铁粉芯在线圈管内可移动,以调节频率度盘刻度,调节方法是先将C\(_{1}\)调谐电容器旋至最大容量处,然后将铁粉芯移动(可用圆木推)至频率输出为520千周,再将C1调谐电容器旋至最小容量端,这时输出频率应为1600千周左右,如频率范围不符合时可拆绕L\(_{2}\)线圈,反则也可在C1调谐电容器上并联一只小容量补偿电容器,待频率范围调准后随即用二根直径8公厘的圆形木棒从线圈管左右两端插入,将铁粉芯在线圈管内固定位置,再用腊克将线圈管和圆木连接处胶牢,使铁粉芯不致移动。

固定再生作用是通过这样的方法形式的,即在主调谐云母可变电容器C\(_{1}\)后面再加装一组再生云母可变电容器C3,它是由一片定片与一片辐射状(亦谓花片)动片中间夹上一片云母片组成的,这组再生可变电容器与主调谐可变电容器是同轴转动的,实质上就等于一个不同电容量的双连可变电容器,不过片距小,容量大,因此它的面积、片数和体积皆可做得很小。固定再生的原理是将这个特殊的云母可变电容器旋转在好几个选定的频率位置上,利用改变辐射状动片上某分块片子与定片间的距离以获得对这些频率讯号所需要的再生电容量,亦即使它满足电子管作再生检波所需要的再生反馈系数;通过这一步校试工作后,就可使整个接收波段中的再生反馈系数在一定的范围内变化。通俗地讲,就是将整个波段的再生拉拉平,因根据讯号输入频率不同,同样再生程度需要不同的回输量,并经试验结果将C\(_{3}\)加装在C1主调谐电容器上同轴,跟随输入频率的变化而变化即可弥补再生不足和仰止再生过量的缺点。再生校准的方法是先将主调谐可变电容器(即C\(_{1}\)C3双连可变电容器)旋至1000千周处,调节C\(_{2}\)再生固定电容器至输出最大,然后将ClC\(_{3}\)双连可变电容器旋至1600千周处,如再生回输过量,则可将C3再生可变电容器近端的一片辐射状片子与定片距离拉开些,然后再自1000千周开始往520千周处逐次调节C\(_{3}\)动定片的距离,再生过量则片距拉开些,反之再生不足则片距靠拢些,这样再生回输量的曲线就随之平直了。这原理与超外差式收音机的统一调谐有些相近似。在校试调节再生电容量时,要注意避免达到临界反馈而产生再生啸叫与振荡辐射现象,因为收音机在实际收听时电源电压多少有些变化,另外电子管参量经过一些日子后也会有些变化,因此再生量要调节得宽余些,这里需注意,低频端的再生量应较高频端抬高些。
固定再生式二灯机的音量控制方法是通过改变检波放大管6K4П的帘栅电压来实现的。在校试调节再生时,音量控制电位器要开在最大的位置。
功率放大级6ПlП的电路与一般五灯机电路相同。
整流采用硒片整流器,这不但可节省整流管灯丝功率,并且有寿命长,工作快,成本低,无高温等优点。
本机采用五槅木板做底座,因灯丝变压器体积小,而双连可变电容器又是体积很小的云母可变电容器,所以木板代铁皮做底座对机械强度并无影响(但应指出,木板做底座对高频回路在性能上略受影响,但只须注意零件的恰当安排,接线的尽量减短便能消除以上的缺点,或者可在木板某些地方用小块薄金属片如铝皮,铜皮撬在木板上隔离即可),这样高压可由电源直接取之天线经过电容器耦合至输入回路,使用时也安全,并能省掉变压器高压组,不单降低成本,并且可为国家节省一些金属材料。

本机拾音器是从检波放大级6K4П的栅极输入作五极管的电压放大,再经功率放大6П1П输出,故音量较五灯机的拾音器输出要宏大,故可作小型晚会讲话与播送音乐之用,适合一般家庭,机关,俱乐部,农业合作社等场所使用。
本机体积为300×160×110立方公厘。业余无线电爱好者以及无线电生产单位若欲试制时,可以选用6SK7与6SN7或选用6K4П与6HlП同类型电子管。6HlП半个作功率放大,另半个可作整流管,可以省掉一只硒整流器,另外功率管选用6ЖlП将其五极管改接成三极管便能改用簧舌式扬声器,具体线路原理相似,所不同的是应该注意交流高压不宜超过200伏,以及电子管灯丝不能一端接地,否则会发生电子管损坏。
对于缺乏校试仪器的无线电爱好者,在调节固定再生时,仅需注意掌握反馈回授程度恰好达到将近振荡而还没有振荡时,再生式收音机的灵敏度为最高原则,那就可以自行调节再生量以满足一定的收音要求。(汪宝琦 郑世建)