超再生机实际上就是工作在间歇振荡状态下的再生式接收机。再生机在公尺波波段没有足够的灵敏度,而且在最高灵敏度的工作状态下,即在靠近振荡点工作时非常不稳定。超再生机在公尺波波段工作得比再生机稳定得多,同时灵敏度也非常高,在接收微弱信号时的放大率达几十万。
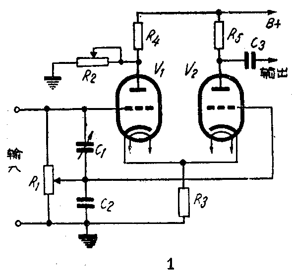
在介绍超再生机工作原理以前,让我们先来看一下再生机(图1)调谐回路中发生振荡的过程。

再生机中的振荡过程
我们知道,再生式收音机的再生(正回授)作用等于减小调谐回路的电阻,也就是在调谐回路中引入一个“负电阻”。如果引入的“负电阻”等于调谐回路的损耗电阻,那末回路的总电阻便等于零,回路中便产生不衰减的高频振荡。
当再生机刚开时,回路中的振荡幅度开始增大,增大的速度跟回授量的大小有关(见图2中1到2的一段);等到把机器关掉,回路中的振荡幅度开始逐渐减小以致停止,减小的速度并不等于增长的速度,而决定于回路的品质因数Q(图2中3到4的一段)。

再生机产生固有振荡的原因是被某一微小的起始电压UO所激励而引起的,这个起始电压可以是刚接通电源时的电冲击,可以是频率等于调谐回路谐振频率的外界电压,也可以是在电路中始终存在的、由导体中电子热骚动所产生的微弱电压——噪声电压。因此,可以肯定,不管起始电压来自何处,调谐回路中一定会产生固有振荡。
从再生机变成超再生机
如果在栅极上加一个频率比固有振荡频率低得多的电压u\(_{2}\),如图1中虚线所示。当电压u2在正半周叶,栅偏压减小,电子管运用点移到特性曲线上互导很大的部分,再生机便产生固有振荡。当电压u\(_{2}\)在负半周时,栅偏压增高,运用点移到特性曲线上互导较小的地方,再生机便停止振荡。由此可见,在电子管的栅极上加一个交变电压,使电子管的偏压增大或减小,即改变电子管的运用点,便能控制固有振荡的产生和熄灭。我们称这种间歇振荡的再生机为超再生机,控制电压u2为熄灭电压,而称熄灭电压的频率为熄灭频率。
超再生机的工作原理
为便于讨论起见,假设所加的熄灭电压为矩形电压(图3,甲)。当熄灭电压在正半周时,作用在电子管栅极上的栅偏压不大,并在正半周内保持恒定的数值,如果这时外界没有信号输入,固定振荡就在噪声电压的激励下发生。作为起始电压的噪声电压愈大,所发生的振荡也就愈强。由于噪声电压是杂乱没有规则的,在每一瞬间的数值都不相同,因此在各个正半周内所发生的振荡的幅度也不相同(图3,乙)。当熄灭电压转换到负半周时,作用在栅极上的偏压变得很大,自激条件被破坏,振荡使消失。这样,超再生机便按照熄灭电压的频率出现许多幅度不同的高频固有振荡(超再生振荡),它们经检波后成为大小不同的脉冲(图3,丙实线)。这些脉冲本身经过耳机时是听不到的,因为它的重复频率等于熄灭频率,而熄灭频率通常是超音频。但是脉冲的平均值(图3,丙中以虚线表示)变化得较慢,因而在耳机中能听到咝咝声——超再生噪声。

当输入信号大于噪声电压时,超再生固有振荡就不再由微弱的噪声电压引起,而是由较强的输入信号引起。这样,超再生振荡的最大振幅便决定于输入信号的幅度,即按照输入信号的波形而变化(图4,丙),而检波后的脉冲的平均值(图4,丁)也随信号的波形而变化,于是在耳机内便能听到所传送的信号,而超再生噪声则被压下去了。

超再生机在正常的工作状态下,即使输入信号的振幅只不过几微伏,但是超再生振荡的振幅却可以达到几伏,也就是说超再生机的放大率达几百万,而且放大率和电子管的放大特性没有多大关系。
超再生机有两种,一种是用独立的振荡器来产生熄灭电压的,另一种是由本身来产生熄灭电压的,称为自灭式超再生机。自灭式超再生机简单、经济,效果良好。
自灭式超再生机
自灭式超再生机的典型电路如图5所示,它没有回授线圈,回授是利用电子管极际电容来实现的。从图中可以看出:电子管屏一阴极际电容C\(_{p}\)k和栅一阴极际电容Cgk构成了回授电压的分压器,回授的大小决定于电容C\(_{p}\)k和Cgk的比值。熄灭电压由数值很大的栅漏电阻R\(_{1}\)和珊极电容器C2产生。

当产生振荡时,在电子管的栅极上便出现一个交变电压,引起栅流,使电容器C\(_{2}\)充电(接栅极的一端为负)。由于回授很强,振荡的幅度增大得很快。又因为电容器C2的容量很大,电容器充电的速度很慢,以致振荡幅度能在栅极因电容器C2充电而获得显著的负偏压以前就达到稳定值。换句话说,在自灭式超再生机中,振荡幅度的整个增长过程几乎是在栅偏压为零的情况下进行的,所以振荡的幅度很大。
随着振荡幅度的增大,栅流也跟着剧增。当振荡幅度达到稳定值以后,电容器C2便开始迅速充电。结果栅偏压也迅速增加,直到自激振荡被破坏,振荡开始衰减为止。
振荡开始衰减后,栅流便没有了。电容器C\(_{2}\)便通过电阻Rl放电。随着电容器C\(_{2}\)的放电,栅偏压便逐渐减小,电子管运用点的互导增加,因此当栅偏压减小到某一数值时,又能重新满足自激振荡的条件,输入信号又能引起超再生振荡。
输入信号的幅度愈大,则它引起超再生振荡的作用就愈强,下一个超再生振荡就发生得愈早。超再生振荡增大至最大值所需的时间决定于栅流使电容器C\(_{2}\) 充电的时间,因为电容器C2上的电荷绝大部分是在振荡幅度达到最大值以后累积起来的。因此,很明显的,超再生振荡经检波后所得的平均值(图6,丙)跟超再生振荡的重复频率有关。重复频率愈大,检波后所得脉冲的平均值愈大,重复频率降低,脉冲的平均值也减小。结果所得的低频振荡的波形并不完全和输入信号波形相符,有若干非线性失真,但是它的工作稳定,且有自动增益控制的作用(输出低频电压的幅度几乎并不依赖于输入信号的幅度),效果不差,因此常为无线电爱好者所采用。(朱邦俊)
