在本刊以前各期的“收音视制作讲座”里,对各式常用收音机电路的原理和制作方法,已作了比较全面的叙述。从本期起将谈一些收音机里的特殊电路,这些电路虽然在大众化的收音机里不大用到,可是在中级和高级的收音机里却是常常采用的。
(一)调谐指示管电路

调谐指示管是用来指示收音机的正确调谐的,又叫做“电眼”。现在中级以上的收音机里都普遍地装有电眼,像国产“东方红”牌,“远程牌”等较好的收音机里都装有一只电眼。因为新式的超外差式收音机里都装有自助音量控制电路(见收音机制作讲座第七讲),能使收音机在所接收的频率附近保持近于恒定的低频输出电平。因此收音机是否正确调谐在所接收的频率,或是偏调在所收频率的一侧,就不大容易由输出音量的大小来判别。当收音机正确调谐在所接收的频率时,由天线进入调谐电路的高频信号电压最强,经高、中频放大级以后,进入第二检波管而产生的自动音量控制电压也最强。由于自动音量控制电压的作用,使高、中频电波的放大作用减低,结果使第二检波输出的电压减低,输出音量减小。而当收音机偏调在所接收频率的一侧时,由天线进入调谐电路的信号电压比较弱一些,自动音量控制作用相应地减弱,使高、中频放大能力增强,结果第二检波输出的低频电压并没有显著的减小,以致很难从收音机的音量大小来判别是否正确调谐在所接收的频率上。图1是收音机调谐在所接收频率附近时的音频输出曲线。甲是无自助音量控制时的曲线,乙是有自动音量控制作用时的曲线。从曲线乙可以看出,在正确谐振频率左右很大范围内,收音机的输出音量基本上是保持不变的,当然就无法从声音的大小来分辨出正确的谐振点了。
可是当收音机未正确调谐好时,虽然音量大小并没有显著差异,但所收信号的上边带或下边带被削减了,使音质变坏,非常难听。为了保证收音机的音质,必需正确地调谐在所接收的载波频率上。因此较好的收音机里都装有调谐指示器,用视觉来鉴别正确的调谐点。
调谐指示器的基本原理是这样的:有自动音量控制电路的收音机,当调在正确频率上时,信号电压大,自动音量控制电压也大,中放管的屏流小。而偏离正确频率时情况就相反。因此从收音机里的自动音量控制电压或中放管的屏流大小上就可以看出调谐点是否正确来。


电眼就是用来指示自动音量控制电压的大小的,因此也就具有指示调谐的作用。它的最大优点是价钱便宜,装置简单,靠荧光指示调谐,没有机械的运动,所以不容易磨损。图2是我们收音机里最常用的6ESC电眼的构造。在管的下方是一只普通的三极电压放大管,1是阴极,2是栅极,3是屏极。在三极管的上方有一个金属杯4,叫做电子靶。在靶的内壁涂有荧光层,在遇到从阴极飞来的电子撞击后能发出美丽的绿色荧光来。在阴极的一侧,阴极与金属杯4的内壁之间有一个控制电极5,是和下方的三极管屏极3相连的。当三极管屏极上的电位比电子靶的电位低时,控制电极能挡住一部分由阴极飞来的电子,使它射不到靶上,因此在靶上给控制电极所遮住的部分留下一个扇形的阴影。控制电极的电位愈低,阴影的角度就愈大(见图3甲)。电位逐渐升高时,阴影逐渐变狭成一条狭线或甚至重合(如图3乙)。圆2中的6是小金属帽,用来遮住阴极中央灯丝所发出的红光,7是金属帽的支柱。8是用来限制电子靶上电流的小栅极。这种调谐指示管装置时是横装在收音机的刻度盘上方,管顶向外,使容易看到电子靶上的荧光层。图4是最常用的调谐指示管6E5C的线路和管座接法。电子靶直接连到乙电正极,三极管的屏极则经过一兆欧的电阻以后才接到乙电正极。因此当三极管有屏极电流时,在该电阻上产生电压降,使屏极电位低于电子靶电位,在荧光层上留下阴影。三极管的控制栅极接到自动音量控制电压上,当自动音量控制电压负性增大时,三极管的栅极电位变得更负,屏流减小,一兆欧电阻上的电压降也减少,屏电压升高,控制电极的电压也升高,控制电极阻挡电子的作用减小,荧光屏上的阴影就逐渐变狭。直到栅负电压增高到使屏流切断时,阴影减狭到消失。像图4的调谐指示器线路可以加接到任何超外差式收音机上,只要加接4根导线(6.3伏的灯丝,地线,乙电正极和自动音量控制电压接线)就行了。


有些欧洲式的调谐指示管具有两组黑影,一级较灵敏,另一组则不很灵敏,需要很高的负电压才能合拢,可以用来分别指示粗细调节。黑影的形状有像图5甲的,也有像图5乙的,但作用都一样。这类调谐指示管内具有两组三极管和控制电极,其中一个三极管的屏极面积较大,栅极也较密,屏流很容易截断,黑影容易合拢,是灵敏组;另一个三极管的屏极面积很小,栅极也较疏,是不灵敏组。两组三极管的栅极是连在一起的,只要接一个自动音量控制电压就行了,接法和图4差不多。这类电子管有EM11,EM34等。还有北京电子管厂生产的6E1П小型花生式调谐指示管(见本刊上期报道),荧光幕不在管顶而在管的侧面,占地很小,适于装在小型收音机上使用。
(二)自动杂音抑止电路
所谓自动杂音抑止电路并不是能把所有的杂音都消除,它只能把高于一定电平的杂音抹掉。至于和所收信号混在一起强度差不多的杂音则没有去除的效力。杂音抑止电路的重要功用是把突发性的强大杂音脉冲如雷电干扰,汽车火花干扰等去掉。最简单的自动杂音抑止电路,是装在收音机的第二检波部分。当杂音高于预定的电平时,能使第二检波管短路,没有音频输出。
图6里的D\(_{2}\)就是作杂音抑制用的。D1是一只普通的第二检波二极管。我们知道从中频变压器出来的信号电压经D\(_{1}\)检波以后,就在负荷电阻R1上产生含有音频成分的直流脉动电压,左端负,右端正(在图中注明)。可是这直流电压的负极经中频变压器的次级接到D\(_{2}\)的阴极上,而D2的屏极则经R\(_{2}\)通到地线,经地线和R1上电压降的正极相通。既然R\(_{1}\)上电压降的正极接在D2的屏极,负极接在D\(_{2}\)的阴极,符合D2内部电子流的方向,假设在D\(_{2}\)电路里不另外有其它相反电压的话,那么D2就会经常导电。在D\(_{2}\)导电以后,内阻比起R1来是很小的,基本上把R\(_{1}\)短路,没有低频输出电压了。可是实际上(图6)在D2的电路里另外还有R\(_{2}\)上的电压降,它是使D2的屏极呈负性的。因此在R\(_{1}\)上的电压未超过R2上的电压以前, D\(_{2}\)就不能导电,仍然有低频输出。 R2上的电压是可以调节的,把它调节到比R\(_{1}\)上正常最大信号时的电压降还大一些,也就是说,在正常最大信号时,D2不会导电。可是当杂声信号过强,超过正常最大信号的电平时,R\(_{1}\)上的电压降就比R2上1、2两点间电压还要大,抵消了1、2两点间的电压,使D\(_{2}\)导电,而D1被短路,这时就没有音频输出,喇叭里听不到强烈的杂声了。这就是杂声抑制器的基本原理。R\(_{2}\)是一只可变电位器,可接在乙电的负极电路里,用来供给杂音抑制器的偏位电压(即不使杂音控制管D2导电的反电压)。


这种杂音抑制电路也可以接成串联,像图7一样。调节起点控制电位器使D\(_{2}\)的屏极通过250千欧的电阻而带适当的正电压,因此在正常情况下D2是导电的,音频电压经C\(_{1}\)、D2、C\(_{2}\)而接到后面的低频放大级去。可是当过强的杂声信号来到时,由于D2的整流作用,使250千欧电阻上产生很大的负电压降,抵消并超过了起点控制电位器上的正电压降,而使D\(_{2}\)不能导电,音频电压不能通过D2而达到C\(_{2}\),因此没有低频输出,杂声就听不见了。
还有一种简单的杂音抑止电路是利用两只二极管(D\(_{1}\)、D2)巅倒连接如图8,可接在音频放大管的输入电路里,每只二极管电路里都串联着一个偏电压E\(_{1}\)或E2,因此在正常情况下D\(_{1}\)和D2都是不导电的。E\(_{1}\)和E2的电压相等但极性相反。当杂声电压的强度超过E\(_{1}\)或E2时则正半周时就抵消D\(_{2}\)的偏压E2,使D\(_{2}\)导电;负半周时抵消D1的偏压E\(_{1}\),使D1导电。既然D\(_{2}\)和D1交替地在正负两半周导电,那就等于把输入电路短路了,因此杂声就不会被音频放大管放大,不会在喇叭里发出噪声了。

(三)无噪自动音量控制电路
无线电爱好者对自动音量控制电路大都已非常熟悉。它可以消除衰落现象。可是当收音机未调到一家电台。还未收到信号的时候,输入的信号最弱,几乎等于零,因此收音机的放大力最强,把天线收进的杂声电压也都放大了,在喇叭里发出非常讨厌的噪声,这是一般自动音量控制电路的缺点。

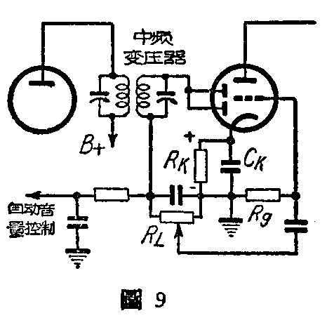
无噪自动音量控制电路就是为了消除这种噪声而设计的。最简单而又很有效的无噪自动音量控制电路是在二极管第二检波电路里加入一不大的负电压,使二极管的小屏呈负性。这负电压比一般杂音电平略高,因此在未收到一家电台时,杂音电波不能使二极管的屏极呈正性,不能发生检波作用,喇叭里寂静无声。但在调到一家电台以后,电台的载波电压比二极管电路里的负电压高,在正半周时使小屏带正性,因此可照常起检波作用,而在喇叭里发声。图9就是这种无噪自动音量控制电路,结构非常简单,基本上和一般的第二检波电路一样,只是把二极检波电路的负荷电阻R\(_{L}\)从阴极改接到地线,使RK串联在二极检波电路里,利用R\(_{K}\)上的电压(原来是只作自给丙电压用的)来加在小屏上,使无信号时小屏上具有负电压。这电压可叫做抑噪电压。在未调到电台时杂声电平绝对不会比RK上的电压还要大,可保证喇叭里寂静无声。这样的无噪电路有一个缺点,就是当电台信号强度比二极电路里的负电压超过不多时,会产生极严重的失真现象,因为载波的下半部和较弱的信号都被抑噪电压抑制住了,只有当电台信号比抑噪电压大得多的时候才不会发生失真现象,最好是把R\(_{L}\)接到RK上的一个活动抽头上,可随时调节抑噪电压的大小。

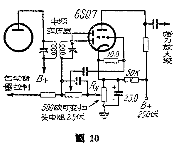
现在流行的收音机都采用6SQ7作第二检波和电压放大,用栅漏来产生自给丙电压,阴极是直接通地的,因此图9的线路就不适用了。在图10里介绍一种采用6SQ7的无噪电路,只要把一般电路略加改动,加接一只5瓦5万欧的电阻,并在阴极电路内接入一只有活动抽头的线绕电阻R\(_{N}\)和25微法的电解电容器并联就行了。抑噪电压可利用RN来调节,最大值约为2.5伏,最小值为零(即取消了抑噪作用)。读者如实际照样试验一下的话,一定会发现无噪自动音量控制电路在寻找电台时确实安静得多,听起来非常舒服。不过如果抑噪电压用得太大的话,可能会使一些远距离小电台完全听不到,这时可适当减小R\(_{N}\)的阻值,不只要不遗漏小电台,而且还要使小电台也不失真才好。(罗鹏搏)