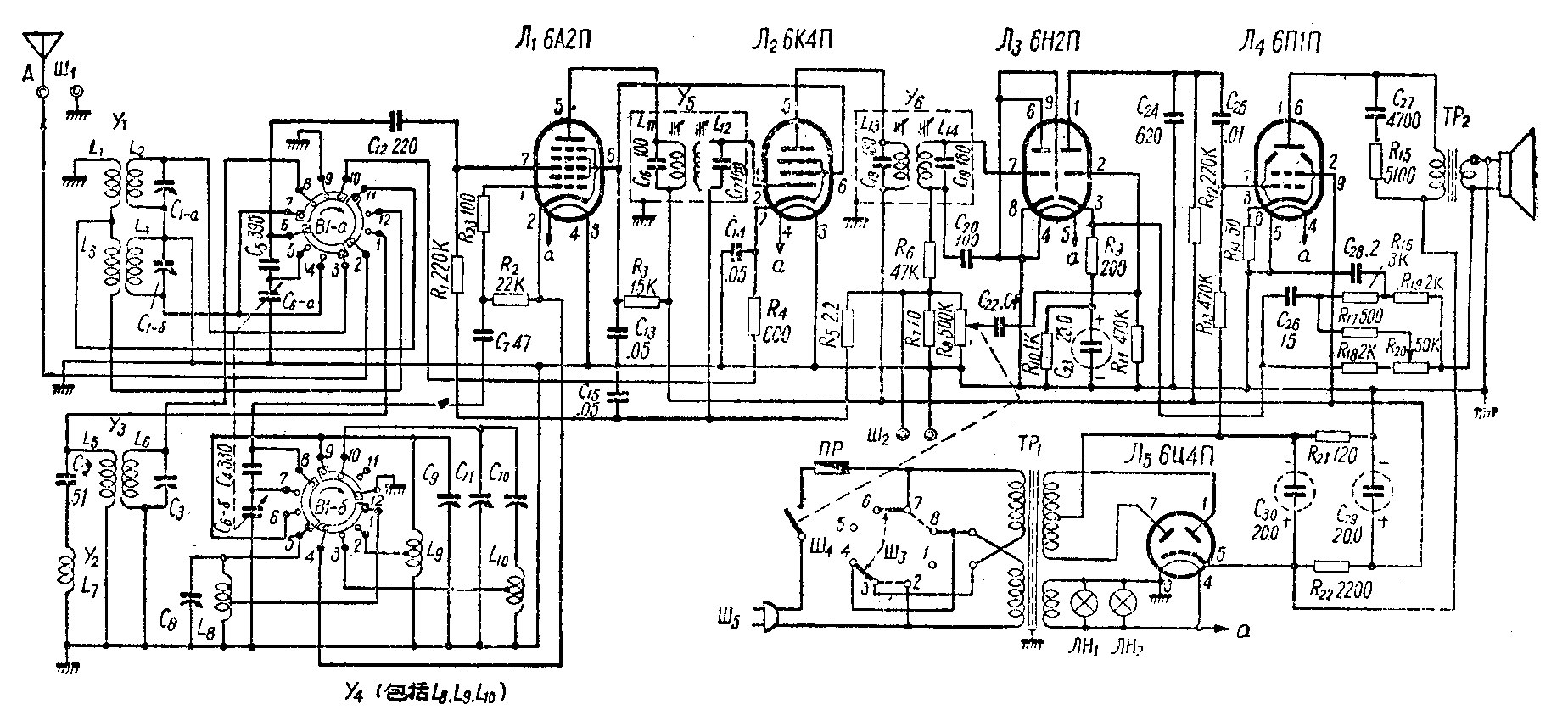
本机是交流三波段超等外差式收音机,在热带及亚热带气候环境中可连续使用8小时,能收听国内外调幅广播电台之各项播音节目。并装有拾音器插口,可播送唱片。
本机使用110伏或220伏交流市电,电力消耗约40瓦。

使用电子管6A2П变频,6K4П中频放大,6H2П 音频检波,放大及自动音量控制,6П1П功率放大,6Д4П整流。
收听频率范围:广播520—1600千周;短波一5.8—8.0兆周;短波二8.0—16.0兆周。(国营南京无线电厂出品)

熊猫牌506型五灯中短波收音机
本机是交流三波段超等外差式收音机,在热带及亚热带气候环境中可连续使用8小时,能收听国内外调幅广播电台之各项播音节目。并装有拾音器插口,可播送唱片。
本机使用110伏或220伏交流市电,电力消耗约40瓦。

使用电子管6A2П变频,6K4П中频放大,6H2П 音频检波,放大及自动音量控制,6П1П功率放大,6Д4П整流。
收听频率范围:广播520—1600千周;短波一5.8—8.0兆周;短波二8.0—16.0兆周。(国营南京无线电厂出品)
