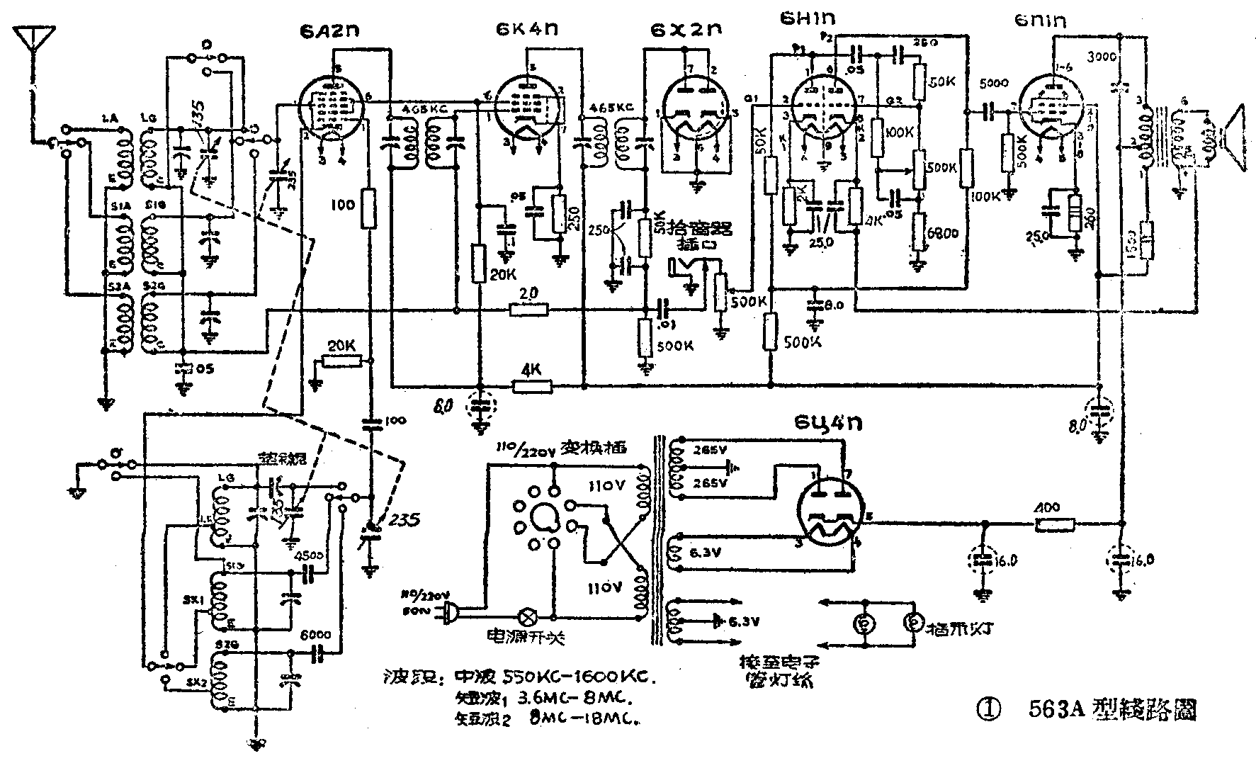
563A和562A型6灯超外差式收音机是公私合营上海无线电器材厂的产品之—。它的主要特点是具有高低音频提升线路,配接4.5欧200公厘的永磁喇叭,高低音都很丰富。这两种收音机的外形和内部结构基本是一样的,不过前者是三波段后者是两波段以及高低音提升线路略有不同。562A型现已停止生产。

一般性能:1、灵敏度:中波和短波不劣于300微伏,拾音器不劣于200毫伏; 2、收听波段: 563A为550-1600千周, 3.6—8和8-18兆周;562A为500-1600千周和3.9-12.1兆周。 3、输出功率:最大输出约3瓦,输出小于2瓦时,失真度小于7%;4、功率消耗:小于50瓦;5、高低音提升范围:在70周和8000周时约较500周提升15分贝。
563A型高低音提升线路如图②。当音频信号从左半只6H1П的屏极输出经电容器C\(_{1}\)交连到右半只6H1П的栅极G2去时,就分成两条支路。一条由C\(_{2}\)和R2到G\(_{2}\),另一条由R1和R\(_{3}\)的旋臂到G2。当R\(_{3}\)旋向上时,高音频通过阻抗很小的C2经R\(_{2}\)到达G2,它的电位因C\(_{3}\)对高音频的大量旁路而显得很低;低音频由于C2的存在只能由R\(_{1}\)通过加到G2,C\(_{3}\)的阻抗随频率降低而升高,R3的作用就显得比较显著,因此G\(_{2}\)上的电位远比高音频时为高,也就是说高音频被衰减,低音频被提升了。当R3旋向下时,C\(_{3}\)被短路,加到G2上的高音频是R\(_{3}\)、R4两端的电位差,由于R\(_{3}\)的阻值很大,高音频提升得很高,而通过R1、R\(_{4}\)加到G2上的低音频仅是R\(_{4}\)两端的电位差,相对的说,低音频衰减得很大。变动R3就可以改变和获得各种高低音调。

562A型的音调控制线路如图③, 这个线路的衰减频率固定在500周左右,变动R\(_{4}\)的位置,仅能增减低音频,显然比不上563A型的完善。

这两种机器都采用负回授,在500周时回授量约6分贝。
读者们如果仿制,输出变压器可用20平方公厘的日字型硅钢片,先绕初级,用英规38号漆包线1到2绕100圈,2到3绕3500圈;再用英规25号漆包线4到5绕6圈,5到6绕92圈作次级。(程维昌)
