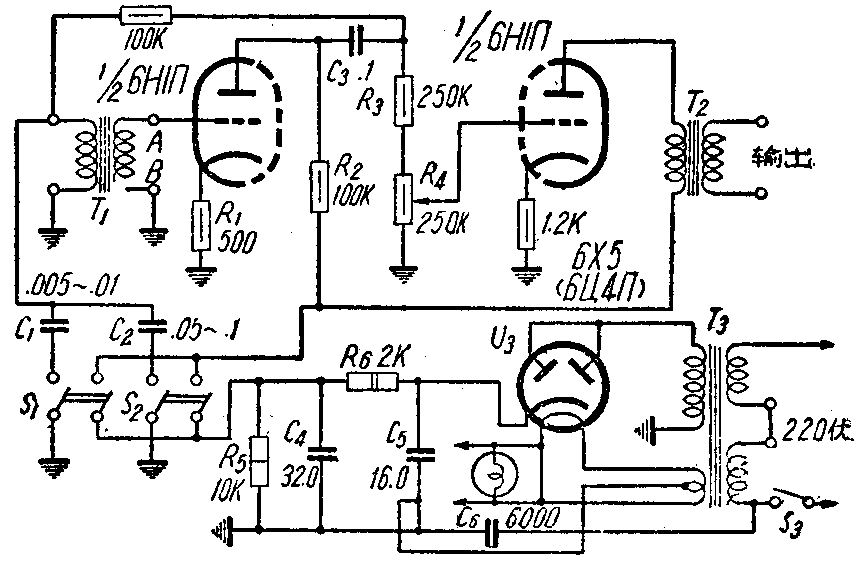
农村有线广播站在播音当中如每隔一小时能报时一次,农民是非常欢迎的。这里介绍的手动报时机,只要值机人员按时扳动开关,就能送出两种高低不同的报时信号。
这种报时机实际上是一只低频振荡器,用\(\frac{1}{2}\)6H1П作振荡,另1;26H1П作低放,6Ц4П整流。输出音频电压由R\(_{4}\)控制。输出阻抗是600欧,输出音频电压最高约6伏。
每次报时前两三分钟,将电源开关S\(_{3}\)接通,离标准时间约8—10秒时,先将S2以均衡速度断续接通数次,这时振荡频率较低,表示预备报时。然后按标准时间正点接通一次S\(_{1}\),这时振荡频率较高,表示正点。

图中几个变压器的数据是:T\(_{1}\)用一般5灯机输出变压器铁芯,初次级均用0.14公厘漆包线绕800圈。T2铁芯与T\(_{1}\)相同,初级2,600圈(0.11公厘漆包线),次级500圈(0.14公厘线)。T3铁芯截面积约34平方公厘,初级两组,每组1342圈(0.25公厘线),次级高压3,000圈(0.14公厘线),次级低压76圈(0.32公厘),38圈处抽头接地。
装后如果不起振荡,可将T\(_{1}\)的A、B两头对换一下。
用Ty250/1000型机时,输出可接到控制台的转播输入线路#1或#2上。其它机器,可经衰减器由唱头插孔输入。(李孟林)