把普通收音机改为既能收音又能兼作自播节目、转播节目及通话用,是目前各地广播站出现较多的一种技术革新,这里介绍的“星火牌”母子收音机,是黑龙江广播管理局和哈尔滨广播器材厂共同研究制成,可作为一个代表——编者。
1.概述
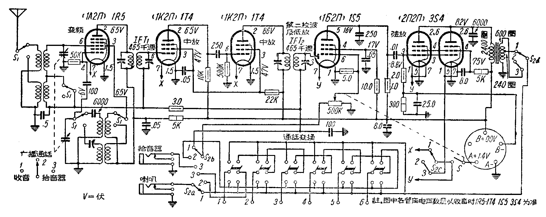
本机是以一架2波段5灯直流超外差式收音机为基础而产生的,至少可带20只舌簧喇叭。如输出电压适当降低,则可带40-80只喇叭。每只喇叭可供数十人收听。这种收音机采用了省电的电子管(图1),最好配用半导体温差发电机,不仅可以供给收音机电源,还可用来照明。

2.用途
甲、可把收到电台的节目转送给20个以上的听户。
乙、可用来举办当地的自播节目。
丙、可用来向各个听户进行通话,通话时不仅双方能听,如果需要也可使其他听户听到。因此,利用这种收音机,可组成20个以上听户的通话系统,或开会议电话。同时,通话时可直接利用喇叭讲话,不需另备话筒,操作简单。
丁、在无电地区,也可用来播送唱片。因为唱机是两用式的,可以用它向机器输入唱片信号,也可直接听到所放唱片的声音。
3.电气性能
甲、电子管:使用线路图中括弧内的国产电子管时,线路和输出变压器规格须有若干变动。
乙、收听频率:中波550—1,600千周(187.5- 545.4公尺),短波6-18兆周(16.6-50公尺)。
丙、输入电平:收音:中波300微伏。广播通话:0.05伏(-23.8分贝)。拾音器:0.05伏(-23.8分贝)。
丁、额定输出:输出电压10伏,输出功率0.2-0.4瓦。
戊、选择性:偏调10千周,衰减不低于23分贝。
己、非线性失真:800周时,小于6%。
庚、频率响应:120—3000周不大于6分贝。
4.工作原理
甲、收音:收音时与一般5灯直流收音机一样,末级只有一只3S4工作,另一只灯丝电源被S\(_{2}\)切断不工作,收音机分6路馈送给各用户。
乙、广播通话:广播通话时,收音部分电子管1R5、1T4、1T4灯丝电源被S\(_{2}\)切断不工作,由1S5和2只3S4并联组成一个小型放大器.利用收音机上的喇叭向各听户讲话。
当任何一路线路上的听户要讲话时,只须将这一线路的通话交换开关扳向下,这一线路就被接到机器的输入端,而其它线路和收音机上所附带的喇叭都接在机器的输出端。
丙、拾音器:在放唱片时,机器工作情况和广播通话一样,不同的是拾音器插口被S\(_{2}\)接入机器的输入端,各线路和机器所带喇叭被接在输出端。(黑龙江省广播事业管理局广播网管理处供稿)