典型收音机电源的设计
收音机的音质完美与否,主要决定于音频放大级(从检波二极管起到扬声器止的那部分)和电源整流级,其他部分关系是比较少的。整流级输出直流的纯粹度决定了收音机交流哼声的大小和低音(倍司)的完整程度,根据实际情况,丰富壮丽的低音在音频频谱中的位置是40—120周,这刚巧是交流市电的基频(50周)和它的二次谐频(100周)影响最大的范围。因此,要想发出很好的低音必须使收音机内部的交流哼声特别是电源的交流纹波的影响降低到不可觉察的程度。它的标准是当收音机不接收外来信号(可以把天线接线柱与机壳短接)和音量控制旋钮旋在最响的位置时,距离扬声器一尺远应该听不见交流哼声。由于各种扬声器对低音的响度不同,对电源整流器输出纹波率的要求也就不一样,例如普通125公厘口径的永磁动圈式扬声器即使装在大型的机壳内,对于150周以下的音频还是很“麻木”,最好的200公厘扬声器发音的下限约70—80周,优等的300公厘口径的扬声器可以发出40周的低音,而这些还都假定扬声器是放置在具有很好助声作用的大型木箱内的。因此不难看出,装有口径在200公厘以上扬声器的大型收音机,对于它的电源部分要求就很高,末级强放管电源的纹波率,推挽式的应在0.3%以下,单管的约在0.1%左右,前级音频放大管电源的纹波率,每推前一级可以拿0.1%作标准降低一个后面放大管的放大倍数。一般强放管的放大倍数约15左右,前级音频放大管有两种:一种放大倍数约40—50的6SQ7类型(6SL7、6H2Π、6SF5),另一种是放大倍数约14的6SN7型(6H1Π、6J5)。例如有一架收音机,它的音频放大共三级,第一级6SQ7,第二级6SL7倒相,末级2×6V6推挽,巳知6V6屏极和帘栅电源的纹波率要求为0.3%,那么6SL7为0.001/15,6SQ7为0.001/(15×40)。设计时,前级各放大级电源纹波的降低,可以用电阻电容式滤波电路来达到目的。
为了降低电源整流器的制造费用,应尽量用大的滤波电容量和小的扼流圈(电感量)。当然这也是有一定程度的限制的。因为太小的电感量,配太大的电容量会影响整流管的寿命,而且许多电容器并联使用(例如每组32微法,要8微法的电容器4只并联)也不方便。

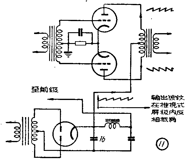
五极管和集流四极管有一个特性,就是它们的屏流在正常的帘栅电压下,受屏压变化的影响是很小的,也就是说如果帘栅电源直流的纯粹度很高的话,屏极电源即使有些纹波特别对于推挽式线路,是没有什么影响的。由于电源供给的最大负荷是末级强放管的屏流。因此我们可以利用这个特性将滤波电路做成双节式,第一节扼流圈的电感量可以很小(例如2亨),用来供给末级管强放的屏电源,第二节扼流圈的电感量较大,供给强放管的帘栅和其他各级的高压,这样虽然要用两只扼流圈,但是总的容量不大,效果比用单节的要好得多。如果强放级是推挽式并且输出变压器做得很对称的话,即使屏电源直接由第一只输入滤波电容器接出(图11),交流哼声的影响也是很小的,这是因为电源中纹波引起的微小的屏流波动对输出变压器的次级来说是大小相等,方向相反,可互相抵消不起作用。
上面是以高级的大型收音机作对象,如果是小型台式收音机,使用的扬声器口径在165公厘以下,那就不必像上面所讲那样考究。这类收音机对100周的交流哼声的响应非常差,高压电源的纹波率能降低到0.5%左右也就可以了。前级音频放大管(多数是6SQ7类型管子)的屏压加一级由50千欧电阻和1微法电容器组成的阻容滤波电路,可以得到满意的效果。
设计一具好的电源整流器,要考虑下列几个问题:1.需要供给的直流电压和电流,2.收音机末级强放管和线路的情况——单管还是推挽?3.有几级音频放大?4.工作时负荷电流变化的程度,5.工作环境的散热情况。

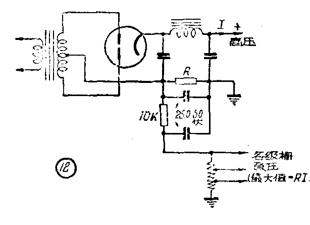
需要供给的直流电压是指收音机中屏压的最高值。普通收音机末级电子管多用6V6或6Π1Π,最高电压约250—285伏;有些大型收音机中放大管的栅负压,是由接在整流电源负极回路里的电阻上所产生的电压降供给的(图12),在这种情况下,最高直流电压应当是电子管的最高工作屏压加上栅负压。收音机在工作时由于自动音量控制和强放管屏流的变动(例如大型机末级是甲乙1类放大时),整流器用电容输入式滤波时,输出电压的变化很显著,在设计这类电源时应先求出负荷电流的最大和最小值,再由所用整流管的输出特性曲线求得输出直流电压变化的百分比。如果电压变化超过一定范围时会给收听短波广播造成困难。收音机的线路和电子管确定后,可以按下列程序进行电源的设计,首先算出各个放大管的屏流和帘栅流(如果使用泄放电阻的话还要加上泄放电流),由音频放大级的情况(推挽的或单管的)决定输出直流中的容许纹波率,决定滤波电容器和扼流圈的容量,由总负荷直流和扼流圈电感量设计滤波扼流圈,由扼流圈线圈的直流电阻(根据绕制扼流圈所用铜线的粗细和长度在有关的电工手册中均可查得)和负荷电流求得扼流圈上的电压降,将求得的电压降加上需要的直流输出电压,根据所用整流管的输出特性求出电源变压器高压圈的电压和应有容量(伏安),根据高压和灯丝的容量算出变压器的总容量和各部分常数。举例如下:
有一收音机,采用的电子管为6SA7变频,6SK7中放,6SQ7检波及第一低放,6SL7第二低放及倒相,2×6V6甲乙1 类强放,屏电压265伏,使用300公厘口径的优质扬声器。求它的电源设计。

由电子管手册查得各管阴极电流(屏和阳栅总电流)为6SA7—12.5毫安,6SK7—2-11.8毫安,6SQ7—0.5亳安,6SL7—1毫安,2×6V6—75—92毫安,总负荷电流为100.8—108毫安。根据这样的需要量,整流管可以采用5Y3GT,因负荷电流变动范围不大,滤波电路可以用电容输入式,纹波率按照0.1%设计,单节的电容输入式滤波器的纹波率依照上期本文所载的公式为:
纹波率=\(\frac{45Idc}{PL}\)\(_{1}\)C1C\(_{2}\)Edc=45×108;2L1C\(_{1}\)C2×265
≈\(\frac{9.7}{L}\)\(_{1}\)C1C\(_{2}\)=0.001,
L\(_{1}\)C1C\(_{2}\)=9.7/0.001=9700。
如果第一滤波电容器的容量C\(_{1}\)=16微法,第二电容器的容量C2=32微法,则
L\(_{1}\)=9700/16×32=18.8亨。
扼流圈的电感量并不一定限于上面的数值,只要能满足L\(_{1}\)C1C\(_{2}\) 9700的都可以用,不过要注意的是C1的容量最好不超过16微法(C\(_{2}\)不限),并且像本文上期所述L1≥3.5(C\(_{1}\)+C2)/C\(_{1}\)C2才行。扼流圈可以照19亨设计,计算方法见上期本文。假定设计的扼流圈的直流电阻为500欧,则在负荷电流最大时扼流圈的电压降为0.108×500=54伏,由此得整流管的输出电压应为265+54=319伏,由5Y3GT整流的输出曲线求得电源变压器高压圈每边的电压须为320伏左右。电源变压器的输出功率P等于全部灯丝消耗(包括指示灯0.3安)加高压消耗,即P=6.3×2.4+5×2+320×0.108≈60瓦,变压器效率以85%计算,它的实际容量为60/0.85≈70瓦。设计成的电源整流器如图13,图中附加6SL7和6SQ7电源的电阻电容滤波器是按照纹波比1/10和1/250计算,由公式:输出纹波/输入纹波=1/(1+0.3RC)求得的。
有关电源的一些问题

1.振荡哼声 收音机中的电源整流器往往会产生一种不正常的现象,这就是当调谐度盘转至对某一电台的信号接近离调时,扬声器会发出显著的交流哼声,这是由于高频混入电源所致,可以在整流管屏极和灯丝间并联一只2000—6000微微法的云母电容器(图14),就可消除。
2.五极管的帘栅电源 收音机的帘栅电压一般都是用降压电阻或分压电阻的方式由高压供给的,串连降压办法四极管不能使用。五极管采用降压电阻办法供给帘栅可以使自动音量控制的工作范围扩大,因为当自动音量控制作用时帘栅电流下降,因而使帘栅电压增高,抵消了一部分负栅压的作用,扩大了自动音量控制的工作范围。
3.栅负压问题 收音机的各级栅负压大都用阴极降压电阻供给的,降压电阻使得强放管的有效屏压降低,在使用的栅负电压较高时会影响收音机的不失真输出功率,补救方法可以如前节的实例,将规定屏压加高一个栅压(例如屏压为250伏,栅负15伏,可以设计高压为265伏)。有些收音机线路设计是利用整流负回路中接入适当电阻取得电压降充当栅负的(见图12),也有把滤波扼流圈接在整流负回路中利用它的直流电压降来供给栅负的,但是后一个方法不很好,原因是滤波扼流圈接在整流负回路时滤波效能较差,交流哼声要比接在整流输出端时大得多。
其他类型的整流器


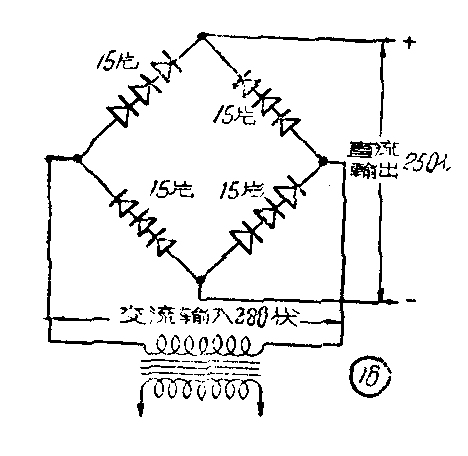
1.硒堆整流器目前部分的国产收音机有用硒堆整流器来代替电子管的,这种整流器(图15)是由硒片单元构成的。低压的硒片每片可承受的反峰电压是25伏,高压的可达72伏。低压的硒片国内已大规模生产,价格不贵,接成整流线路时可以按需要片数自行装配。例如需要输出为250伏时,可用60片接成桥式,每臂以15片为一组,如图16。硒整流器最好接成全波桥式,当然也可以接成半波或中心分线式(用得较少),需要较高电压时也可以接成倍压电路。
硒堆整流器的整流作用不像电子管那样完善,不能完全阻断反方相的电流,因此输出直流中的交流分量要比电子管整流大得多,对于滤波电容器特别是电解质式电容器是不利的,它将使电容器容易发热缩短使用寿命。

2.振动式整流器在汽车中或者只有低压(6—24伏)的场合,收音机的高压电源是由振动式交流整流器(或叫振子整流器)将蓄电池的电源转换成高压直流使用的。振动子的原理和电铃相似,它包含两组同步的弹簧接点,一组作整流另一组作变流,线路和内部构造如图17甲、乙,当低压电流通过振动子时簧片振动,将两组接头迅速启闭,使电流在变压器初级中产生每秒100次的脉冲,这样变压器次级就感生高压,产生的高压交流被另一组同步接点整流后就得到需要的直流电压。振动式变流整流器构造简单,在移动式电源中用得很多。有种交直流电池三用收音机的电源就是利用这种方法来取得直流高压的。
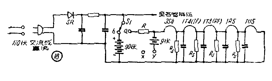
3.交直流电池三用收音机的电源

有种所谓三用式电源的旅行式收音机,它可以用普通交流市电,或110伏直流电,也可以用甲乙组干电,这类机器的特点是电子管(1.4伏直流管)的灯丝是串联的,当用市电电源时,它们由高压整流器供给,用电池时则由一组9伏的甲电供给。如(图18)可以看出当用市电时(不管交流或直流)插子XY接至电源插座,当S\(_{1}\)在位置a时,交流被硒整流器SR整流(直流则直接通过,但必须是X端为正)并经过滤波后,一部分通过电阻R及串连的灯丝使它燃着,另一部分则供给各管屏极。当用电池时,插子XY插入机上的插口XY,S1扳向b使电池接通工作。由于各管灯丝是串联供电,因此在低电位电子管(靠地的)的丝极除了应有的丝流外,还需通过前面各电子管的屏流,为了不使通过灯丝的电流大过规定值,必须在各个管子的灯丝上并接一定数量的分流电阻,如图中的R\(_{s}\),电阻傍的电容器是用来傍路交流的,降压电阻R常常是一种电阻灯或是特制的镇流电阻,它能在一定范围的交化电压下保持通过的电流几乎不变,以保护电子管不被过高电压的烧坏。(梧)