首页
全文搜索
分类目录
作者目录
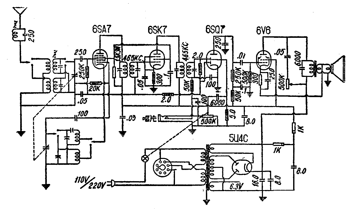
中苏牌交流5灯中短波收音机线路图
🏠 首页
《无线电》杂志
1958年 🔗
第6期 🔗
第28页
分类:(无分类)
本刊1958年第5期所载中苏牌5灯中短波收音机线路图有误,现重新补登如下,请读者原谅。
图1
🔍原图 (1380×818)