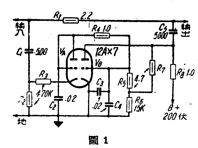
图1是一种简单易制的自助音调补偿器的线路。这里V\(_{A}\)的作用好像是一个二极管整流器,用来供给VB的栅偏压,它的大小正比于输入信号的强弱。当偏压增高时,流过V\(_{B}\)的电流减小,结果VB的内阻增大;内阻增大后,和它串联的C\(_{5}\)的效应减小,因此对输出的各种频率的响应曲线就更为平直。VB的一部分屏压经分压器R\(_{6}\)、R7引回到它的栅极,提供了所谓直流负回授,以便控制回路的灵敏度和扩大音频响度的直线性。

图中C\(_{1}\)的容量很小,因此加到VA上整流的较低频率(低音)的信号较小,使电平的控制主要决定于中频(中音)和高频(高音)。R\(_{3}\)是限流电阻,用来防止输入的突然增加而拉负荷。C2、C\(_{3}\)和R4是RC滤波网络,R\(_{5}\)决定修正的比率(连同C2、C\(_{3}\)、C4和R\(_{4}\)),R6,R\(_{7}\)决定音调补偿比率的。B7一定要保持很大(因为它的效应是并联于R8和V\(_{B}\)的内阻的),因此回授的大小决定于R6。
补偿器的最小衰耗为15分贝,故应插在放大器正常工作时低频电压为5伏(有效值)的地方。音量控制器应置于补偿器之前,这样在调整音量时即包含有补偿效应。

如果需要,V\(_{B}\)的阴极和地之间可以加装一只开关,用来控制电路的工作。如VB阴极断开不接地,则V\(_{B}\)内阻增至最大,电路的频率响应整个音频范围内几乎是平直的,这时介入衰耗为15分贝。合上开关(VB阴极接地)后,在音量大时响应曲线和介入衰耗不变,但在音量降低时中音和高音的介入衰耗增加,结果在低音量时提升了低音,补偿了耳在音量降低时对低音听觉不足的缺陷。从图2的曲线可以看出,这种补偿器的补偿特性是和人耳听觉响应的变化相吻合的。(李思智根据“无线电与电视新闻”编写)