近几年来我全国各地尤其是在那些还没有电气化的地方,已经装置了成千万的矿石收音机,由于许许多多的业余家们的努力,在报刊上已有很多有关矿石收音机的材料发表出来。我们为了适应广大农村的需要,特试制了两种简单实用的矿石收音机:(一)利用高效率喇叭的矿石收音机;(二)带有音频放大器的矿石收音机。它们的特点是价格便宜,音量大,材料简单,制造容易。
使用高效率喇叭的矿石收音机(包括喇叭在内)价格不超过十元,即比带耳机的矿石收音机还要便宜。在二十五平方公尺的房间内可以供五六人收听广播,声音清楚。带放大器的矿石收音机仅十五元就能买一台。可供十几人在五十平方公尺的房间内收听,其音量相当于三灯交流收音机。这两种收音机所使用的材料很普遍,到处都可买到,线路简单,自制也很容易。现将这两种收音机分别介绍如下。
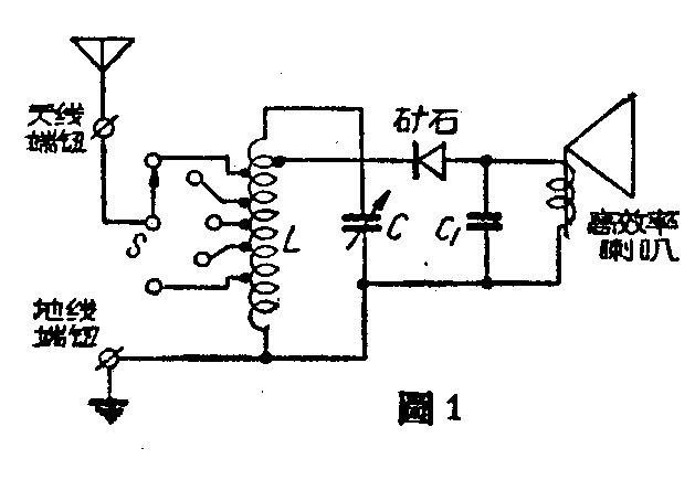
(一)利用高效率喇叭的矿石收音机:

本机的线路如图1,是根据黑龙江省广播情况(电台之间的波长都有着相当的距离)设计的,可以收听二三个波长比较靠得不太近的电台。这种收音机除使用特制的高效率喇叭外与一般矿石收音机没有什么区别。喇叭不一定用很昂贵的二十五瓦反射式的,也可以用普通0.5瓦8寸舌簧式扬声器通过改制使其效率提高,如能改制并调整得适当,保证能够达到使你满意的音量。改制的方法是将买来的舌簧喇叭除纸盆外全部拆掉,把线圈框架放宽一倍,将原有之0.08公厘直径之漆包线拆去,再用0.2公厘漆包线绕满,并重新用0.5公厘矽钢片做舌簧片,将其长度增加一倍,宽度不变,再将支持舌簧片的磷铜弹簧板减薄,同时尽量地缩短磁极间的气隙长度,并使舌簧片保证位于磁极的正中间,这样即能使音量比未改制前提高2—3倍。如为带动圈的电动喇叭,则可将原有音圈拆去用0.04公厘直径漆包线绕之,使其直流电阻达1000欧姆左右即可,再将纸盆的曲折边缘用小刀修薄,然后非常精确地装配,其效率较舌簧式喇叭更佳,但价值比较高些。如用反射式高音喇叭改制,音量更要大得多。我们所特制的专为矿石机使用的高效率喇叭,就是根据以上的几项原则制造的。
(二)带有音频放大器的矿石收音机:
如何能使矿石收音机的声音放大呢?根据我们试验的结果,提高扬声器的效率或加装放大器是最有效的办法,其他在调谐线路或检波器上想办法,其作用都不太大(如有一条良好的天线和地线当然要好很多,但这与矿石机本身是无关的)。因而我们除在第一种收音机中加上高效率喇叭外,在第二种收音机中便加装了放大器部分。这种放大器只需要手电筒用的干电池1节或2节,工作消耗的电流仅10—30毫安,非常省电,在线路中装有开关,不用时可将电源切断,如每日收听2—3小时,可用三个月左右。本机线路除放大部分及扬声器外完全与第一种相同。放大器是由一个与扬声器相同的电磁铁和线圈或舌簧片(就是一个没有纸盆的扬声器)连接着一个带有很小振动板的炭精式送话器,送话器的两端通过电池串接着扬声器(见图2、3)。检波后的音频电流通过这只没有纸盆的扬声器所产生的机械振动直接传导给送话器的振动板,因而通过扬声器的电流也将随着检波电流相同的波形而变化,这样,扬声器便发出很大的声音,完成了放大的任务。


由于篇幅所限,不能将整个试验过程和制造情况详细介绍,还希望各界无线电爱好者同志们协助想办法,共同努力把矿石收音机搞得更响亮,更便宜,更适合于我们广大农村的需要。(哈尔滨手工业联社集体创作梁孝信写稿)