我国生产的第一架七管半导体收音机①已于今年三月由上海电讯电器专业公司所属的宏音无线电器材厂试制成功②。

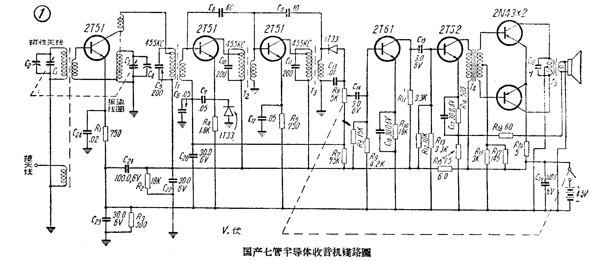
这是一架旅行式超外差式广播收音机,它的外形和机内另件排列见照片。全机采用7只半导体三极管和2只半导体二极管,管号如下:半导体三极管2T51——变频,2T51×2——中放,2T61×2——电压放大,2N43×2——推挽放大;半导体二极管1T33,一只作第二检波,另一只作自动音量控制。

因为这是一架旅行式收音机,设计要点是提高它的灵敏度并缩小体积。因此采用的各种元件除了要求它的质量优越,用以提高机件的性能外,还必需同时考虑到它的体积。这里采用的元件完全可以符合上面的要求。例如采用了磁性瓷③天线,磁性瓷中频变压器,磁性瓷线圈,瓷介电容器,小型的炭质电阻,特制的小型异电容量的双连可变电容器,以及印刷电路等等。
此机的一般性能如下:
收听频带:530千周——1600千周,
中频:455千周,
灵敏度:不劣于1000微伏/公尺,
输出功率:不失真最大输出为50毫瓦,
电源:1.5伏干电池3节(4.5伏),无信号时消耗
电流约10毫安,最大信号时约33毫安。
半导体的特性和一般电子管相差很大,在许多元件如中频变压器、输入变压器以及输出变压器等都是特制的,体积特小(中频变压器只有指姆大小),这些小巧的元件也是我国第一次生产。它们的规格如下:
1.中频变压器,用英制40号单根漆包线绕成的蜂房式线圈,密封在一个磁性瓷圆盒里,中央心柱的直径为2.1公厘,长5公厘,旋动磁性瓷圆盒盖,可改变盖与座之间四周的空隙,用以变更碰通量,调整中频。
2.振荡线圈,所用铁心及线号和中频变压器相同。
3.输入变压器,用33GEI型合金片心,截面为5平方公厘,导线是0.061公厘径漆包线。
4.输出变压器,用29GEI型合金片心,截面为14平方公厘,初级线径0.27公厘,次级0.35公厘。分段绕制。(上海宏音无线电器材厂技术科供稿)
注:①其中两个半导体二极管未计入。
②这是指生产单位而言。至于专门研究机关是早已试制过了的。
③即一般所谓的“铁粉心”。

