董仲思问:为何称电子管89为三栅管、又有人称其为五极强放管何故?其特性表有的书中写μ为4.7有的书中写μ为125为何相差甚大?
答:89电子管是一个电力放大管,在构造上有三个独立的栅极,和屏极阴极,所以有人称其为五极强放管,有人叫他三栅管,在接法上之不同故μ值亦不同见图1。

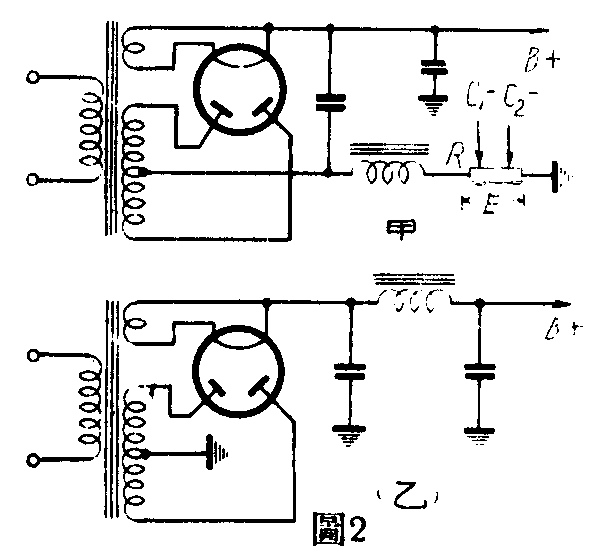
蒋曙东问:在图2中的收音机内整流线路哪一种好?

答:这两种线路在整流上讲没什么两样。图甲中,低放级的固定栅偏压是取自电阻R,所以图甲比图乙的乙电要低一个E值,在收音机制造成本上,用图甲时可以节约些,可省去两个低压电解电容器、和一个5瓦的阴极丙电阻。
师睿问:用两只3S4作推挽式放大其输出变压器如何绕?
答:最简单的方法是拆开一个单管用的3S4输出变压器,知道圈数后,再绕上去,绕时中心抽头即可,音圈圈数不变。(曙江答)
鹿英杰问:充气整流管(如872管)高低压同时关掉对电子管的使用寿命有无影响?
答:没有影响。
姚永源问:本刊1957年的第九期“答读者问”中说单管机输出功率都很小,不能推动扬声器,而在第十期圆筒矿石收音机能用舌簧喇叭来收音。那么说难道单管机的输出功率还没有圆筒矿石收音机大吗?
答:单管机的输出功率在同一高频强度的输入信号下要比矿石机大得多,但高频信号强度不同时,就可能有所区别。因此在强力电台附近,天线较高和本机构造较好的情况下,矿石机是可以推动一个舌簧喇叭的。反之单管机如果距离电台较远或天地线较差时,用喇叭的音量可能比矿石机还小,应根据具体情况而定。(郑宽君答)
李隆祥问:1.扩音机负荷过小时要损坏喇叭,如果负荷大于输出功率,对扩音机是否有影响?2.扩音机输出变压器烧毁,为什么也会损坏整流管?3.收扩音机收听短波时“毕剥”之声很大,衰落现象也很利害,是否能克服?
答:1.所指仅是接喇叭的多少而言,如所接喇叭很多(就是负荷大于输出功率),如能维持阻抗匹配,最多只能使喇叭的发声轻微而已,对扩音机没有什么严重影响。2.原因是:①输出变压器次级的一端大多接地,变压器烧毁时,初次级发生短路使输入初级里的高压与地(乙-)短路,等于整流部分的高压短路,故要损坏整流管。②输出变压器烧断,推挽管没有屏流,整流级突然失去这个很大的负荷,电压就加在滤波电容器的两端而将它击穿,高压发生短路因而损坏整流管。3.扩音机里增益很大,在一般收音机里不甚显著的杂声在它那里却会被放的很大,如不是经常发现或在任何波段都出现的,可不予考虑。衰落现象很大时,可检查自动音量控制系统的工作情况是否良好。
施华问:1.收音机喇叭有时会发出很响的“吱吱”声,为什么?2.收音机应放在什么地方?3.夏天收音机后面的盖子盖上了是否会不通风,容易使零件损坏?
答:1.这是收音机受到附近的电气用具的干扰所致。2.应放于易于通风和干燥的地方,此外还可考虑到它对于室内的装饰和扬声器对收听者的位置是否合适等。3.应盖上,在设计时已有通风的孔眼散热,盖子还有防尘及防小动物侵入的作用。为了照顾通风,收音机不应紧靠墙壁而应稍稍离开。
张忠信问:蛛网板线圈内、外径大小及齿数对矿石机的选择性及灵敏度有何影响?
答:线圈对矿石机的选择性和灵敏度起决定性影响的是它的“质量因素”(即Q值),内径增大可使Q值增加;外径则随内径及绕线的圈数、粗细而定。齿数增多可使绕线互相平行的机会减少,减低了潜布电容量而Q值增加;但又能增加介质损耗使Q值下降;因此,也要看那一方面有利而选用(例如选用了质量良好的材料做架子就可以增加齿数)。
施光荣问:在列车上使用TУ—50A型四用扩音机,当一开电风扇时,扩音机发出很大的噪音,何故?如何避免?
答:列车上使用的电风扇转动时炭刷发生电火花,它的电磁波能使扩音机上产生严重的噪声干扰,并且所占的频带很宽,避免的方法要将风扇的外壳接地(车厢)并在扩音机电源进线上加装滤波装置,详细制法及原理请参阅本社出版的“怎样压制电气设备对无线电的干扰”一书。
何富海问:交直流收音机中的滤波扼流圈原为10亨50毫安,直流阻力500欧,可否以电阻代替,阻值应为多少?
答:可用2,000欧5—10瓦的线绕电阻代替。代用后轮出直流电压会较低,可将输出变压器的接乙+处接在整流管输出端(阴极),使功率放大管的屏压不致太低,并能减小滤波电阻的负担。(冯报本 冯炜然答)