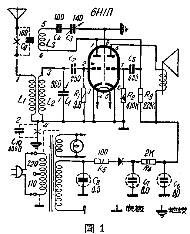
我们只用了一只电子管制成了一架相当于三管效率的再生机,因此所费比一般的三管机要低得多、体积小得多。完全装好后总共还不到二十五元,并且效果也很好。如果接一根高于屋顶两公尺长二、三十公尺的天线,在辽阳市晚间可收到山东、河南、中央等电台。这架收音机从外观上看好像是单管机,其实它不是单管机,而是再生式三管收音机。图1中6H1П是用国产北京牌双三极管,一半担任再生栅极检波,另一半担任功率放大。若有6SN7或6H8C等八脚管也可用,只要换一个管座就可以了。若手头有6H2П或6SL7等也勉强可用,不过音量稍小些。本机所用的高压直流电是用国产半导体220/0.6硒整流器担任。由于需用的直流电很小约只十几毫安,所以采取了半波整流,整流器所输出的直流电远远的超过了所使用的电流,所以对收音效果上没有多大的影响而又简单经流。图1中的线圈可以购成品(如美通338)也可以自制,制法如下:用直径25公厘,长75公厘的厚纸筒,先用0.25公厘的漆包线绕30圈作L\(_{1}\);再用0.32公厘的漆包线在L1的上方距3公厘处绕90圈作L\(_{2}\);再用0.15公厘的漆包线在L2的上方距3公厘处绕20圈作L\(_{3}\)(图2)。但是在绕制时各线圈的方向一定要一致,线径少许有点出入没有多大的影响。图1中的C3最好用专用的再生电容器,也可用容量比较小的固体介质可变电容器,C\(_{1}\)用国产360微微法的可变电容器,喇叭可以采用阻抗较大的(如直流电阻为1000欧以上的)舌簧喇叭,省一只输出变压器。


本机的电源变压器是用旧的变压器自绕的,当然有成品那就更好了。如果自制时可以参考图3:

初级线圈用0.13公厘的漆包线按每伏10圈绕2200圈,在1100圈处抽一头以备使用110伏特的市电;次级线圈用0.1公厘的漆包线绕高压2000圈;次级灯丝线圈用0.7公厘的漆包线绕67圈。如果有现成的电铃变压器(有6伏次级)时,可以按照(图1)中虚线的接法,把有“×”符号的地方断开即可。但要注意,这时底板带电,故不能直接接地线,要如图通过C\(_{1}\)0接。不过交流机不接地线也可以。
底板上的尺寸和主要零件的位置见图4,底板是用白铁皮自制的,也可用木制。

机壳可用普通的三合板自制,主要尺寸见(图5)。

注:本机的C\(_{1}\)及C3全装在底板的下面,将C\(_{1}\)立起来固定在底板的右边孔中,C3在左边。喇叭固定在机壳上。(季平)