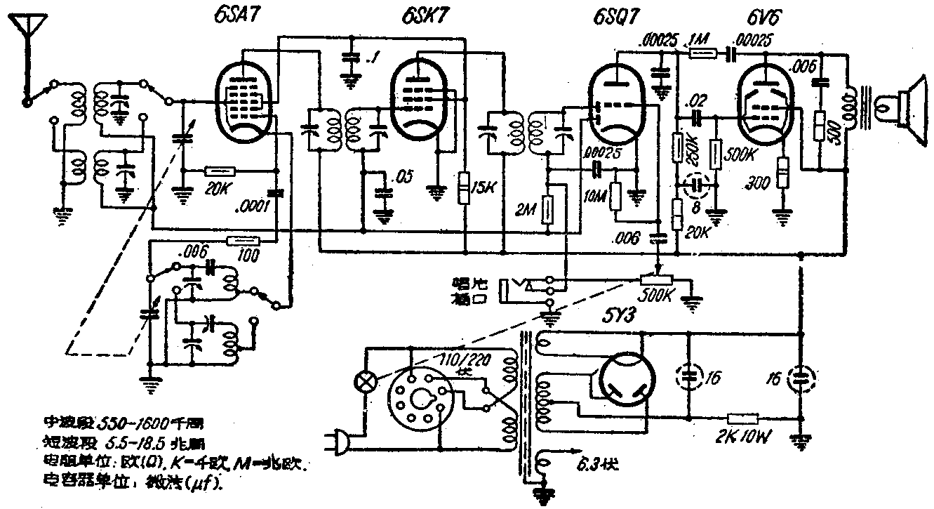
本机可加电唱机播送唱片,收音范围:中波段550千周——1600千周。短波段5.5兆周——18.5兆周。电子管用6SA7变频; 6SK7中间频率放大;6SQ7第二检波兼自动音量控制及前级放大;6V6功率放大;5Y3全波整流。





中苏牌交流5灯中短波收音机
——北京市第一无线电合作社产品
本机可加电唱机播送唱片,收音范围:中波段550千周——1600千周。短波段5.5兆周——18.5兆周。电子管用6SA7变频; 6SK7中间频率放大;6SQ7第二检波兼自动音量控制及前级放大;6V6功率放大;5Y3全波整流。




