在长途通信电路里,利用载波可以在一对线上通多路电话,互不干扰,大大节省线路。目前我国各地的有线广播,多与县内电话同杆同线,广播时不能通电话,紫急通话时又需停止广播,很不方便。利用载波传送节目,不但可以避免上述缺点,还可提高线路利用率,延长广播时间。
农村有线广播所用的载波设备,最好是结构简单,价钱便宜,管理维护容易。
现介绍一套正在试验、效果已逐步令人满意的有线广播载波设备,这种设备系统的工作原理简图如图1。把有线广播站前级放大器输出的音频电流送入载波发送机,变成较高频率的调幅波,再通过带通滤波器送入城乡电话线路,传送到乡放大站。电话交换机的外线端接一只低通滤波器,以免广播电流干扰通话。为了同样目的在乡电话机的外线端也接一付低通滤波器。载波电流则经带通滤波器进入载波接收机。经检波后还原成原来的音频电流,送入放大器放大,再将放大后的音频电流送入用户喇叭。

为什么用带通滤波器而不用高通滤波器呢?这是因为我们试制的载波机用了双边带,载波频率也未加以抑止,与长途电信上所用的载波很不相同。倘在发送端不用带通滤波器而用高通滤波器,发送机输出的高次谐波会送到线路上去,以线路作天线向外辐射,干扰附近的无线电收音机;同样,若接收端不用带通滤波器,那么线路上感应来的无线电广播信号也会送入载波接收机,发生干扰。
(一)载波发送机的构造
载波发送机的线路如图2,载波频率用20千周,用20千周的原因是频率低,线路损耗小。V\(_{1}\)(6V6)是振荡管,振荡电路是哈脱莱式,振荡线圈T1用硅钢片做铁心,它的横截面积是1/2"×1/2",用0.35公厘径的漆包线绕450圈,每隔150圈抽一抽头,如图中所标的1、2、3、4。为了防止跳火,每层漆包线间全用黄蜡绸绝缘。铁心上用了0.7公厘的空气隙,用厚纸片垫住,这是为了使铁心不致饱和损害振荡波形。V\(_{2}\)是载波放大兼调幅管,用6V6一只接成三极管,由于频率低不需要中和。V2的屏槽路线圈T\(_{2}\)是空气心的,这样可以保证调幅的直线性,不致失真。T2绕在一根9公分长,直径12.7公厘的胶纸管上,绕线的宽度是3公分,两端各留出3公分以便装置线圈支架。初级用0.2公厘径漆包线绕3000圈,绕的方法与绕普通变压器一样,每层间垫黄蜡绸绝缘。次级的4—8接头间用36号漆包线绕600圈,每隔150圈做一抽头,即5,6,7三接头。8—9接头间用38号漆包线绕450圈。次级的接头6是接地线的,5—7的载波输出电压约10伏,4—6约20伏,9—6约30伏。

调幅变压器T\(_{3}\)的铁心用Ш19硅钢片叠厚19公厘(横断面积19×19公厘),初次级分别用38号漆包线绕2000及2400圈。硅钢片系对插,也可加垫一层薄玻璃纸。接线时要注意使初次级的直流磁化力互相抵消,免得自感量减低。
振荡级的槽路电容器C\(_{1}\)是0.0015微法左右,另并联一只收音机里常用的垫整电容器(最大电容量600微微法)作为精细调整振荡频率之用。
输出变压器T\(_{2}\)须装在隔离盒里,免得它的磁场干扰广播站里的收音机。
图2里的电眼是指示载波或调幅的强度的。从T\(_{2}\)次级第8端上产生的已调幅载波电压通过电容器C12加到V\(_{6}\)(6SQ7)的小屏上进行半波检波,检波后成为含有音频变化的直流脉动电压。这直流电压经R15和C\(_{18}\)的平滑作用变成稳定的直流电压,接到电眼开关“S”上注有“载波”的一方,这电压是和载波的强度成正比的。当开关扳向这边时,电眼便指示出载波的强度来。电位器R14装在发送机内部,是在校准时用来调节电眼上的直流电压的,日常工作中可不再改变它,经6SQ7小屏检波后所得的音频成份经电容器C\(_{15}\)接到6SQ7的栅极,被放大后再经电容器C17加在电位器R\(_{18}\)上,又经电位器上的抽头和电容器C19而接到电眼上去,指示调幅的程度。电位器R\(_{18}\)也是装在发送机内部的,须用起子校准。校准时可用音频振荡器送一稳定音频讯号到发送机里去,先把R3调节到100%调幅(用示波器观测),然后再调节R\(_{18}\)使电眼(开关扳在“调幅”位置)刚好合拢。以后在播音时,看到电眼合拢就知道是100%调幅了。工作时可把电眼开关经常放在“调幅”的位置,以便随时检查调幅的大小。监听插口里可插入一只耳机或簧舌式喇叭来监听发送机的音质,但插入耳机或喇叭以后,R18上的音频电压要降低,电眼不能完全合拢,只作轻微的闪动,因此当需要检查调幅程度时,必需临时把监听器拔出。
经按上述设计装妥以后,曾用400周和1000周测试输出波形,情况良好。而有线广播所用频率远较1000周为高,心须测试整个音频频带的响应特性。测试频带响应特性时,发现在1500周以上便开始衰减,5000周以上几乎不起调幅作用。自然这样设计是有毛病的,经详细检查,发现V\(_{2}\)(6V6)的屏路用3槽路,Q值比较高,谐振曲线很陡,20千周两边超出1500周,振幅便急剧下降,因此将C2烫掉不用。C\(_{2}\)既烫掉不用,T2上原用的静电隔离自然也就可以不用。
C\(_{2}\)烫掉以后频带响应的问题便解决了。即用5000周调幅,衰减仍不大,音质得到了保证。
V\(_{2}\)的输出有若干谐波,但因线路上用了带通滤波器,副波问题便起不了多少坏作用。
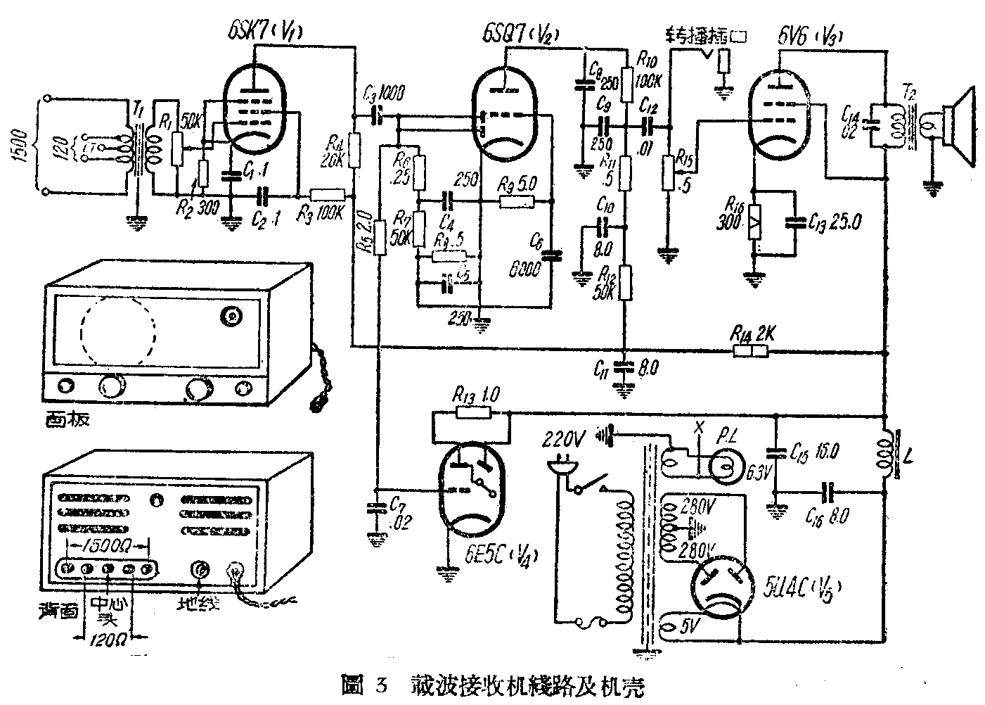
(二)载波接收机的构造
图3是原设计的载波接收机线路。因为通过带通滤波器而进入接收机里的电波完全是所需接收的,其他频率的电波不能通过带通滤波器,因此在接收机里就不需要再装置有选择性的调谐电路。载波讯号电压经输入变压器T\(_{1}\)升高以后,用6SK7(V1)放大,再经6SQ7(V\(_{2}\))作半波检波和音频放大,作用和一般收音机一样。经6SQ7放大以后的音频电压接到转播插口上,可转接到放大站的扩大机上进行转播。在机内另装有一只强放管(V3)和水磁喇叭作监听之用。监听音量用R\(_{15}\)来控制。电位器R1是用来控制输入电压大小的。

输入变压器T\(_{1}\)是用Ш15型硅钢片叠厚15公厘(横截面积15×15公厘),次级用40号漆包线绕2000圈,初级阻抗分120欧和1500欧两种,以配合城市电话电缆或乡村双铁线的阻抗。用1500欧时,用36号漆包线绕35O圈,中心抽头备接成平衡输入。另在中心抽头的前后各50圈处作一抽头,作为120欧的输入接线端。
照图3的设计装好以后,发现高频响应也不好,检查结果,原来是检波器电路元件的数值有问题,R\(_{6}\)数值太大,C4、C\(_{5}\)在频率高时阻抗小,因此使高频削弱了。初步解决的办法是将R6换用2万欧的电阻,等于使电源内阻减低,音频响应特性就改好了。若将R\(_{4}\)、C3、R\(_{6}\)全去掉改用变压器交连,音频就更好,我们用的变压器是\(\frac{1}{2}\)"×1;2"硅钢片作铁心,初次级各用40号漆包线绕1000圈。将图2的R12改成2万欧,也使监听音质好。
6SQ7(V\(_{2}\))屏路的C8、C\(_{9}\)和R10设计时是想滤去载波成分的,对高频衰减也很大,以去掉为宜。
此外,R\(_{8}\)上的电压太高,对电眼指示影响很坏,可将R8改为电位器,以便任意调节音频电压的大小。
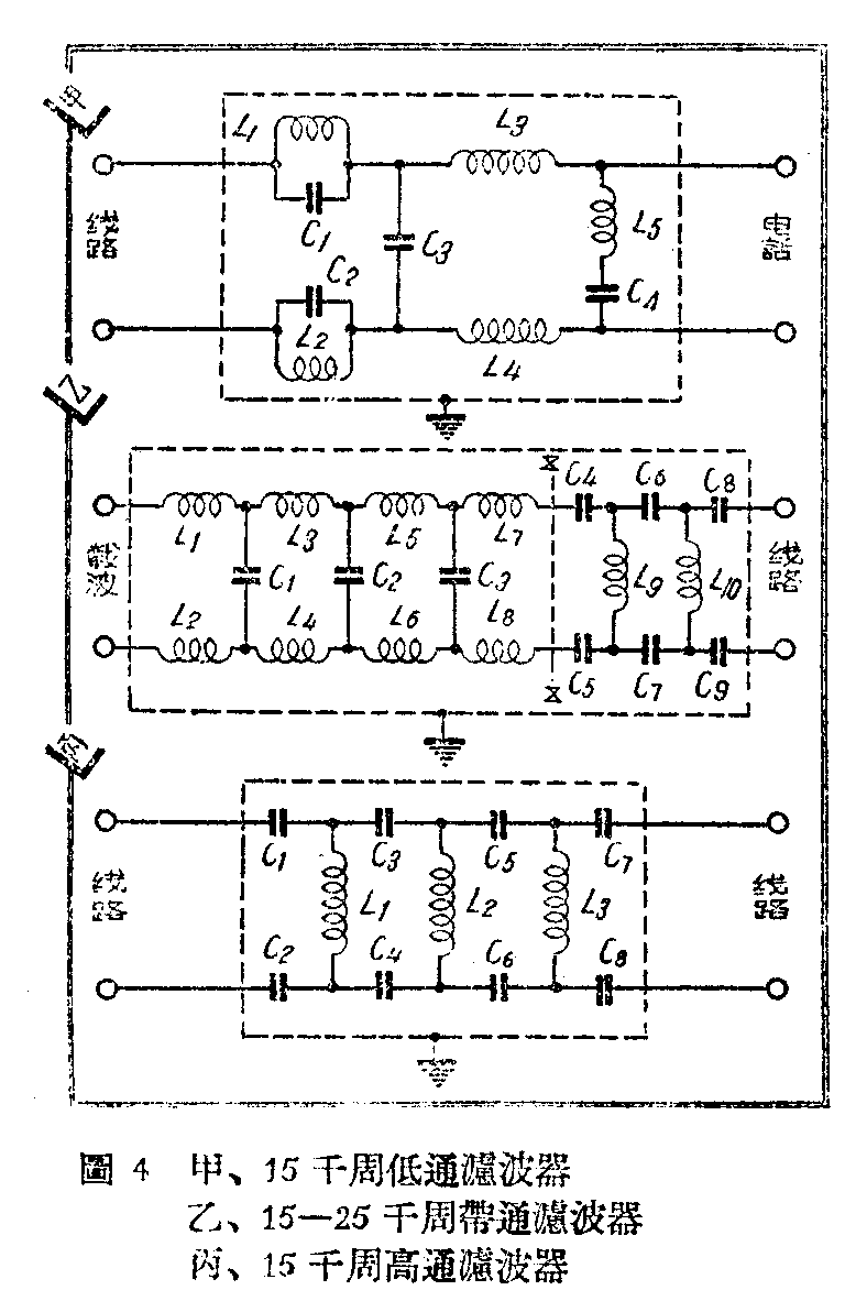
(三)滤波器的构造
滤波器在载波设备里要算是最主要的部份,若设计得不好就会造成串话、声音模糊、音弱等现象。各零件数值也要求准确,才能达到预期的效果。在我们试制的这套载波设备里共使用三种滤波器:(1)15千周低通滤波器,它的截止频率选取15千周,能让15千周以下的电波通过去,对高于15千周的频率则衰耗很大。是用来串接在电话电路、使电话频率能通过,而载波则过不去。(2)15—25千周带通滤波器,只能允许15—25千周的电波通过,而其他频率则被衰耗。用来连接在电话线路与载波发送机或载波接收机之间。(3)15千周高通滤波器,只能让15千周以上的较高频率通过,所以20千周的载波或其谐波、无线电波都能够通过,它对载波的衰耗比带通滤波器小,可以用在载波电路中途跳越电话交换机的地方,减少衰耗。但不能用在起端或终端,因为它没有阻止高频电波干扰的作用。以上三种滤波器都分成1500欧高阻抗线路用和120欧低阻抗线路用两种,下面分别加以说明:
(1)15千周低通滤波器 线路如图4甲,左端是接电话线路的,该端对20千周载波阻抗最大,具有并联谐振特性,因此不消耗载波。右端接到电话机或交换机去,该端对20千周载波的阻抗最小,能把从左方串过来的少许残剩载波短路掉,不使进入电话机。

低通滤波器各零件数值列表于下:
零件名你 1500欧双铁线用 120欧电缆用
L\(_{1}\) L2 5.3毫亨 0.42毫亨
L\(_{3}\) L4 L\(_{5}\) 13.2毫亨 1.06毫亨
C\(_{1}\) C2 C\(_{3}\) 0.0117微法 0.147微法
C\(_{4}\) 0.0047微法 0.059微法
(2)15—25千周带通滤波器 线路如图4乙,实际上是由一组只让25千周以下频率通过的低通滤波器和另一组只让15千周以上频率通过的高通滤波器组成的,结合起来就只能让15—25千周的频带通过了。在图4乙中X—X线的左方是25千周低通滤波器,X—X线的右方是15千周高通滤波器。高通的一侧是接到电话线路的,低通的一侧接到载波发送机或接收机。
下面是这种带通滤波器各零件的数值表:
零件名你 1500欧双铁线用 120欧电缆用
L\(_{1}\) L2 L\(_{7}\) L8 4.77毫亨 0.382毫亨
L\(_{3}\) L4 L\(_{5}\) L6 9.54毫亨 0.764毫亨
L\(_{9}\) L107.9毫亨 0.63毫亨
C\(_{1}\) C2 C\(_{3}\) 0.0085微法 0.106微法
C\(_{4}\) C5 C\(_{8}\) C9 0.014微法 0.176微法
C\(_{6}\) C7 0.007微法 0.088微法
(3)15千周高通滤波器 线路见图4丙,结构基本上是和图4乙的右端一样的,是专备作跳越中途交换机或加装中途放大器用的。各零件的数值如下表:
零件名你 1500欧双铁线用 120欧电缆用
L\(_{1}\) L2 L\(_{3}\) 7.9毫亨 0.63毫亨
C\(_{1}\) C2 C\(_{7}\) C8 0.014微法 0.176微法
C\(_{3}\) C4 C\(_{5}\) C6 0.007微法 0.088微法
(罗鹏搏)(待续)