编者按:自从人民日报刊登了陈宪文试制不用电的收音机成功的消息后,本刊曾接到许多读者的来信和电话询问,这里特发表陈宪文同志的文章以代答复。本文说明了矿石机提高效率的几个途径,其中如天地线的制作、高品质因数线圈的绕制、矿石的选择、扬声器的改装,虽然所介绍的方法不一定是广大的无线电爱好者所都能办到的,但如依这些原理改善自己的矿石机也是能得到很好的效果的。读者们可按自己的情况和能购得的材料试制。
我试制成了一种高效率矿石机,当这个消息在报纸上发表后,引起了广大无线电爱好者的兴趣,现将原始的试验情况摘要地介绍于后,供爱好者的参考,并希提出宝贵意见帮助改进。
首先应该说明这收音机的效果所以较好,并没有什么奇妙的地方,只不过是从能量损耗观点上作了一些考虑,使天线接收到的极为微弱的高频电能加以较好地利用和发挥而已。由于它没有其它的任何能量来源,所以并没有任何放大作用,仅仅是依靠提高本身效率的办法,使喇叭发出的音量达到满意地便于欣赏的程度。这里提高效率的措施是:
1.天地线的安装比较合理,使这一系统的损耗电阻降低,从而提高了天线线圈的端电压。
2.天线回路和检波负荷回路对调谐回路有较好的阻抗匹配,有利于最大功率的传输。
3.回路中采用高Q值(品质因数)的元件,使回路中的能量损耗减小。
4.检波器来用质量较好的矿石,正向电阻值约200欧左右,逆向电阻最好状态可达0.4兆欧(特性和晶体管相似),使检波器本身的能量损耗大为减小。
5.采用效率高的高功率号筒喇叭,因此输入到喇叭的电功率虽极微小,仍能产生相当大的音量。
至于这收音机的选择性所以较好的原因,第一是由于使用了低损耗的耦合回路,并且次级线圈和天地线圈之间的耦合很松又有两个调谐,这样便可使输入到检波器去的收听电台的信号电压远大于干扰电台的信号电压。其次由于负荷端接有直流电阻很高的低频扼流圈,能使需要的信号电压高达数伏之多,其偏压足以截止干扰电台的信号。因此通常出现在一般矿石机里频率靠近的电台所发生的夹音现象得以消除。
这收音机的初步试验情况分为以下八部分来说明:
1.天地线的安装
天线和地线的组成是矿石机能量的发源地,是收音效果好坏的重要环节之一,而一般则对此马虎的多注意的少。例如许多天线两端未装绝缘子,导线用很细的镀锌铁线(铅丝),引入线随意弯折并接触建筑物。地线则用细铅丝往地下一插或埋得不深,也不用接地电极等等。这一切都将促成天线回路的损耗电阻增加,使天线线圈的端电压减小,不但严重地影响输出电压,同时由于电路中的电阻过大,选择性也趋于很坏的状态。
本机因限于环境,天线安装情况如下:型式是Г式,水平部分长约26公尺,两端用75公厘长玻璃绝缘子悬起,距地面高约10公尺(读者试验时不妨再加长加高,效果更好)。天线下面大部分是树木和建筑物,水平部分和树、建筑物的最近距离约4公尺。天线是用0.25公厘的废漆包线(从烧坏的变压器里拆出的)49股绞成。天线引入线用瓷质高脚绝缘子支起,尽量使和建筑物远离,引入途中没有弯折。引入线的末端装有天地线闸刀,以防夏季雷击的危险。闸刀引入地下的接线也很直,为的是有利于雷电冲击电流的通路。
这里必须说明,矿石机的地线非常重要,因为它不但和收音有关,更重要的是在没有高大建筑物(带有避雷针)的农村,高大的天线很易遭到雷击。地线如果装得不好,就不易保证雷击时的安全,这一点希农村的爱好者特别注意。
地线的好坏决定于地线接地电阻的大小,接地电阻愈小,效果愈好。
地线的接地电极固然用专用的碳质电极(交电公司有售)较好,但价格太贵,可用其它代用品,例如废大圆电池(6号电池)的炭棒、废牙膏的铅管、随电缆皮以及其它比较不易腐蚀的金属板或管。其中以前两种较好,不致于日久腐蚀而增加接地电阻。用电地炭棒和牙膏管应注意,由于每个面积太小,必须用多个并联使用,才能有足够的接地面积。
地线埋设时除采用增加接地的面积,加入碎木炭,埋得深来减小接地电阻外,如能沿着天线投影,每隔一定距离埋入一组,再将几组并联在一起引入使用,效果更好。
目前我所用的地线共埋了6组,其中接地电极有电池炭棒、牙膏管、粗铜线等,总面积约0.4平方公尺,埋入的深度自1—2公尺不等。接地电阻在去年夏季新埋时只有2欧,现在已增大到5欧左右。这里应当说明一点,利用自来水管、暖气管、电灯线的地线来代替埋设的地线。效果都不太好,希望在都市的爱好者注意。其次在钢骨建筑物附近装设天线,效果也很坏。
2.线圈的绕制
要使回路中的能量损耗减小,除天地线应该安装得合理外,回路中元件的损耗自然也不可忽视,因此高Q值的线圈和电容器便成为这架收音机必不可少的元件了。
一般矿石机用的线圈,Q值都不是很高的,纸管式的较好,也仅约100左右,小型的美通338-A和338-B则更小,只有40左右。因此成品线圈不太合用,必须设法自绕,以减小线圈的介质损耗和导体的损耗,我自制的线圈损耗很小,在频率为1500千周时,Q值有545之多(用RFT161型Q表),比一般线圈的效果要好。

这是一种单层音绕的圆柱形线圈(图1),共需两个(L\(_{1}\)和L2),但抽头不同。线圈是装在酚醛胶纸条组成的线圈架上每个绕60圈,线圈直径是100公厘,导线是0.8公厘直径的软铜裸线,绕制顺序如下。
线圈的绕制 先找一个直径近似100公厘的圆柱形物体做线圈的胎,在该物体外面撒上滑石粉(为了脱胎容易)并卷上两层牛皮纸。再将预先剪好的宽10公厘,长130公厘,厚0.5公厘的酚醛胶纸板5条,用六七个捆扎用的橡皮圈均匀地把它捆牢在圆胎的周围,作为线圈支架的一半(图2)。

为了线圈绕完后容易脱胎起见,可在上面5条胶纸板中间的任意地方再插入一条,等脱胎时将这条抽出,使中间比较松动,圆胎自易取出,否则便很困难。当线圈支架胶纸条捆紧以后便可开始绕线。为了得到间绕,绕线时必须另用一根导线和线圈的导线一起并绕,见图2,待绕完后再将这根作为间隔用的导线松脱取去,即得完整均匀的间绕线圈。但须注意,这时导线和线圈架间尚未进行胶固,极易松动变位,所以必须很仔细地使间隔导线缓缓松脱,否则极易影响原有的均匀间隔度。当间隔用的导线取下后,在原来5条胶纸条的外面再加5条,并用橡皮圈捆紧。目的是使两片胶纸条分里外两面把线圈的导线夹紧,使它不致松脱。然后用酒精虫胶(俗称漆片,颜料店有售)的浓溶液将导线和支架胶固,等它们确实牢固后,再将刚才多加的一片胶纸条用力抽出,这时再将线圈从胎上取下。
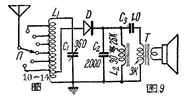
线圈的抽头 此处抽头工作比较简单,因导线是裸铜线,只要在需要抽头的圈数上焊出几公分长的接线就行。本机天线回路的线圈L\(_{1}\)(见图8)是每8圈抽一头,共抽6个头。次级线圈L2从下向上数在第20、24和28圈处各抽一头,以备试验那一个抽头的输出最大。这两个线圈做好以后,可用万能胶胶固在约1公分厚的圆木板上(见图6),以使用小木螺钉将它装牢在底板上。
3.可变电容器的选择
一般矿石机为了缩小体积和节省成本,多采用固体介质的可变电容器,可是这种电容器的介质损耗很大(与空气温度有关)。为此本机采用Q值为1300的(较固体介质大5—10倍左右)空气介质可变电容器。国产空气介质可变电容器的Q值,一般都在1000以上,都可应用,但旧的空气介质电容器,由于附有尘土油污,常使介质损耗增大,影响收音机的效率。
4.矿石的选择和加工
市售矿石的质量差别很大,正向电阻常在几千欧甚至几万欧,逆向电阻仅几倍于正向电阻,必须耐心的加以挑选。活动矿石比固定矿石好,因为固定矿石即使挑选到和晶体二极管的特性相似(按林坤厂的经验,大约几千个里会遇到一个),由于它的特性并不稳定,常易变动,反不如用活动矿石倒能经常调整到最响亮的地方。
挑选矿石的方法,一般是测量它的正向和逆向电阻的比值,可用电压不高的万能表放在电阻挡来量。对活动矿石应多测几点才比较可靠。根据经验,一般比值应在几十以上才好用,我现用的矿石可调到100以上,最好时可超过200。正向电阻变化在150—800欧之间。
市售矿石除了要挑选外,它的触针做得也不够好,例如触针尖端断面积较大,弹簧不够柔软。而矿石的阻挡层面积可能极小,所需压力不大,所以我在业余条件下自制了几种触针,见图3(比实物放大300倍)。其中以录音钢丝经电蚀加工后做成的触针比较满意,调整比较容易,灵敏度较前增加。由于能调到更好的状态,输出也有所提高。用电蚀加工尖端可做得比照片上还细,但可能由于压力过小,特性不太稳定。同时尖端过细也容易损坏。我认为有0.02公厘的尖端较好。改善后矿石的伏安特性曲线如图4所示。


这里必须说明,每当调整一下活动矿石的触针,就可以作出一根特性曲线,所以图4曲线仅是最易碰到的(能使本机工作的),但并非是最好的特性,它的正向和逆向电阻的比值约在30左右。
5.要采用效率很高的喇叭
前面作的一系列提高效率的措施,虽然对输出功率有所提高,但天线输入的功率毕竟是极为有限的(以微瓦计算),送到喇叭的也就更小了。因此,在接收过程的最后阶段,把电能转变到声能过程中的效率问题,在这里显得非常重要了。
一般纸盆式喇叭的电声转换效率可能只有0.1%左右(上海电讯器材公司无线电研究所非正式资料),号筒式喇叭可能达25%。那么要使这两种喇叭发出同样的音量,输入的电功率显然相差达250倍之多。
现在从喇叭的效率问题上,便很容易解答爱好者的疑问——没有外电源的矿石机,如何能这样响?根据试验,在北京近郊,这架矿石机的输出功率能达几个亳瓦。按照上面所说,如果采用效率高的号筒喇叭,能发出日式三灯机(输出200毫瓦)的音量是很自然的事。
目前市场上没有出售适合于这种矿石机用的喇叭,还只能用其它现成的喇叭来试验,功率大的25瓦号筒喇叭声音比较最响。
我也用普通效率较好的纸盆喇叭改装成号筒喇叭试过(在纸盆前端加了一根长52公分,出口处直径48公分的大喇叭管,见标题照片中的喇叭),音量虽比不上25瓦的,但也还能令人满意。用大喇叭管试过的有三种喇叭比较好,一种是上海利闻厂为矿石机试制的20公分舌簧喇叭(现未出售),一种是南京有线电厂所制的ДЭM型12.5公分舌簧喇叭,还有一种是进口货16.5公分永磁动圈式的。音量方面它们的区别不大,只是在频率响应方面,永磁动圈的要好得多,也就是说只有在收听音乐时永磁动圈的声音比较舌簧的要好听得多。
6、收音机的安装和调整
收音机的各个元件排列见图5、图6。面板是用酚醛胶纸板,底板是厚5公厘浸过腊的木底板。用5枚螺钉将面板和底板钉牢。两个线圈等用用表试验确定了较好的耦合位置以后,再固定到底板上。因为每个人绕的线圈不能绝对相同,天地线的装设也有很大区别,所以两线圈的位置不好先行固定的。



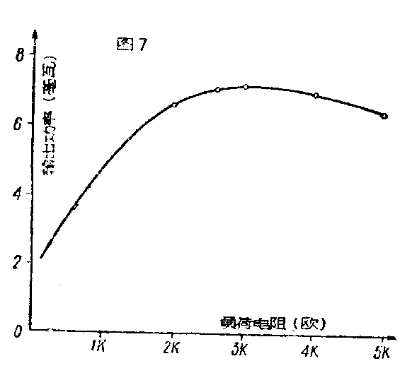
收音机线路见图8。C\(_{1}\)、C2在图6的照片里都用了双连,只是由于一时买不到好的单连的缘故,请勿误会。图中8C\(_{3}\)是云母的,C4是油浸纸质的,输出变压器T的初级阻抗约在3000欧时输出最大(见图7),次级阻抗要和喇叭音圈匹配。由于没有这样的变压器,我是用5灯机的电源变压器代替的(见标题照片里喇叭下面的变压器),用280伏高压线圈作初级,灯丝线圈串联(17.6伏)后作次级,以造应25瓦15欧的喇叭(6欧的16.5公分喇叭用12.6伏的灯丝线圈)。如用舌簧喇叭,可按图中虚线所示直接接到输出处,同时L\(_{3}\)、C4和T都可以省去。电压表和电流表只用一只即可,作为调整之用。电压表的灵敏度不小于每伏2000欧。

按图焊接完毕后,可开始调整和试听。将电表照图中虚线接受,如用毫安表时须将图中×处断开。调整时先将矿石D的接头A接在L\(_{2}\)的任一抽头上,旋转C1和C\(_{2}\),如需要的话可更换天线的接头(旋转П),直到电表的指针读数达到最大。然后更换接头A到另外两个抽头上,试出那一个抽头的输出最大,便将A焊在这一接头上,以后不必再动。当更换抽头时,可能需要重调一下C1和C\(_{2}\),才能有较正确的读数。
其次再一面试收几家电台,一面变更L\(_{1}\)和L2间的距离(耦合程度),看L\(_{1}\)和L2在那一位置时输出最大和选择性最好,然后加以固定,调整工作即算完毕。
7.收听情况
本机收音特性因无仪器测试,只能以直接感观的方式来加以说明,用前述天地线和25瓦号筒喇叭在北京近郊收听的情况如下。
灵敏度方面:用2公尺长的拖线充当天线,可以在喇叭中收听本市的5个电台,夜里最响时,能够在两间普通大小的房间中的任何角落都听清。如用室外天线,每天早晨在本地电台播音前,可以用喇叭放日本东京的播音,音量最不算大,但完全能听清。如用耳机感到很响。
音量方面:当广播电台调幅度较高时(如报告),音量不小于日式三灯机的平时音量,能扰乱室内的交谈,须旋小音量才能谈话。如把喇叭放在室外试验,在夜里没有杂音扰乱的情况下,距喇叭400公尺远的地方,仍能辨别声音的存在。在100公尺以内可以毫不困难的作出100%没有遗漏或错误的记录。当然杂音水平较高时,上述结果是不能达到的。例如当大约1公里外有火车经过时,能100%记录的距离就缩短到30公尺左右。
选择性方面:超过一般再生式三灯机,和具有一级调整式高放式的4灯朵相类似。收听本市的5个电台毫无夹音现象。
8.最后补充
为了使用方便,节省调节手续,图8线路可简化成图9。优点在于既省调节手续,又可降低成本,同时还能增加输出电流5%—15%。缺点是选择性较图8的稍差。话虽如此,但仍较一般矿石机要优越得多。例如:对频率靠近易于混扰的640和720千周电台来说,干扰信号的音量仅在距喇叭较近的地方才能辨别,至于其它各台则和图6线路无甚出入。图中L\(_{1}\)和图8相同,仅在离下端10—14圈处多抽一头和矿石D相接。(陈宪文)

