假如你已经有一只最普通的矿石机,如图1中虚线部分那样,那么你可以再添置一些另件,就可以制成一架矿石、单管两用收音机。如图1。

由图1中可以看出,当四刀双掷开关S\(_{1、2}\) 、3、4掷向A时,甲、乙电池电路不通,电子管2Π2Π不工作,这时用矿石收听;掷向B时,矿石不工作,就成为一架再生式单管收音机。图1中R、C6是栅检波元件,C\(_{5}\)是再生调节电容器,容量用100微微法或250微微法均可,C4是防止C\(_{5}\)万一碰片时使乙电池不致短路,高频扼流圈可阻止高频进入耳机,不用它亦可,市上有成品。如欲自制,可以用硬纸卷成图2形状,在线圈架上用0.1公厘(42号)漆包线绕满,绕时用乱迭绕方法,以减少潜布容量。电子管2Π2Π原为4极管,现将2脚(屏),4脚(帘栅)连在一起,作为三极位管用。乙电用9-15伏,甲电用1.5伏。

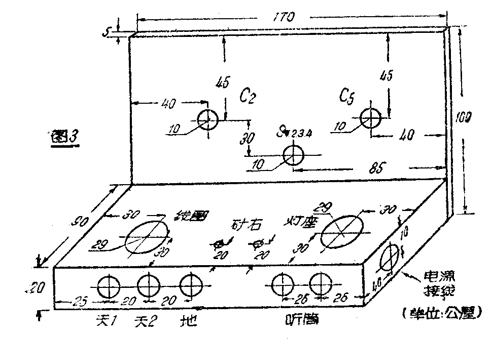
底板用0.5公分厚的木板制作,形状及尺寸见图3。

线圈的制法可用直径32公厘、长80公厘的硬纸筒作线圈筒,用0.29公厘(32号)漆包线绕制,L\(_{1}\)绕30圈,L2绕98圈,L\(_{3}\)绕70-90圈,各线圈距离4公厘。绕好后如图4。

全机接线用烙铁焊好,另件排列如图5。(李泰义)
