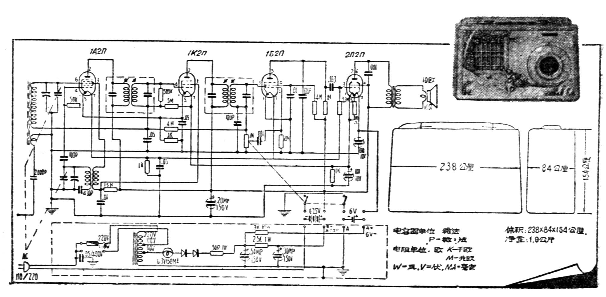
本机小巧轻便,外形美观,居家或旅行时均适用。可用220/110伏交流电或电池做为电源,耗电省,使用全新干电池可历28小时之久。
采用磁性天线,灵敏度高。如收听远地电台时,可另加接1-2公尺天线。
收听范围550—1650千周,最大输出90毫瓦。
使用国产电子管,1A2Π变频,1K2Π中放,1Б2Π检波低放,2Π2Π强放。
电池型号B电67.5伏一只,A电1.5伏2号电池四只。

交流、电池451超外差式旅行收音机
——上海广播器材厂新产品
本机小巧轻便,外形美观,居家或旅行时均适用。可用220/110伏交流电或电池做为电源,耗电省,使用全新干电池可历28小时之久。
采用磁性天线,灵敏度高。如收听远地电台时,可另加接1-2公尺天线。
收听范围550—1650千周,最大输出90毫瓦。
使用国产电子管,1A2Π变频,1K2Π中放,1Б2Π检波低放,2Π2Π强放。
电池型号B电67.5伏一只,A电1.5伏2号电池四只。
