由于去年买到了一部交流七管收音机的底板,决定试装一部七管收音电唱两用机。要求是:
1.尽量提高音质,高低音频放大均匀;减小输出失真。
2.音量不要很大,以满足普通三四间房间收听为标准。
3.电转唱盘装在一起,设法免去放唱片时插插子,收音时拔插子的麻烦;但拾音器接线不与收音机焊在一起,以免修整机器时须连电转一起拆卸。
根据以上要求,考虑到推挽输出电路可以自动消除偶次副波失真。并因两输出管屏流同时增减磁力线对消,可以自动抑抵因乙电滤波简单而出现的交流声。决定采用推挽放大线路。用落地式木箱,以发挥木箱对扬声器的作用。装成后在灵敏度、选择性和音质音量各方面均极满意。现将线路介绍于后:
线路及工作原理

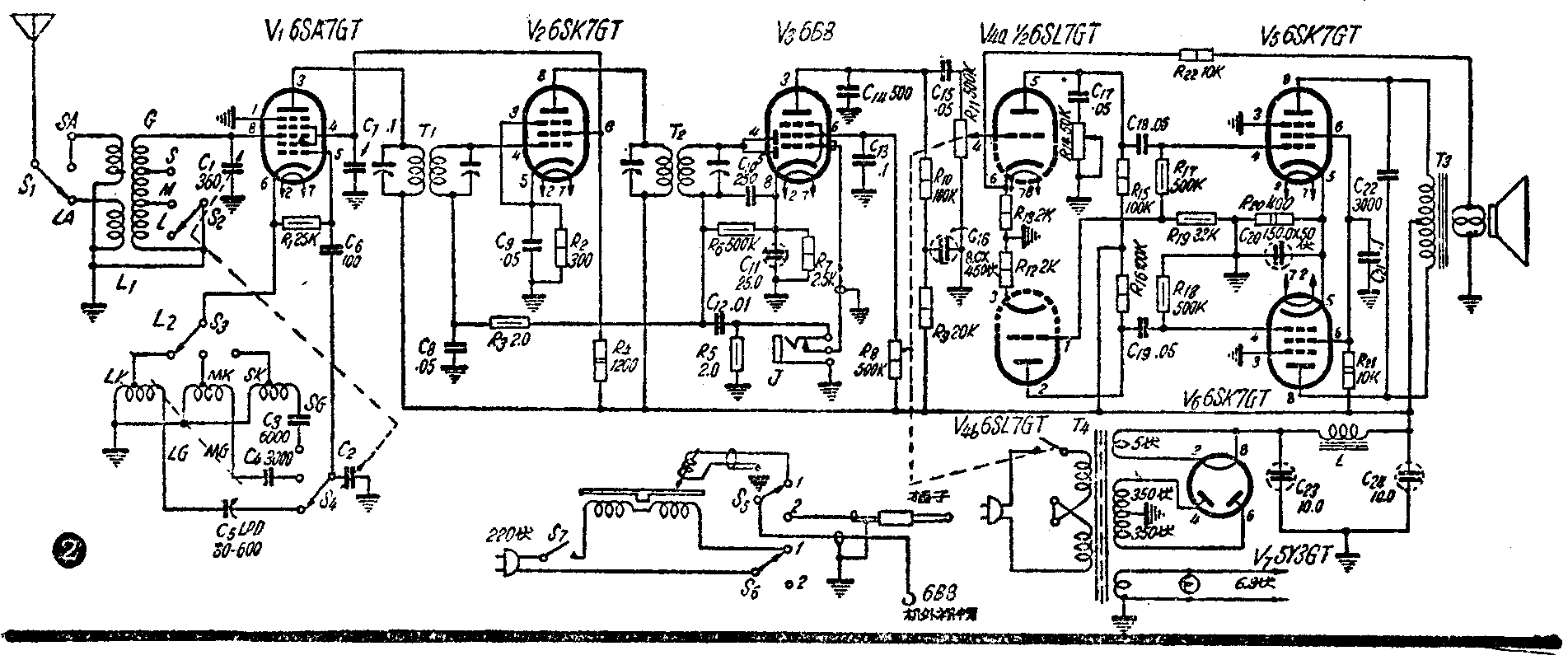
收音机外形如图1。调谐度盘在右上方,有小门可开关;电转在左上方,有盖可掀放;扬声器系25公分励磁式,装于下部中间;下部左右小门内存放唱片。收音机全部线路见图2。用6SA7作变频,6SK7中放,6B8检波、自动音量控制及第一低放,半个6SL7作第二低放,另半个6SL7作分压倒相; 5Y3作全波整流;6SK7是变μ管,在较大信号电压输入时,不致发生失真,笔者以前曾用它代替6V6作输出装过五管机,成绩很好,此次既不要求音量大,故决定用两只6SK7试作一次推挽输出。

图2中变频和中放级与一般超外差式线路相同,为典型的超外差电路。但6B8两小屏检波后输出,为了免去放唱片时插插子和收音时拔插子的麻烦,采用自动开路闭路插口J,设计比较别致。与电转不在一起时,检波后音频电压经插口内部输送至6B8栅帽,进行低放;和电转装在一起时,插入插子,摘下6B8栅帽,另将机外栅帽套在6B8栅极上,于是检波后音频电压从插口J引出机外,经S\(_{5}\)用机外栅帽线再接入6B8栅极。放唱片时把S7闭合,双刀双掷开关S\(_{5}\)、S6扳向1,拾音器输出电压接入6B8栅极,送至后级放大。这时从6B8小屏来的检波后音频电压在S\(_{5}\)处断路,也不会扰乱唱片声音。更换唱片时只要断开S7,使电转停转。因利用6B8栅极更换栅帽接线接入拾音器,所以将音量控制R\(_{11}\)改接在V4A要栅极,以便对唱片音量也可以控制。同时为了提高唱片放音质量,6B8加装了栅偏压电阻R\(_{7}\)和傍路电容器C11,为免去收音时信号电压受到损失,将R\(_{6}\)C10一端直接阴极,不受偏压控制。6B8屏路中接入R\(_{9}\)Cl6作低频去耦合滤波,避免了回输振荡叫声或汽船声。
两只输出管所需栅压相位要完全相反,V\(_{4A}\)推动V5,V\(_{4B}\)作倒相工作。V4B栅压在V\(_{4A}\)的输出电路上抽取,V4B屏压输出正与V\(_{4A}\)屏压相反用以推动V6。
用6SK7作输出时,帘栅不能直接高压,电路中串接有降压电阻R\(_{21}\)和傍路电容器C21,以避免帘栅极烧红保护了电子管。C\(_{22}\)是输出级的高频傍路电容器,可以减低副波失真的影响。C17B\(_{14}\)是音调控制器可以衰减高音显出低音,在推挽线路中接于前级比较容易使控制平衡。输出变压器为推挽式,屏到屏阻抗为10,000欧,次级6欧。因6SK7屏阻很高输出阻抗如匹配不当可能引起失真,同时为了拉平音频响应问题,使高低音频放大比较均匀并减低副波失真,加入负回授电路。因输出变压器次数阻抗较低,回授电压比较稳定,自该处接出回授电压经R22作两级回授送至V\(_{4a}\)阴极 。扬声器励磁圈兼作滤波扼流圈用,直流电阻约2300欧。T4次级高压每边350伏,因6SK7屏流及帘栅流都不多;全部乙电流不大,滤波后降压也不大,乙电仍有240伏左右。

线路按装及校验
本机采用美通555线圈及玻璃中频变压器,全新另件;对于管座排列及布线地位均经仔细考虑,尽量缩短另件的接线,减少损失。装好后底板上另件和电子管排列见图3。右边方隔离罩系空罩,V\(_{3}\)栅极接线自空罩中引出。因双连可变电容器购买困难,用三连代替空着一连。底板下另件排列见图4。
全机装好后,将电路照图1仔细核对无误后。用万用电表R×1000档测试C\(_{23}\)两端直流电阻,证明乙电不短路后接入电源,再用交流电压表测试T4次级低压是否正确,然后将V\(_{1}\)至V6——插入;预热约一分钟(因全是新电子管),再将整流管插入,立时扬声器发出电台播音。
本机首先校验低放部分,收到电台声音时用手捏着改锥金属部分触V4\(_{a}\)栅极,扬声器发出感应声很重,证明低放部分大致良好。但V5V\(_{6}\)输出是否相等则不一定。必频调整V4aV\(_{4b}\)栅压强度相等,使V4输出电压相等。因V\(_{4b}\)倒相后和V4a相位相反,R\(_{19}\)阻值根据6SL7增益倍数也容易算出,但算出的阻值并不一定完全合适。校验方法是将R19暂用一50千欧电位器代替,并把V\(_{6}\)屏极接线烫开,将V6屏极和V\(_{5}\)屏极暂时并联,收到电台播音后旋动电位器到一点,使扬声器里毫无声音,这一点就是准确的分压点。因为V5V\(_{6}\)输入电压的相位反相,屏极输出电压的相位当然也是相反的,如输入电压相等,两管特性相同时输出电压必然也是相等,现屏极并联,如输出的反相电压完至相等就相互抵消扬声器里就毫无声音了。这时用电表测量电位器的阻值,换入同样阻值的电阻,并将屏极接线接回,分压电路即算校好。
校中频变压器时,将收音机收一远地电台,用铜头小改锥先校第二级中频变压器次级的半调整电容器至声音最响,再校初级。初级校好后校第一级,次序也是一样。中频变压器出厂时已由制造单位校准,所以只要向左右微微旋动,即能获得灵敏点。为使指针所指地位与度盘相符并不致漏掉电台起见,将机器推入木箱内;在640千周(中央台)820千周(北京台)1,350千周(北京俄语讲座台)播音时间调整C\(_{5}\),校准度盘指针所指位置和电台频率相符。售品线圈设计准确很容易校准。如1350千周端不准时可在C5一端和底板间接一半调整电容器,调整该电容器即可校准较高频率端。中波校准后短波大致没什么问题了。然后将插子插入插口J,换上6B8机外栅帽,扳动S\(_{5}\)S8放一张唱片,用“黑白线唱片速度校准盘”校准电转旋转速度。全部校准工作即大致完成。
本机特点和效果

本机因采用推挽输出及负回授,消除了副波失真,同时自动抑低了交流声。对于高低音频放大也比较均匀,声音十分动听。各频率相近的电台也分隔清楚,互不干扰。因有了C\(_{17}\)R14可以自由的控制高音突出低音。扬声器纸盆口径较大放送唱片更为悦耳。输出功率在声音开大时较用6V6单只作输出时还响。不接天线在北京收听各省强力人民广播电台大部可以收到,短波段黄昏后可以收到莫斯科、德里、雅加达、日本、伦敦、墨尔本及许多不知名电台。因用电压放大管作输出所以耗电很省。惟R\(_{14}\)旋近上端时声音过于低沉,播放交响乐或轻音乐唱片虽很动听,但讲话报告时显得声音闷塞,可能C17容量较大高音傍路过多之故。(钱寿岩)