电子管整流器的内阻由整流管屏极和阴极之间、电源变压器次级线圈和滤波扼流圈本身的电阻构成。内阻的存在,直接影响到输出电压的稳定,例如在整流器的输出端接一电压表,量得输出电压为300伏(图1甲),但接上负荷(按下K)后,电表指针突然降到180伏,说明有120伏的电压降落在整流器的内阻上(图1乙)。如果此时通过负荷的电流是60毫安,那末整流器内阻
R\(_{0}\)=E1-E\(_{2}\)I0=300-180;0.06=\(\frac{12000}{6}\)=2000欧
可见整流器内阻愈大,输出电压愈不稳定。

另外,假如市电电压发生了变动,也必然要影响输出电压的稳定。因此,不仅要使整流器内阻降低到几欧或1欧以下,而且还要使输入电压的变动不致影响输出电压。最彻底的办法,就是采用电子管稳压器。
怎样控制输出电压不变
假如我们像图2所示,装置一个人工控制的电阻R\(_{S}\)来调整输出电压,当输出电压升高时,就推动杠杆使RS加大,把所升高的电压全部降落在R\(_{S}\);当输出电压降低时,就拉动杠杆使RS减小,以补偿降落的电压。这便是串联式稳压器的基本道理。图3就是这样的一个具有代表性的典型线路。这种线路广泛的采用在实验室、研究室以及检验室等场所。它是值得推荐的一种简单有效而易于自行设计装的线路。


图中用一个调整管6Y6(6L6、6V6均可),把帘栅极和屏极相连当三极管使用,再配上一个用6SJ7作成的直流放大器.接线1把从R7上量得的输出电压的变化送到6SJ7的栅极,这电压和接线2送来的参考电压的差异(误差电压)加到栅极和阴极之间,于是电子管便进行放大。把放大后的电压经接线3去改变调整管的栅偏压,从而达到改变调整管的内阻,达到输出电压稳定不变的目的。
从线路中可见,6SJ7阴极电位为+105伏,当栅极电位由R\(_{7}\),调整到+103伏时,栅阴极间的电位差为103—105=-2伏,即放大器获得-2伏的偏压。如果因输出电压突然增加几伏而使6SJ7栅极电位升高到+104伏,那末栅阴极间的电位差变为104-105=-1伏,对-2伏偏压而言,等于放大器得到一个+1伏的信号电压,于是6SJ7屏流增大。屏流增大后,屏极电阻RS上的电压降也增大,这个电压降愈大,R5上接屏极端的电位比接R3的电位愈低。由于R5两端直接和 6Y6的栅极、阴极相连,因此,R5接屏极端的电位愈低,调整管栅偏压愈负,内阻愈大。这增加的内阻便抵消了所升高的几伏输出电压。同理,如果输出电压突然降低几伏,那末6SJ7栅极上等于得到一个负的信号,于是屏流减少,R5上的电压降也随着减少,接屏极一端的电位就升高一些,使调整管6Y6的栅极等于得到一个正的信号。这样,调整管内阻减小,输出就升高到足以弥补突然降低的几伏电压,使输出电压仍趋稳定。调整电位器R7使6SJ7的栅偏压在一0.5到一3.5伏间变动时,便可均匀地改变输出电压(约从200伏到320伏)。6SJ7的栅偏压不可进入正值,否则无法稳定。
图3中稳压管VR-105是供给6SJ7阴极以参考电压的。R\(_{3}\)和R4是限流电阻(限制通过VR-105的电流)兼作分压器,只供给6SJ7帘栅压。当急速的波动或波纹电压到来时,C\(_{2}\)将捷接R1而将全部波纹电压加到R\(_{2}\)的两端,使稳定度大增。R1和R\(_{2}\)是分压器,用来供给6SJ7栅极以误差电压以及调整6SJ7栅偏压之用。C1可防止稳压器自生振荡,R\(_{6}\)用来限制帘栅流。
设计和计算
电子管的选择 放大管应选高μ管,例如6SJ7。调整管的选择须不使屏极电流超过额定值。常用调整管可按所需负荷电流在下表内选择:
最大负荷电流 70毫安 100毫安 125毫安
可选用的电子管 6Y6 6L6 807 6Y6 6L6 6V6
6V6 1625
管数 1 1 2管并联
①以上各管均作三极管连接,
②电子管跨导愈大愈好。
零件的设计(参考图3)
A.分压电阻的决定:电阻(R\(_{1}\)十R2)以不超过1毫安为准,故
R\(_{1}\)+R2≥\(\frac{E}{I}\)≥300;0.001≥300千欧,

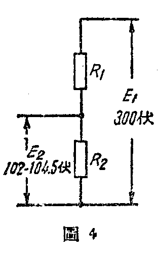
因此,图3中采用350千欧。R\(_{2}\)的选择必须使6SJ7栅极电位在一0.5到一3伏左右,即如图4所示,E2从102伏变到104.5伏。已知R\(_{1}\)+R2=350千欧,故E\(_{2}\)=102伏时,
R\(_{2}\)≤(R1+R\(_{2}\))F2E\(_{1}\)≤350×102;300=119千欧,
E\(_{2}\)=104.5伏时,
R\(_{2}\)≥350×\(\frac{104.5}{300}\)=122千欧,
R\(_{1}\)=350-R2=228到231千欧。
但电阻可能有5%左右的误差,因此R\(_{1}\)用200千欧,R2用100千欧,另加一个50千欧的电阻器R\(_{7}\),以正确分配R1和R\(_{2}\)的比例。
B.限流兼分压电阻的决定:R\(_{3}\)和R4是限制通过VR—105管的电流I,使约等于10毫安左右,故
R\(_{3}\)+R4=\(\frac{E-EVR}{I}\)=300-105;0.01=19.5千欧,
由于R\(_{3}\)和R4还兼作分压器供给6SJ7帘栅极以较阴极高+97.5(90—100伏均可)的电位,故
R\(_{4}\)=\(\frac{97.5}{E-E}\)VR(R\(_{3}\)+R4)≈97.5;300-105×(19.5)≈10千欧;
R\(_{3}\)=19.5-10≈10千欧
C.电容器在图中均为辅助元件,数字照图3使用便可。
重要质量指标的计算由数学分析,图3类型的稳压器,它的内阻及稳定度近似地可由下式推求:
S(稳定度)≈μβκ,
R\(_{0}\)(内阻)
≈\(\frac{R}{_{1}}\)+Riμβκ=R\(_{1}\)+Ri;S
式中μ是调整管放大因数(6Y6,6L6等作三极管连接时μ=5),β是分压比,即β=\(\frac{R}{_{2}}\)R1+R\(_{2}\),Ri是调整管的内阻(屏阻),R\(_{1}\)是电源变压器次级数圈、滤波扼流圈和整流管的合成电阻,K是6SJ7放大器的放大倍数(图3线路K=125而不是625,因阴极有负回授),现以图3为例计算如下:
已知μ=5,R\(_{1}\)=800欧(实测),Ri=750欧,β=13,K=125,求得
S=5×\(\frac{1}{3}\)×125=208,
R\(_{0}\)=\(\frac{800+750}{208}\)=7.45欧。
上式 S=208,说明输入变化20.8伏时,输出只变化0.1伏;R\(_{0}\)=7.45欧,说明负荷电流由零到满负荷(125毫安)时,输出的变动仅0.125×7.45=0.93伏。
对整流器的要求A.整流器所能供给的最大电压应比输出电压大150-180伏。
B.整流器所能供给的电流应大于负荷电流20%。
C.对滤波器的要求不高,只需单节。π式LC型滤波器。
适合于图3线路并符合以上三个条件的整流器线路见图5。调整管的灯丝线圈位于高电位,须注意绝缘,否则易于损坏变压器,更不可和放大管灯丝电源合用一个灯丝线圈,应特别注意。

安排和校验
稳压整流器在排列上没有一定的规定,但最理想的是6SJ7应远离电源变压器。全机装好后,可用高输入阻抗(每伏20000欧)的万能表量6SJ7栅阴极的电压(万能表正端触阴极,负端触栅极),使调整电位器R\(_{7}\)时,栅阴极间电压能从0.1变化到5伏,然后再调整R7使输出为300伏,便可应用。
如须稳定在较低电压,例如200伏,则此时VR-105管中电流过小,参考电压和6SJ7帘栅压易于变动,输出电压就不够稳定。此时,可将图3中的“接线4”串联一个15千欧5瓦线绕电阻后改接到G点,则输出可从200变到300伏,均极稳定。(吴桓基)