倪乃琛问:1.本刊57年10期14页谈到的“低杂音输入放大器”是否可用于一般5灯机听唱片时,如何接法? 2.VR-150不用行不行? 3.不用输入变压器T行不行?不用时,R值要多大?4.用了6AU6后,对收音机电源变压器是否会过荷?
答:1.可以按置这种放大器,效果当然要好,线路原件不必更换,只需将放大器的输出部分用金属隔离线接至6SQ7管的栅极并将原文图1中0.5兆欧电阻(下级栅漏)拆去即可。可以利用原收音机的电源。根据我们的经验,6SQ7直接用普通的电唱头不必再加放大器,输出音量已足够。2.原文图1的线路是为高品质的音频放大器作前级用的。VR-150有两个作用,一个是用来减低前级与其他级间的杂交连并滤去交流哼声;另一个作用是用来降低电源电压以免6AU6的电压太高,在你的情况下可以用降压电阻代替。3.用晶体唱头时R为250千欧—1兆欧,磁铁唱头可低些约50—100千欧,变压器可以不用。 4.6AU6所需电功率很小,不过相当于一只小电珠的消耗,对收音机电源无影响。(珣答)
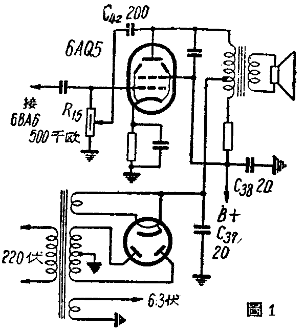
李可问:上海牌收音机产生嗡嗡声,并混有交流产,将音调可变电阻R\(_{15}\)转到高音时,交流声大些;转到低音端时,交流声就小些,何故?
答:可能是C\(_{42}\)漏电所改,因上海牌收音机Л56AQ5的屏压取自滤波电阻的前面(图1),交流成份较大,因此C42有一点漏电时,就会将这个交流成份送到6AQ5栅极,经6AQ5放大,就会影响收音,可以换一只C\(_{42}\)。另外还可检查C37、C\(_{38}\)是否完好。(杨庆宇答)

李军问:一般的中频变压器有几种?如何鉴别?
答:一般常见的中频变压器有以下几种:1.有两个半调整电容器在罩子顶上的,这是最普通的。2.半调整电容器也装在罩子顶上,不过它是上下叠置的、罩子上面露出个六角螺丝帽,螺帽中又有个带刃口的螺丝钉头,旋螺丝钉是调下面的电容器,转动螺丝帽是调上面的电容器,这是比较老式的。3.在罩子的上下端都有一个螺丝头露出,这是调铁粉心的。4.一端调铁粉心,另一端调一个银质螺丝管子的(螺丝管头上有刃口)。接线是上端线圈为栅圈,内端头接栅极,下面的线圈是屏圈,外端头接屏极。输入级用的两个线圈距离比输出级的两个线圈距离较运。(曙江答)
柳和堤问:现提出有关本刊1957年10期25页日本西仓E型携带式胶带录音机的几个问题如下: 1.图上S1-S5选择器上“收音机、电唱机”、“话筒”两档是不是指收音机、电唱机及话筒录音时?2.抹音头一部分线路原理如何?3.录音、放音头原理如何?与钟声牌录音机有何不同?4.该机录音头与国产品有何不同?

答:1.S1-S5系同轴选择器,共分5档,位于该录音机顶部的右前方。“电唱机/收音机”和“话筒”两位置都是录音位置。前一位置可用来录取唱片或收音机节目,后一位置“话筒”是用作说话录音的。这两档的标志都是红色,而且必须先按下该选择器右方的安全钮以后,才能把选择器旋入这两档位置,目的是防止无意中误旋入这两位置,抹音头发生作用,错把原有的录音抹掉。2.抹音头电路是用6SJ7接成三极管哈脱莱振荡器,如图2。为便于说明起见,在原图中加注些数字。当选择器S\(_{3}\)在1、2两位置时,B电从选择器上的接触点经由振荡线圈L1的抽头而送到6SJ7的屏极,产生超声频振荡,其频率由C\(_{1}\)和L1决定。C\(_{2}\)用来隔断直流屏电压,使不能达到栅极上。R1是利用栅极对振荡电流的整流作用来产生栅负电压的。振荡电流因变压器作用从L\(_{1}\)感应到圈数较少的L2,而接到抹音头上,产生消磁作用,抹去胶带上原有的录音。另外,一小部分超声频振荡电流经交连电容器C\(_{3}\)而接到录音头上,供给磁偏电压,使录音头工作在磁化曲线的直线部分,不致产生失真。磁偏电压的大小可调节C3来校正,使录音的失真度最低,噪声最小。1.当选择器不在1、2两录音位置时,C\(_{3}\) 不接在录音头上,而接到地线。同时S3也是空接着,振荡管没有屏电压,故不生振荡。3.在录音时,强放管6V6屏极上之音频输出电压经0.05微法交连电容器及由100-250微微法电容器和250千欧电阻所构成的矫频网络以后,经由S\(_{4}\)上的第1或2接触点而接到录音头上,在录音头前方的空气隙里发生按音频变化的磁化力,而使以均匀速度通过录音头上的胶带逐段按音频变化而成不同强度的磁化。同时前面所讲的超声频振荡电流也经由C3而加到录音头上,使录音不会失真。

放音时,录音头只接在S\(_{1}\)上,已磁化(录音)的胶带以原来录音时的速度通过录音头的空气隙时,在录音头的线圈内产生感应电流,和原录下的音频电流一样,经放大以后就可在喇叭内发出声音来。在本刊1957年第6期资料中刊出的“钟声牌”631型磁带录音机工作原理基本上是相同的,只是振荡管采用6V6(V4)束射管,录音头磁偏电压也同样是从振荡管的屏极经固定电容器C\(_{19}\)(0.0001)而并联供给的,是高阻抗式,因此抹音头用线圈的圈数较多,线径也较细。4.该机录音头的工作原理与普通的一样,可是制作比较精细,空气隙做得极狭,故频率特性较好,能在较低的胶带速度下录音,可节省胶带。此外,这种录音头里铁心的厚度(见图3)比胶带宽度的一半还要薄些,位在下半边。录音头的上半边是非磁性物质,所以在录音时仅在胶带的下半边录音。因此胶带的上半边还可再作一次录音,(把送带盘和受带盘的位置翻转互掉,即可使原来的上半边翻到下半边来,作第二次录音)增加一倍的有效胶带长度,这也是这种录音机的一大优点。这种录音机的抹音头铁心也只有—半的厚度,所以在进行下半边录音时不会把上半边的录音也抹掉。(罗鹏博答)