超外差式收音机的制作
这里,我们介绍一部用干电池另一部用交流市电作电源的超外差式收音机的制作方法。关于另件的选择和装机的一般问题,在1957年第5、6、9、10期的讲座里已经谈过,不再重复。现在只谈谈这些线路的性能和装置时要注意的地方。
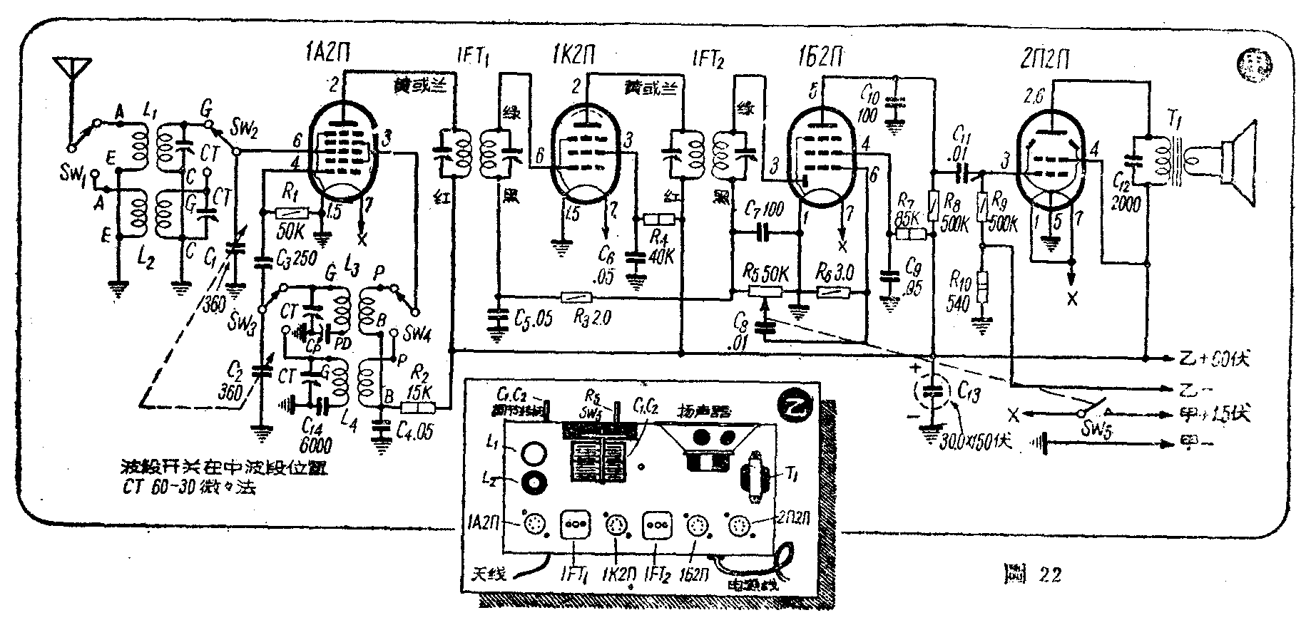
电池或超外差式长短波收音机 线路见图22甲,有两个接收波段,中波段550—1600千周,短波段6—18兆周。这个线路用北京牌电子管1A2Π作变频,1K2Π中放,1B2Π检波兼第一低放,2Π2Π功率放大。线路包括了超外差式的主要部分,所以装置虽然简单,但是却具备了这种线路应有的优点。变频级用回授式振荡,采用售品线圈(如要自绕,见上期讲座),用四刀双掷波段开关管理。为了使收音机的灵敏度好一些,变频级没有加入自动音量控制, 1B2Π是二极五极管,有较大的放大系数,使下一级得到较大的推动力。2Π2Π的灯丝是并联使用,使它和其它几个电子管的灯丝电压相同。如市上售品电阻不能完全适合图中的数值,可选择近似的代用。

国产花生管是新型的省电管,乙电只用60伏,如用市售的乙电供给,用一块半已够,为了节约,最好用40节手电筒用干电池串联供给。各电子管的灯丝电压额定值是1.2伏,但仍允许用1.5伏的甲电供给,不须另加降压电阻,当甲电降低到0. 95伏时仍能工作。甲乙电池的电压都低,电流又小,所以选用国产省电管较之一般电子管要省甲电50%,乙电70%。
装置时应按一般步骤,焊好灯丝回路后,从功率放大级起到第一低放级,检波级,最后是变频级,这部分装过三管机的无线电爱好者是没有多大问题的。只是变频级的波段开关接线比较难办,请参考1957年1期讲座第28页的方法装接。
底盘应该用金属的,图22乙是底盘上主要另件的排列参考图。如果把装收音机底盘的木箱做得大一些,连同甲乙电池都放在里面,使用和携带起来就更为方便。
这个收音机可用口径125或165公厘的恒瓷式扬声器,输出变压器可用3S4的代用。如要自己绕制,可用一般输出变压器里中心宽为16公厘的小型硅钢片,迭厚约16公厘,初级用中规漆包线0.12号绕3500圈,次级用0.6号线绕80圈,就能配合音圈阻抗为3—4欧的扬声器。虽然舌簧扬声器也可用(线圈直流电阻2000欧左右的才有足够音量,使用时不需输出变压器),但音质不好。
这个收音机只要在天线端接一根半公尺长的拖线就可收音,在小室里已有足够的音量,只有接收远地或短波电台时才需要接上天线。中波段沿海各省晚间收听中央人民广播电台是没有问题的,短波段要看时间和地区而定,并且在调谐时要有耐心和熟练,才能很好的收听。
全机装好后,先不插上电子管。依讲座1957年第4期的试验方法,用一个小电珠随便插入某一个电子管座的灯丝插孔里,接上甲乙电,小电珠能发光就不会烧毁,方可将全部电子管插入,以后还要经过下面所说的调整手续,才能正式使用。

交流超外差式长短波收音机(图23) 这是供有交流市电的地方使用的。采用北京牌七极管6A2Π作变频,高频遥截止式五极管6K4Π作中放,高放大系数双三极管6H2Π的一个三极组接成二极检波,另一个三极组作第一低放(用6H1Π也可以,但放大系数较低),束射四极管6Π1Π作功率放大。
这线路也有两个接收波段,接收范围和上一线路相同。振荡线圈采用抽头式,可以自绕(见上期)也可以用售品线圈,用四刀双掷波段开关管理。6A2Π用这种振荡比较稳定,变频级和中放级都有自动音量控制,变频级的自动音量控制电压是用并联接法通过500千欧的电阻加到信号栅上的,这样便不致影响这一级的调谐质量。用6H2Π作检波兼第一低放是为了它在市上比较容易买到,只用它的一个栅极和阴极作二极检波,屏极没用上而和阴极连接起来(当中的屏蔽是接地的)。这样可以使检波电流不致过强,可以减小失真的机会。检波后输出的音频给另一个三极组放大,推动6Π1Π工作。输出变压器的初级线圈上并联有音调调节器,负回授从次级线圈取得,经过一组音调调节网络加到第一低放管的栅极上,这些装置都可以使放音质量大为提高。线路中备有电唱头插口,国产晶体式或高阻动圈式(约3000欧)的电唱头在这里都合用,音量不小。
电源变压器自绕的数据如下:用3号硅钢片迭厚40公厘,初级220伏用中规0.25号漆包线绕1100圈(如电源是110伏,应分成两个线圈,每个绕550圈并联应用),次级高压线圈600伏,用0.1号线绕3000圈,在1500圈中心处抽头。灯丝线圈甲6.3伏,用0.9号线绕32圈,整流管灯丝线圈乙也是6.3伏的电压,用0.56号线绕32圈(如用灯丝电压为5伏的整流管如5у3等,应改用0.8号线绕25圈)。同样是6.3伏灯压而要把整流管灯丝单独绕一个线圈供给,原因是6Ц4Π管阴丝极间耐压为350伏,万一阴、丝极间打穿,会连同把其他电子管的灯丝烧毁。初级和各个次级线圈之间应加一层静电隔离(最简单的是包一层不相卷合的锡箔通地),以避免调变交流声的发生。
线路图中附有用虚线方框标出的调谐指示管的接线图,当电台被调谐到正确的位置时,管里荧光屏上的阴影便缩小靠拢,凭视觉就可看出调谐是否正确。但是它没有改善线路性质的作用。
收音机装好后,灯丝及整流电路的校检手续和一般交流机相同。然后校验回授,这时只用6H2Π、6H1Π,6Ц4Π三只电子管工作,如果回授正常,扬声器不会有叫声,用手指按一下6H2Π的第7脚,会有很大的“咕咕”声;有电唱头的,最好放一张唱片来试一下音量控制器和音调控制器。如果叫哨声很大,无法控制,那是回授电压弄错了,要将输出变压器T\(_{2}\)次级线圈的接头对调一下;另一种情形是音调控制电位器R15在中央的一段正常,旋在两端时有尖哨或闷叫声,这是回授过深的原故,要将R\(_{17}\)减小一些,适当的阻值由试验决定。
最后也要和上面所说的干电机—样,要经过下面的调整手续,将各个调谐回路校准才能正式使用。
超外差式收音机的调整
超件差式收音机里的调谐回路比较多,装好后如不经过精细调准,是不能发挥它的效率的。上面两种线路的调整方法,基本上是一样的。
考虑到无线电爱好者们很少具备需要的仪器,所以这里仅介绍一些最简单的方法,将收音机调谐到合于一般应用。
新装的超外差式收音机,灵敏度和选择性并不很好,但接上天线后,多少总能收到本地电台。校验时最好先在中波段550—900千周内寻找一个电台,调好后不要再动。
第二步调整中频变压器的半调整电容器,把图22的R\(_{5}\)图23的R13旋到音量最小,用旋盘伸入中频变压器铝罩顶部的圆孔内,以细微的动作左右微微旋动半调整电容器的调谐螺丝,到播音声变大为度。用普通胶柄旋盘调谐时,有时会引起人体感应,最好用一种透明柄的,金属杆只有半段嵌入柄内的那一种。调整的次序是先调第二个中频变压器IFT\(_{2}\)的次级,其次是它的初级;然后是第一个(IFT1)的次级,最后是它的初级,不要颠倒。每个半调整电容器调好后,如音量增大很多,就必须将R\(_{5}\)或R13旋小,再进行下一个的调整,使耳朵易于辨别调谐的结果。有调谐指示管的,只要将它的影子调到合拢就正确。
新的中频变压器只要稍微调整就可以,切不可在装置前后将这些半调整电容器的螺丝随便旋动,否则将使它们严重失调,没有相当的经验和仪器就很难使它复原,会影响收音机工作。初次试装的爱好者们最好采用新的中频变压器,一定要使用旧品时,也应确知它没有失调才可应用,否则虽然接线全部无误,也可能收不到电台,或者引起很多叫哨以及整个度盘都被一个电台占满无法分开等毛病。
中频变压器在广播段调好以后,在短波段不必再作调整。
下一步是调整变频级,使本地振荡能很好的跟踪外来信号。首先将电台的位置大致固定在度盘应有的频率位置上,如用本文所介绍的线圈配合上海制品360微微法的双连电容器(例如复旦牌的),在中波段时各个主要频率和电容器的近似角度如下表:
频率(千周)550 600 700 800 900 1000 1100 1200 1300 1400 1500 1600
可变电容器 172°145°115°85° 67° 50° 42° 32° 25° 18° 10° 5°
动片角度

表中以动片完全旋入时作180°计算,可以剪一块比电容器动片略大的半圆形硬纸片,在上面绘一个180°的圆弧,照上表分出各主要频率的角度(纸片面对我们的右边是180°,左边是0°),标出频率的数值,最好每格里再分出一些小格,如图24的样子贴在拉线度盘上,旁边竖一根用细铜丝弯成的临时指针,调谐时临时指针和度盘相合的刻度就是对外来信号的谐振频率。
调整变频级时,垫整电容器C\(_{p}\)旋成八成紧的状态(双连电容器上原附有半调整电容器的,应将它们拆去),在550—900千周附近找一个电台,度盘上的刻度应和它的频率相近(自绕线圈不大准,信号最响的位置接近于度盘的刻度就认为相当),调整Cp到播音声最响,这一段频率受C\(_{p}\)的影响最大,变动Cp可以使电台的位置有较大的变动。然后又在1100—1600千周一段找—个电台,同样旋在度盘上频率相近的一点最响的地方,调整和振荡线圈并联的C\(_{T}\)使播音声最大,这一段频率受CT的影响也最大。调好后再收听550—900千周间的第一个电台,重复在C\(_{p}\)上调整,然后又反过来收1100—1600千周间的那个电台,重调CT。这样反复调整,至相互变动的情况减到最小为止。
调整时,如果电台播音声最响的位置和度盘上相应的频率刻度相差很远,多半是振荡线圈绕得不准或C\(_{p}\)容量不正确(当然信号调谐线圈和可变电容器不相配合也是一个原因),可以调整Cp,使收听电台的位置向度盘频率刻度处靠拢,C\(_{p}\)旋紧时,电台位置向频率高的一端移动,旋松时,向低的一端移动。有时差频和中频变压器的频带相差过巨,也有这种情况,就得依调整中频的次序将各个中频变压器的频率调高或调低一些。中频变压器上的半调整电容器旋紧时频率降低,旋松时升高。如果这些方法都不能使电台在度盘上的位置和频率刻度相符,那么只有检查调谐线圈的圈数或者重绕。
在中波段调整好后,短波段一般是不再需要调整的。但有时短波段在可变电容器旋进一段后不起振荡,可试将帘栅电阻的阻值稍为降低或将瓦数加大,使帘栅电压升高。其次将短波段的垫整电容器(图C\(_{14}\)、图23C20)更换质量较好的(如本来用纸质的,改用云母的),或将它短路,毛病就可除去。这些方法无效,那是变频管衰老了,要换新的。
变频级经过这样校准后,中频变压器仍应依第一次的调整方法重行调整一下。
和各个调谐线圈并联的其它半调整电容器,在上述各种校验时未旋动过的,最后也可在播音声中微调一次,以取得最好的谐振。
经过这些调整以后,一般仅用1公尺左右的天线拖线能够响亮地收到本地电台,那么这架收音机的灵敏度已经差不多了。(冯报本)