国产504型收音机的第二只中频变压器(Y\(_{2}\))经常出故障。

504型收音机的C\(_{2}\)0、C21与C\(_{19}\)叠在一起,C20或C\(_{21}\)常会发生短路故障,因而使收音机的效率显著降低。或者造成收音机的断音。
如果当收音机有断音或效率显著降低时,可用欧姆表高阻档测6SQ7第4脚与地间之电阻(图1)。正常情况下阻值为547千欧(R\(_{4}\)+R6),如有故障时就会低于547千欧。

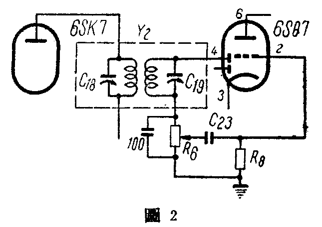
发现这种故障之后,最简单的处理办法,是将其第二只中频变压器(Y\(_{2}\))拆下,将C20、C\(_{21}\)开路,将R4短路,并在R\(_{6}\)两端跨接一个100微微法电容器如图2。接好后要重校一下Y2。(张振藩)